TOP
|
特許
|
意匠
|
商標
特許ウォッチ
Twitter
他の特許を見る
公開番号
2025163484
公報種別
公開特許公報(A)
公開日
2025-10-29
出願番号
2024066783
出願日
2024-04-17
発明の名称
状態判定装置および状態判定プログラム
出願人
中部電力ミライズ株式会社
,
中部電力株式会社
代理人
名古屋国際弁理士法人
主分類
G06N
20/00 20190101AFI20251022BHJP(計算;計数)
要約
【課題】状態を判定する機械学習モデルの状態判定精度を向上させる。
【解決手段】状態判定装置は、状態パラメータ値に対応したパラメータ色を示すパラメータ色データを生成する。状態判定装置は、対象機器における複数のパラメータ色データのそれぞれについてパラメータ色データが示すパラメータ色が設定された複数のピクセルを生成し、複数のピクセルを、機器状態パラメータを取得した時刻に基づいて時系列に配列した時系列色画像を生成する。状態判定装置は、複数の機器状態の何れかを示すラベルが付加された複数の時系列色画像を入力する機械学習が行われた機械学習モデルを用いて、対象機器について、時系列色画像生成部が生成した時系列色画像に対応する機器状態を判定する。
【選択図】図1
特許請求の範囲
【請求項1】
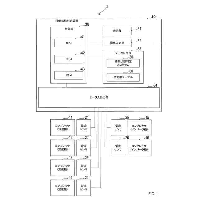
判定対象となる機器を対象機器とし、前記対象機器の状態を機器状態として、前記機器状態に応じて値が変動する機器状態パラメータを連続して取得するように構成されたパラメータ取得部と、
前記機器状態パラメータの値である状態パラメータ値と、前記状態パラメータ値に応じて予め設定された色との対応関係が設定された色変換テーブルに基づいて、前記状態パラメータ値に対応した色であるパラメータ色を示すパラメータ色データを生成するように構成された色変換部と、
前記対象機器における複数の前記パラメータ色データのそれぞれについて前記パラメータ色データが示す前記パラメータ色が設定された複数のピクセルを生成し、複数の前記ピクセルを、前記機器状態パラメータを取得した時刻に基づいて時系列に配列した時系列色画像を生成するように構成された時系列色画像生成部と、
複数の前記機器状態の何れかを示すラベルが付加された複数の前記時系列色画像を入力する機械学習が行われた機械学習モデルを用いて、前記対象機器について、前記時系列色画像生成部が生成した前記時系列色画像に対応する前記機器状態を判定するように構成された状態判定部と
を備える状態判定装置。
続きを表示(約 1,500 文字)
【請求項2】
請求項1に記載の状態判定装置であって、
前記パラメータ色は、グレースケール以外の色である状態判定装置。
【請求項3】
請求項1または請求項2に記載の状態判定装置であって、
前記色変換部は、
前記状態パラメータ値が、予め設定された上限値以上であるときには、前記上限値未満であるときの前記パラメータ色とは異なるように予め設定された色である上限指示色を前記パラメータ色として設定すること、および、
前記状態パラメータ値が、予め設定された下限値以下であるときには、前記下限値より大きいときの前記パラメータ色とは異なるように予め設定された色である下限指示色を前記パラメータ色として設定することの少なくとも一方を実行するように構成される状態判定装置。
【請求項4】
請求項1または請求項2に記載の状態判定装置であって、更に、
前記状態判定部による判定結果に基づいて、前記状態判定部が判定した前記機器状態を示す色として予め設定された機器状態色を有する稼働状態枠が、前記判定結果に対応する前記時系列色画像を囲むように形成された枠付加色画像を生成するように構成された枠付加色画像生成部を備える状態判定装置。
【請求項5】
請求項1または請求項2に記載の状態判定装置であって、
前記状態判定部は、更に、
判定した前記機器状態が、予め設定された継続判定時間以上維持されているか否かを判断するように構成される状態判定装置。
【請求項6】
請求項1または請求項2に記載の状態判定装置であって、
前記状態判定部は、複数の前記対象機器について前記機器状態を判定するように構成され、
前記状態判定部が判定した複数の前記機器状態のそれぞれについて、前記状態判定部の判定結果を表すために1または複数の記号を用いて予め設定された状態指示記号を設定し、複数の前記対象機器毎に設定した複数の前記状態指示記号を、予め設定された配列条件に従って配列した状態記号配列を生成するように構成された記号配列生成部を更に備える状態判定装置。
【請求項7】
請求項5に記載の状態判定装置であって、
前記状態判定部は、複数の前記対象機器について前記機器状態を判定するように構成され、
前記状態判定部が判定した複数の前記機器状態のそれぞれについて、前記状態判定部の判定結果を表すために1または複数の記号を用いて予め設定された状態指示記号を設定し、複数の前記対象機器毎に設定した複数の前記状態指示記号を、予め設定された配列条件に従って配列した状態記号配列を生成するように構成された記号配列生成部を更に備える状態判定装置。
【請求項8】
請求項6に記載の状態判定装置であって、
前記記号配列生成部は、対応する前記機器状態を示す文字列の頭文字を前記状態指示記号とするように構成される状態判定装置。
【請求項9】
請求項6に記載の状態判定装置であって、
前記記号配列生成部は、前記状態判定部が判定した前記機器状態が維持される継続時間に応じて、前記状態指示記号を変化させるように構成される状態判定装置。
【請求項10】
請求項7に記載の状態判定装置であって、
前記記号配列生成部は、前記状態判定部が判定した前記機器状態が維持される継続時間に応じて、前記状態指示記号を変化させるように構成される状態判定装置。
(【請求項11】以降は省略されています)
発明の詳細な説明
【技術分野】
【0001】
本開示は、機器の状態を判定する状態判定装置および状態判定プログラムに関する。
続きを表示(約 1,700 文字)
【背景技術】
【0002】
特許文献1には、検出情報を所定の時間間隔毎にフレームで区切り、時間軸と、検出情報の大きさを示す軸とを用いて、検出情報の分布を表す二次元画像データに基づく機械学習を実行することにより正解ラベルを生成する状態監視装置が記載されている。
【先行技術文献】
【特許文献】
【0003】
特開2018-204940号公報
【発明の概要】
【発明が解決しようとする課題】
【0004】
特許文献1に記載の技術では、検出情報の大きさを縦軸とし時間経過を横軸とした二次元グラフを用いて機械学習を行っているため、状態監視装置を検査する検査者は、状態監視装置の機械学習モデルが生成したラベルが適切であるか否かを、入力に用いた二次元グラフに基づいて判断する必要がある。二次元グラフは、各時刻に対応する値を点で表し、互いに隣接する点を線で結んで表されるため、検査者は、正解となる状態を決定し難い場合がある。このため、状態監視装置に搭載される機械学習モデルを作成する作業を行う作業者が、機械学習において適切な正解ラベルを設定することができなかったり、状態監視装置の機械学習モデルを検査する検査者が、機械学習モデルが生成したラベルの良否について適切に判定できなかったりすることがある。これにより、機械学習モデルによる状態判定精度が低下することが懸念される。
【0005】
本開示は、状態を判定する機械学習モデルの状態判定精度を向上させることを目的とする。
【課題を解決するための手段】
【0006】
本開示の一態様は、パラメータ取得部と、色変換部と、時系列色画像生成部と、状態判定部とを備える状態判定装置である。
パラメータ取得部は、判定対象となる機器を対象機器とし、対象機器の状態を機器状態として、機器状態に応じて値が変動する機器状態パラメータを連続して取得するように構成される。
【0007】
色変換部は、機器状態パラメータの値である状態パラメータ値と、状態パラメータ値に応じて予め設定された色との対応関係が設定された色変換テーブルに基づいて、状態パラメータ値に対応した色であるパラメータ色を示すパラメータ色データを生成するように構成される。
【0008】
時系列色画像生成部は、対象機器における複数のパラメータ色データのそれぞれについてパラメータ色データが示すパラメータ色が設定された複数のピクセルを生成し、複数のピクセルを、機器状態パラメータを取得した時刻に基づいて時系列に配列した時系列色画像を生成するように構成される。
【0009】
状態判定部は、複数の機器状態の何れかを示すラベルが付加された複数の時系列色画像を入力する機械学習が行われた機械学習モデルを用いて、対象機器について、時系列色画像生成部が生成した時系列色画像に対応する機器状態を判定するように構成される。
【0010】
このように構成された本開示の状態判定装置は、対象機器の状態パラメータ値に対応するパラメータ色が設定された複数のピクセルを時系列に配列した時系列色画像を入力する機械学習が行われた機械学習モデルを用いて、機器状態を判定することができる。これにより、状態監視装置に搭載される機械学習モデルを作成する作業を行う作業者(以下、モデル学習作業者)、および、状態監視装置の機械学習モデルを検査する検査者(以下、モデル検査者)は、時系列色画像を構成する色の変化に基づいて、対象機器の機器状態を判定することができる。このため、モデル学習作業者が、時系列色画像に対して適切な正解ラベルを設定することができなかったり、モデル検査者が、状態判定装置が判定した機器状態の良否について適切に判定できなかったりする事態の発生を抑制することができる。これにより、本開示の状態判定装置は、状態判定装置に搭載される機械学習モデルの状態判定精度を向上させることができる。
(【0011】以降は省略されています)
この特許をJ-PlatPat(特許庁公式サイト)で参照する
関連特許
個人
詐欺保険
20日前
個人
縁伊達ポイン
20日前
個人
RFタグシート
7日前
個人
地球保全システム
1か月前
個人
ペルソナ認証方式
4日前
個人
QRコードの彩色
24日前
個人
自動調理装置
6日前
個人
為替ポイント伊達夢貯
2か月前
個人
冷凍食品輸出支援構造
2か月前
個人
農作物用途分配システム
19日前
個人
残土処理システム
26日前
個人
表変換編集支援システム
1か月前
個人
知的財産出願支援システム
27日前
個人
知財出願支援AIシステム
2か月前
個人
タッチパネル操作指代替具
13日前
個人
インターネットの利用構造
3日前
個人
パスワード管理支援システム
1か月前
個人
携帯端末障害問合せシステム
12日前
個人
AIによる情報の売買の仲介
2か月前
個人
スケジュール調整プログラム
12日前
個人
行動時間管理システム
1か月前
株式会社キーエンス
受発注システム
1か月前
個人
海外支援型農作物活用システム
1か月前
株式会社キーエンス
受発注システム
1か月前
株式会社キーエンス
受発注システム
1か月前
個人
エリアガイドナビAIシステム
4日前
個人
AIキャラクター制御システム
1か月前
個人
食品レシピ生成システム
1か月前
個人
システム及びプログラム
1か月前
株式会社アジラ
進入判定装置
2か月前
個人
パスポートレス入出国システム
2か月前
日本精機株式会社
施工管理システム
2か月前
個人
音声対話型帳票生成支援システム
1か月前
大同特殊鋼株式会社
疵判定方法
1か月前
エッグス株式会社
情報処理装置
13日前
トヨタ自動車株式会社
通知装置
10日前
続きを見る
他の特許を見る