TOP
|
特許
|
意匠
|
商標
特許ウォッチ
Twitter
他の特許を見る
10個以上の画像は省略されています。
公開番号
2025167041
公報種別
公開特許公報(A)
公開日
2025-11-07
出願番号
2024071322
出願日
2024-04-25
発明の名称
プロペラ
出願人
株式会社エクセディ
代理人
弁理士法人新樹グローバル・アイピー
主分類
B64C
11/08 20060101AFI20251030BHJP(航空機;飛行;宇宙工学)
要約
【課題】意図せずにブレードが折り畳まれてしまうことを防止する。
【解決手段】プロペラは、ハブ、ブレード、第1係合部、及び第2係合部を備えている。ブレードは、ハブに対して径方向移動可能に取り付けられる。ブレードは、ハブに対して旋回可能に取り付けられる。第1係合部は、ハブに形成される。第2係合部は、ブレードに形成される。第2係合部は、ブレードが径方向外側に移動することによって第1係合部と係合してハブに対するブレードの旋回を規制するように構成される。第2係合部は、ブレードが径方向内側に移動することによって第1係合部との係合が解除されるように構成される。
【選択図】図3
特許請求の範囲
【請求項1】
ハブと、
前記ハブに対して径方向移動可能且つ旋回可能に取り付けられるブレードと、
前記ハブに形成される第1係合部と、
前記ブレードに形成され、前記ブレードが径方向外側に移動することによって前記第1係合部と係合して前記ハブに対する前記ブレードの旋回を規制し、前記ブレードが径方向内側に移動することによって前記第1係合部との係合が解除されるように構成される第2係合部と、
を備える、プロペラ。
続きを表示(約 670 文字)
【請求項2】
前記ハブは、前記ブレードに対して上側に配置される上ハブ部を有する、
請求項1に記載のプロペラ。
【請求項3】
前記第1係合部は、前記上ハブ部に形成される、
請求項2に記載のプロペラ。
【請求項4】
前記ハブは、前記ブレードに対して下側に配置される下ハブ部を有する、
請求項2に記載のプロペラ。
【請求項5】
前記第1係合部は、前記ハブに形成された凹部及び凸部の一方であり、
前記第2係合部は、前記ブレードに形成された凹部及び凸部の他方である、
請求項1に記載のプロペラ。
【請求項6】
前記凹部は、対向する一対の内壁面を有し、
前記一対の内壁面は、前記凸部に向かって徐々に離れるように傾斜する、
請求項5に記載のプロペラ。
【請求項7】
前記ハブ及び前記ブレードの一方から軸方向に延びる旋回シャフトをさらに備え、
前記ハブ及び前記ブレードの他方は、径方向に延びて前記旋回シャフトを径方向移動可能にガイドする長孔を有する、
請求項1に記載のプロペラ。
【請求項8】
前記旋回シャフトは、前記ハブから軸方向に延び、
前記ブレードは、前記長孔を有する、
請求項7に記載のプロペラ。
【請求項9】
請求項1から8のいずれかに記載のプロペラと、
前記プロペラを回転させるように構成される原動機と、
を備える、回転翼機。
発明の詳細な説明
【技術分野】
【0001】
本発明は、プロペラに関するものである。
続きを表示(約 1,200 文字)
【背景技術】
【0002】
ドローンなどに用いられるプロペラは、ハブ及びブレードを有している(例えば特許文献1)。ブレードは、ボルトなどによってハブに締結されている。ブレードは、プロペラが回転していないときは折り畳まれており、プロペラが回転しだすと、遠心力によってブレードが開くように構成されている。すなわち、ブレードをハブに対して旋回できるような締結力によってボルトはブレードをハブに締結している。
【先行技術文献】
【特許文献】
【0003】
特開2023-184048号公報
【発明の概要】
【発明が解決しようとする課題】
【0004】
上述したようなプロペラにおいて、プロペラの回転中の加速又は減速などによってブレードが折り畳まれてしまったりする恐れがある。なお、意図せずにブレードが折り畳まれることによって、応答遅れが発生し、制御性や電費が悪化するという問題が生じる。
【0005】
本発明の課題は、意図せずにブレードが折り畳まれてしまうことを防止することにある。
【課題を解決するための手段】
【0006】
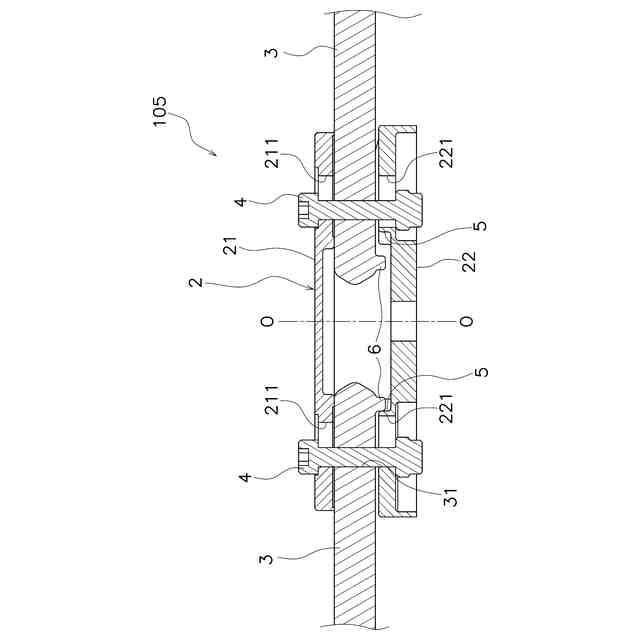
第1態様に係るプロペラは、ハブ、ブレード、第1係合部、及び第2係合部を備えている。ブレードは、ハブに対して径方向移動可能に取り付けられる。ブレードは、ハブに対して旋回可能に取り付けられる。第1係合部は、ハブに形成される。第2係合部は、ブレードに形成される。第2係合部は、ブレードが径方向外側に移動することによって第1係合部と係合してハブに対するブレードの旋回を規制するように構成される。第2係合部は、ブレードが径方向内側に移動することによって第1係合部との係合が解除されるように構成される。
【0007】
この構成によれば、プロペラが回転するとブレードは遠心力によって径方向外側に移動するため、第1係合部と第2係合部とが係合する。この結果、ブレードは、ハブに対する旋回が規制されるため、ブレードが意図せずに折り畳まれることを防止することができる。なお、停止時にブレードを径方向内側に移動させることによって第1係合部と第2係合部との係合が解除されるため、ブレードを折り畳むことができる。
【0008】
第2態様に係るプロペラは、第1態様に係るプロペラにおいて、次のように構成される。ハブは、上ハブ部と下ハブ部とを有する。上ハブ部は、ブレードに対して上側に配置される。下ハブ部は、ブレードに対して下側に配置される。
【0009】
第3態様に係るプロペラは、第2態様に係るプロペラにおいて、次のように構成される。第1係合部は、上ハブ部に形成される。
【0010】
第4態様に係るプロペラは、第2又は第3態様に係るプロペラにおいて、次のように構成される。ハブは、ブレードに対して下側に配置される下ハブ部を有する。
(【0011】以降は省略されています)
この特許をJ-PlatPat(特許庁公式サイト)で参照する
関連特許
株式会社エクセディ
プロペラ
7日前
個人
ドローン
8か月前
個人
人工台風
3か月前
個人
着火ドローン
5か月前
個人
救難消防飛行艇
5か月前
個人
AERO JET
24日前
個人
ドローンシステム
9か月前
東レ株式会社
中空回転翼
4か月前
個人
無人空中移動体
1か月前
個人
飛行自動車vol.2
2日前
個人
動力原付きグライダー
1か月前
個人
連続回転可能な飛行機翼
6か月前
個人
導風板付き垂直離着陸機
3か月前
個人
陸海空用の乗り物
6か月前
東レ株式会社
プロペラブレード
4か月前
個人
空飛ぶクルマ
4か月前
東レ株式会社
飛翔体用ブレード
1か月前
東レ株式会社
プロペラブレード
4か月前
東レ株式会社
プロペラブレード
4か月前
個人
垂直離着陸機用エンジン改
9か月前
個人
空中移動システム
11か月前
個人
ドローンを自動離着陸する方法
9か月前
トヨタ自動車株式会社
ドローン
7か月前
個人
エアライナー全自動パラシュート
8か月前
個人
搬送方法および搬送システム
5か月前
個人
ヘリコプター駆動装置
5か月前
株式会社小糸製作所
飛行体ポート
6か月前
株式会社ACSL
システム
8か月前
合同会社アドエア
パラシュート射出装置
8か月前
合同会社アドエア
飛行体の落下補助装置
10か月前
株式会社ACSL
システム
8か月前
個人
飛行体
4か月前
個人
垂直離着陸機用ガスタービンエンジン
9か月前
個人
飛行体
1か月前
株式会社SUBARU
移動体
11か月前
個人
飛行体
4か月前
続きを見る
他の特許を見る