TOP
|
特許
|
意匠
|
商標
特許ウォッチ
Twitter
他の特許を見る
公開番号
2025166623
公報種別
公開特許公報(A)
公開日
2025-11-06
出願番号
2024070786
出願日
2024-04-24
発明の名称
排水溝
出願人
中里産業株式会社
,
有限会社インパクト
代理人
個人
,
個人
主分類
E03F
5/04 20060101AFI20251029BHJP(上水;下水)
要約
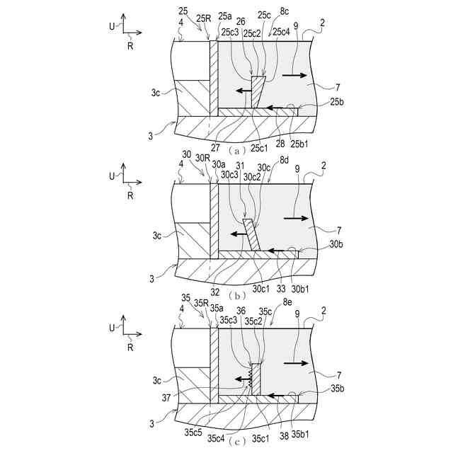
【課題】雨水などが通過し流入可能なグレーチングのような通水蓋を支持する枠体の側壁と、側壁の外周面を取り囲む舗装層との間に隙間が発生するのを、簡単な構造だけで、手間暇をかけた事前準備も行うことなく、たとえ舗装層が厚い場合でも、長期間確実に防止することにより、雑草がこの隙間に発生して成長していくのを抑制可能な雑草抑制構造を備えた排水溝を提供することを目的とする。
【解決手段】グレーチング支持枠5は、基端5c1上方に延設され先端5c2が路面2下の舗装層7に突入し、舗装層7の熱収縮力9の方向に対向する内側面5c3で舗装層7を押し戻す反力11により、舗装層7の熱収縮移動を抑制する1または2以上のくさび部5cと、側壁部5aから直角方向に連設され先端が舗装層7に突入し、くさび部5cの基端5c1よりも外側の外側上面5b5と舗装層7間の摩擦力10により、舗装層7の熱収縮移動を抑制する張り出し部5bとを有する。
【選択図】図3
特許請求の範囲
【請求項1】
路面下に埋設されると共に、排水路に連通する通水蓋を側壁部の内部に支持する枠体を備えた排水溝において、
前記枠体には、
基端から上方に延設されて先端が前記路面下の舗装層内に突入し、該舗装層の移動方向に対向する側面で舗装層を押し戻す反力により、前記舗装層の熱収縮移動を抑制する1または2以上のくさび部と、
前記側壁部から直角方向に連設されて先端が前記舗装層内に突入し、前記くさび部の基端よりも外側の表面と前記舗装層との間の摩擦力により、該舗装層の熱収縮移動を抑制する張り出し部とを有する
ことを特徴とする排水溝。
続きを表示(約 370 文字)
【請求項2】
前記くさび部の基端は、前記側壁部または張り出し部の少なくとも一方に接続する
ことを特徴とする請求項1に記載の排水溝。
【請求項3】
前記くさび部は、前記基端側から先端側に向かうにつれ、断面積が増加する抜け止め構造を有する
ことを特徴とする請求項1または請求項2に記載の排水溝。
【請求項4】
前記くさび部は、前記基端側から先端側に向かうにつれ、前記側壁部に面する側面が側壁部の方に傾斜する掛止構造を有する
ことを特徴とする請求項1または請求項2に記載の排水溝。
【請求項5】
前記くさび部は、前記側壁部に面する側面の少なくとも一部に、前記舗装層と摩擦係合可能な係合部分を含む係合構造を有する
ことを特徴とする請求項1または請求項2に記載の排水溝。
発明の詳細な説明
【技術分野】
【0001】
本発明は、路面下に埋設されると共に、排水路に連通する通水蓋を側壁部の内部に支持する枠体を備えた排水溝に関する。
詳しくは、雨水などが通過し流入可能なグレーチングのような通水蓋を支持する枠体の側壁と、この側壁の外周面を取り囲む舗装層との間に隙間が発生するのを、簡単な構造だけで、手間暇をかけた事前準備も行うことなく、たとえ舗装層が厚い場合でも、長期間確実に防止することにより、雑草がこの隙間に発生し、そこから成長していくのを抑制可能な雑草抑制構造に関する。
続きを表示(約 1,800 文字)
【背景技術】
【0002】
従来より、アスファルトなどで舗装した道路脇に設置された側溝ブロックに、このブロックの側面に固定される当接部と、当接部から直角方向に連設される垂立部と、垂立部の端から上方に突出される突起部とを有するブロック用防草部材を後付け可能とし、このうちの突起部を、アスファルトなどで構成される舗装層の裏面に食い込ませることにより、車走行の振動などによる舗装層の移動で道路とブロックとの間がズレるのを防ぎ、このズレで発生する隙間をなくして、雑草の発生・成長を防止する技術が公知となっている(例えば、特許文献1参照)。
【0003】
更に、ブロック側面と表層舗装部(舗装層)との間に、圧縮状態の弾性体を介在させることにより、気温変化などに伴う表層舗装部の熱収縮を弾性体の弾性変形によって吸収し、表層舗装部とブロックとの間の隙間をなくして、雑草の発生・成長を防止する技術が公知となっている(例えば、特許文献2参照)。
【0004】
加えて、グレーチングを支持する枠体の側壁部に沿って傾斜部を設けることにより、雑草の葉や茎などの成長と、根の成長を、本来の成長方向とは逆方向に誘導して、雑草の成長を防止する技術が公知となっている(例えば、特許文献3参照)。
【先行技術文献】
【特許文献】
【0005】
特開2016-216916号公報
特開2005-171605号公報
特開2015-81457号公報
【発明の概要】
【発明が解決しようとする課題】
【0006】
しかしながら、枠体が、その上部でグレーチングのような通水蓋を支持し、その下部に、通水蓋を通過し流入する水を排水路まで導く樋状の空間(以下、「樋空間」とする)を形成するような場合は、枠体の高さが高くなって埋設深さも深くなり、枠体を取り囲む舗装層の厚さが厚くなる。これに対し、特許文献1に記載された雑草抑制構造では、突起部を上方に長く伸ばして舗装層の奥まで食い込ませるようにして、移動する舗装層を押し戻す反力を増加させることもできるが、厚くなり質量が増加した舗装層に対しては必ずしも充分ではない。このため、舗装層が厚い場合に、長期間使用中に大きな気温変化などで熱収縮量が増加すると、突起部による反力だけでは、舗装層移動に対する抵抗力としては不充分となり、舗装層が大きく移動して隙間が発生・拡大する可能性がある、という問題があった。
【0007】
なお、突起部の個数を増やして前述の反力を増加させることも考えられるが、複数の突起部を、側溝ブロックとは別体となる小さな部品(防草部材)に形成しなければならない。このため、複雑な構造を小さな部品に集約することが必要となり、部品コストの上昇による排水溝の製造コストの上昇や、構造の複雑化による剛性の低下を招く、という問題があった。
【0008】
更に、特許文献2に記載された雑草抑制構造では、一見したところ、隙間が発生するであろう界面に圧縮状態の弾性体を介装するだけの簡単な構成ではあるが、実際は、予想される最大隙間の大きさ、舗装層の熱収縮特性などによって、隙間の発生状況が大きく変化する。このため、これらを正確に把握した上で、弾性体を取り付ける取り付け部の位置・形状や、弾性体自体の種類・圧縮程度などを適正化する必要があり、確実に舗装層移動を防止するには事前準備に手間暇をかける必要がある、という問題があった。
【0009】
加えて、特許文献3に記載された雑草抑制構造では、1枚の金属製の板を所定の傾斜角まで精度良く折り曲げる曲げ加工と、折り曲げ位置に透水孔などを開口する穿孔加工を行うようにして、傾斜部を形成するようにしている。このため、複雑な構造の部品が欠かせず、部品コストの上昇による排水溝の製造コストの上昇や、構造の複雑化による剛性の低下を招くという問題があった。
【0010】
なお、隙間自体は解消できておらず、そこで発芽した雑草の成長が、前述した傾斜部によって阻害されるにすぎない。このため、雑草が成長不良となって繁殖が抑えられるまでの長期間、発生した隙間には雑草が若干残ったままの状態にあり、雑草の発生・成長の全てが確実に抑制できたとはいえない、という問題があった。
(【0011】以降は省略されています)
この特許をJ-PlatPat(特許庁公式サイト)で参照する
関連特許
中里産業株式会社
排水溝
1か月前
丸一株式会社
排水配管部材
23日前
個人
ドクター中まミズつクル
2か月前
TOTO株式会社
トイレ装置
2か月前
株式会社田中設備
蓋体
1か月前
一文機工株式会社
トイレ装置
28日前
TOTO株式会社
排水システム
2か月前
TOTO株式会社
排水システム
2か月前
ミサワホーム株式会社
外構
2か月前
株式会社KVK
水栓
1か月前
ホーコス株式会社
床置型グリース阻集器
3か月前
管清工業株式会社
管路内調査装置
7日前
管清工業株式会社
管路内調査装置
7日前
クリナップ株式会社
キッチン
2か月前
株式会社Deto
吐水器
1か月前
共立製薬株式会社
小便器用排水システム
22日前
株式会社LIXIL
便器装置
2か月前
飛島建設株式会社
仮設壁の構築方法
2か月前
株式会社ファイン工業
透水性蓋の製造方法
7日前
株式会社タカギ
水栓
2か月前
株式会社タカギ
水栓
2か月前
新明和工業株式会社
吸引車
2か月前
株式会社タカギ
吐水装置
2か月前
TOTO株式会社
トイレシステム及びトイレ装置
2か月前
廈門迪芬奇厨衛有限公司
適応切替式スマートトイレ
2か月前
因幡電機産業株式会社
排水トラップ
2か月前
積水化学工業株式会社
配管構造
2か月前
積水化学工業株式会社
集合継手
1か月前
株式会社LIXIL
洗浄水タンク装置
2か月前
中里産業株式会社
排水溝
1か月前
TOTO株式会社
水栓装置
2か月前
TOTO株式会社
水栓装置
2か月前
TOTO株式会社
水栓装置
2か月前
TOTO株式会社
水栓装置
2か月前
TOTO株式会社
水栓装置
2か月前
TOTO株式会社
水栓装置
1日前
続きを見る
他の特許を見る