TOP
|
特許
|
意匠
|
商標
特許ウォッチ
Twitter
他の特許を見る
10個以上の画像は省略されています。
公開番号
2025137331
公報種別
公開特許公報(A)
公開日
2025-09-19
出願番号
2024099597
出願日
2024-06-20
発明の名称
適応切替式スマートトイレ
出願人
廈門迪芬奇厨衛有限公司
代理人
個人
主分類
E03D
11/02 20060101AFI20250911BHJP(上水;下水)
要約
【解決手段】本発明は、適応切替式スマートトイレ提供し、トイレ用栓の技術分野に適用し、後部便座と前部便器本体を含み、昇降式シートは、便座台と弧状挿入板を含み、昇降式シートは便座をさらに含み、便座台には弾力的かつ回転可能な便座を備えており、前部便器本体の両側にはフットサポートが取り付けられている。
【効果】異なる使用者の体型に合わせて適切に調整することを実現し、中国人の長期的なしゃがむトイレの習慣に合わせると同時に、便座の反転を弾性的に調整することで、着座姿勢に移行する際の快適性を向上させることができるのである。
【選択図】図1
特許請求の範囲
【請求項1】
後部便座(300)と前部便器本体(400)を含み、前記後部便座(300)と前記前部便器本体(400)とが一体的に組み立てられ、
後部便座(300)の内側に適時給水弁が組み付けられ、かつ前部便器本体に設けられた昇降式シート(500)に連動され、
昇降式シート(500)は、便座台(520)と弧状挿入板(530)を含み、便座台(520)と弧状挿入板(530)は、一緒に組み付けられ、かつ前部便器本体(400)に設けられたキャビティー(410)の内部に弾力的に挿入され、
昇降式シート(500)は便座(510)をさらに含み、便座(510)は、便座台(520)に弾力的かつ回転可能に組み立てられ、
前部便器本体(400)の両側にはフットサポート(700)が取り付けられており、
適時給水弁は、給水アッセンブリ(800)を含み、前記給水アッセンブリ(800)は水道給水ネットワークに接続され、給水アッセンブリ(800)は栓本体(810)とピストンチューブ(820)を含み、ピストンチューブ(820)は栓本体(810)に作用し、
便座台(520)が加圧された後、弧状挿入板(530)が前部便器本体(400)に弾性的に圧入され、前部便器本体(400)内の気体がピストンチューブ(820)に圧入されることにより、便座台(520)が加圧される長さに応じてピストンチューブ(820)に異なる長さの空気圧を供給し、それによって栓本体(810)の開き状態の長さが調節され、適時給水が行われ、
便座(510)は、後部当て板コンポ(511)と前部弧状当て板コンポ(512)を含み、
後部当て板コンポは(511)、2個に分割され、前部弧状当て板コンポ(512)の両端に設けられており、
2つの後部当て板コンポ(511)は平行に配置されており、
前記後部当て板コンポ(511)は、ハウジング(5113)と拡張プラットフォーム(5112)を含み、ハウジング(5113)は、前部弧状当て板コンポ(512)に固定され、ハウジング(5113)には、位置決めポスト(5114)が固定され、位置決めポスト(5114)の端部には、ベアリング(5115)が固定され、位置決めポスト(5114)はベアリングの回しによって、便座台(520)に取り付けられており、
拡張プラットフォーム(5112)は、ハウジング(5113)の側壁に弾力的に挿入され、フレキシブルローラー(5111)は、拡張プラットフォーム(5112)の上方でのハウジング(5113)に取り付けられており、
フレキシブルローラー(5111)は複数個設けられ、消毒槽に回転自在に組み付けられ、消毒槽はハウジング(5113)に上下に移動自在に挿入され、拡張プラットフォーム(5112)に稼働することを特徴とする適応切替式スマートトイレ。
続きを表示(約 1,800 文字)
【請求項2】
前記給水アセンブリ(800)は、接続パイプ(830)と浮き環(870)をさらに含み、接続パイプ(830)は、一端がピストンチューブ(820)に接続され、他端が横方向空気導管(840)に接続され、複数の縦方向空気導管(850)が横方向空気導管(840)に接続されており、
浮き環(870)はガイドボスト(880)に移動可能に設置され、ガイドボスト(880)の上部には接続プレート(860)が固定され、接続プレート(860)は栓本体(810)に固定され、栓本体(810)には圧力スイッチ、プレススイッチ、電子スイッチが装備されていることを特徴とする請求項1に記載の適応切替式スマートトイレ。
【請求項3】
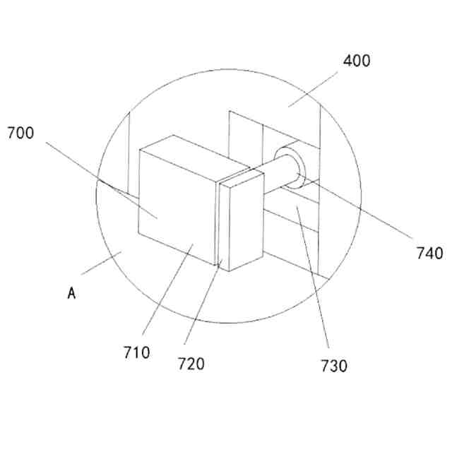
前記フットサポート(700)は、収容口(730)とフットレスト(710)を含み、収容口(730)は前部便器本体(400)に取り付けられており、
フットレスト(710)は伸縮ポールII(740)に固定され、伸縮ポールII(740)は収容口(730)内に固定されており、
フットレスト(710)には、広げ可能なフットレス(720)を可動式に挟み込んでおり、広げ可能なフットレス(720)はフットレスト(710)の内側の端部に外れ防止用のフランジが固定されており、
伸縮ポールII(740)を伸縮させ、広げ可能なフットレスト(720)がフットレスト(710)への挿入の深さを調整することによって、異なる使用者の体型に適応することを特徴とする請求項1に記載の適応切替式スマートトイレ。
【請求項4】
前記後部当て板コンポ(511)はベースハウジング(514)を含み、ベースハウジング(514)には弾性移動可能な拡張プラットフォーム(5112)が挿入され、拡張プラットフォーム(5112)の上でのベースハウジング(514)に押圧板(513)が設けられており、
押圧板(513)はベースハウジング(514)に上下に移動自在に挿入され、拡張プラットフォーム(5112)に稼働することを特徴とする請求項1に記載の適応切替式スマートトイレ。
【請求項5】
前記拡張プラットフォーム(5112)は、拡張プラットフォーム本体(51121)を含み、拡張プラットフォーム本体(51121)は、電動調節ベース(51124)上にスライド可能に組み付けられ、電動調節ベース(51124)は、便座上に移動可能に挿入され、弾性的に連結され、
拡張プラットフォーム本体(51121)には楔状溝(51123)が設けられ、楔状溝(51123)の側面の拡張プラットフォーム本体(51121)には弧状斜面(51122)が設けられており、
電動調節ベース(51124)は側縁(511242)を含み、側縁(511242)には複数の電動伸縮ポールII(511241)が取り付けられており、電動伸縮ポールII(511241)は側縁から離れた端部で拡張プラットフォーム本体(51121)に固定されており、
側縁はベースプレート(511243)に固定されていることを特徴とする請求項1または請求項4に記載の適応切替式スマートトイレ。
【請求項6】
前記前部弧状当て板コンポ(512)は弧状ハウジング(5124)を含み、弧状ハウジング(5124)には弧状フレキシブルローラー(5122)が回転可能に取り付けられ、弧状フレキシブルローラー(5122)の下での弧状ハウジング(5124)には設置溝(5123)が取り付けられ、設置溝(5123)の下での弧状ハウジング(5124)には消毒液投入口(5121)が取り付けられ、消毒液投入口(5121)は設置溝(5123)に消毒液を供給するために使用され、
弧状ハウジング(5124)の下には、複数の弾性伸縮部材(5125)が取り付けられていることを特徴とする請求項1に記載の適応切替式スマートトイレ。
【請求項7】
前記前部弧状当て板コンポ(512)は、弧状当て板本体(516)を含み、弧状当て板本体(516)の内壁には、弧状ソフトクッション(515)が設けられ、弧状当て板本体(516)の下方には、複数の弾性伸縮部材(5125)が設けられていることを特徴とする請求項1に記載の適応切替式スマートトイレ。
発明の詳細な説明
【技術分野】
【0001】
本発明は、トイレ用栓の技術分野に関し、より具体的には、特に適応切替式スマートトイレに関する。
続きを表示(約 2,300 文字)
【背景技術】
【0002】
トイレは、建築物の給排水材料の分野における衛生器具であり、トイレとも呼ばれ、排尿と排便のための蓋付きバケツである。その後、サイフォン、スパイラルサイフォン、そして現在の最新のサイフォンと超回転サイフォンなどの原理を使用した水洗トイレに進化したのである。
【0003】
トイレには多くの分類があり、分割式トイレと一体型トイレという2種類がある。一般的に、分割式トイレはより大きな空間面積を占め、一体型トイレはより小さな空間面積を占める。その種類は主にバスルームの面積によって選択される。分割式トイレは、より伝統的なデザインを採用し、ネジやシールでベース、タンク第二層などを接続するため、より大きな空間面積を占め、接続のところは汚れが蓄積しやすく、一体型トイレは一体化成形するものであり、外観が美しい、価格は比較的高いのである。
【0004】
便器の構造はタンク、便座、便蓋の3つの部分に分けられ、タンクにはフロート、充填パイプ、オーバーフローパイプ、ストップ栓本体、ボックス、水入口リングなどの構造があり、便座には水穴の流れ、シール、防水シール、排水パイプ、便座ベースなどの構造があり、便蓋にはカバーと便座の2つの部分があり、便器のほかに上部給水パイプ、アングル栓本体などの構造がある。
【0005】
便器の構造が固定されているため、異なる使用者の体型に合わせて適切に調整することはできず、特に中国人は長い間しゃがんでトイレに行くことに慣れており、しゃがみ姿勢から座り方に移行すると慣れられない。便器の構造が固定されていることに加えて、異なる使用者に不快感を与えやすいのである。例えば、中国特許「自動便器洗浄機及び自動便器洗浄機を含む自動便器洗浄機(公開出願番号CN112302126B)」及び「便器、便器蓋アセンブリ及び便器の遠隔制御(公開出願番号CN116537326B)」に記録されている「便座」は固定構造であり、実際に乗られる方のサイズに合わせて調整することはできない。
【0006】
したがって、上記の問題を解決するために、適応切替式スマートトイレが提案されている。
【発明の概要】
【課題を解決するための手段】
【0007】
本発明の目的は、従来技術の欠点に対処することである、便器の構造が固定されているため、異なる使用者の体型に合わせて適切に調整することはできず、特に中国人は長い間しゃがんでトイレに行くことに慣れており、しゃがみ姿勢から座り方に移行すると慣れられない。便器の構造が固定されていることに加えて、異なる使用者に不快感を与えやすいことによって開発された適応切替式スマートトイレ。
【0008】
具体的な技術解決手段は以下の通りである。適時給水弁は、給水アセンブリを含み、前記給水アセンブリは水道給水ネットワークに接続され、給水アセンブリは栓本体とピストンチューブを含み、ピストンチューブは栓本体に作用し、適時給水のためにピストンチューブに異なる長さの気圧を提供することにより、栓本体の開き時間を調節し、ピストンチューブに異なる長さの気圧を供給することで、栓本体の開き時間を調節し、適切なタイミングで給水することで、排便の長さ(特に女性の場合)に自動的に適応し、節水を実現する。
【0009】
本発明の技術的解決手段において、前記給水アセンブリは、接続パイプと浮き環にも備え、接続パイプは、一端がピストンチューブに接続され、他端が横方向空気導管に接続され、複数の縦方向空気導管が横方向空気導管に接続されている。浮き環はガイドボストに移動可能に設置され、ガイドボストの上部には接続プレートが固定され、接続プレートは栓本体に固定され、栓本体には圧力スイッチ、プレススイッチ、電子スイッチが装備されている。
【0010】
本発明の他の目的は、適応切替式スマートトイレを提供することであり、後部便座と前部便器本体を含み、前記後部便座と前記前部便器本体とが一体的に組み立てられ、上記適時給水弁は、後部便座の内側に組み付けられ、前部便器本体に設けられた昇降式シートに連動され、昇降式シートは、便座台と弧状挿入板を含み、便座台と弧状挿入板は、一緒に組み付けられ、前部便器本体に設けられたキャビティーの内部に弾力的に挿入され、便座台が加圧された後、弧状挿入板が前部便器本体に弾性的に圧入され、前部便器本体内の気体がピストンチューブに圧入されることにより、便座台が加圧される長さに応じてピストンチューブに異なる長さの空気圧を供給し、それによって栓本体の開き状態の長さが調節され、適時給水が行われる。排便の長さに応じて適応するために自動的に区別し、節水を実現するのである。昇降式シートは便座をさらに含み、便座は、便座台に弾力的かつ回転可能に組み立てられ、前部便器本体の両側にはフットサポートが取り付けられ、使用者は便座に座る時、まず便座に接触し、異なる使用者の好みに応じて、便座が弾性的に反転し、フットサポートを使用して足を支え、弧状挿入板が前部便器本体に弾性的に貫通する異なる深さによって便座の高さの調整を行うことが特に、中国人の長期的なしゃがむトイレの習慣に合わせ、異なる使用者の体型に合わせて適切に調整することを実現すると同時に、便座の反転を弾性的に調整することで、着座姿勢に移行する際の快適性を向上させることができるのである。
(【0011】以降は省略されています)
この特許をJ-PlatPat(特許庁公式サイト)で参照する
関連特許
廈門迪芬奇厨衛有限公司
適応切替式スマートトイレ
12日前
廈門迪芬奇厨衛有限公司
パイプ内冷水回収可能な省エネルギーキッチン・バスルーム用ヒーター
7か月前
個人
蛇口
3か月前
個人
ドクター中まミズつクル
12日前
株式会社タカギ
水栓装置
3か月前
ヒロテツ工業株式会社
溝カバー
3か月前
株式会社KVK
水栓
1か月前
個人
夜露から水を創る用具と装置
4か月前
タイガースポリマー株式会社
側溝
21日前
TOTO株式会社
便座装置
21日前
株式会社KVK
水栓
1か月前
株式会社KVK
水栓
1か月前
TOTO株式会社
トイレ装置
21日前
TOTO株式会社
トイレ装置
21日前
TOTO株式会社
トイレ装置
21日前
株式会社LIXIL
吐水装置
4か月前
丸一株式会社
排水栓装置
5か月前
株式会社大林組
雨水桝蓋
3か月前
株式会社タカギ
水栓装置
2か月前
株式会社タカギ
水栓装置
5か月前
ホーコス株式会社
床置型グリース阻集器
21日前
センクシア株式会社
雨水貯留部材
4か月前
日興株式会社
凍結防止装置
4か月前
三興建設株式会社
排泄物処理装置
4か月前
株式会社 林物産発明研究所
土木構造体
3か月前
TOTO株式会社
洗面器及び洗面台
1か月前
TOTO株式会社
洗面器及び洗面台
1か月前
TOTO株式会社
浴室床
1か月前
昭和梱包資材株式会社
円筒状透水材
5か月前
有限会社彩孔技研
接続継手および工法
4か月前
TOTO株式会社
洗い場床
2か月前
三興建設株式会社
下水道バイパス装置
1か月前
TOTO株式会社
トイレ装置
2か月前
TOTO株式会社
トイレ装置
2か月前
TOTO株式会社
排水管継手
1か月前
TOTO株式会社
排水管継手
1か月前
続きを見る
他の特許を見る