TOP
|
特許
|
意匠
|
商標
特許ウォッチ
Twitter
他の特許を見る
公開番号
2025164910
公報種別
公開特許公報(A)
公開日
2025-10-30
出願番号
2025143370,2021105835
出願日
2025-08-29,2021-06-25
発明の名称
運転評価制御装置、および運転評価制御方法
出願人
株式会社JVCケンウッド
代理人
主分類
G08G
1/00 20060101AFI20251023BHJP(信号)
要約
【課題】異常走行を適切に評価すること。
【解決手段】運転評価制御装置は、車両の運転者の映像データまたは運転者の生体情報に基づいて、運転者の感情レベルを推測し、推測した感情レベルが閾値レベル以上であるか否かを判定する感情判定部と、車両の挙動を示す車両情報を取得する車両情報取得部と、車両の速度が第1の閾値を超えた場合、車両の加速度が第2の閾値を超えた場合、車両のハンドル操作量が第3の閾値を超えた場合、車両のアクセル操作量が第4の閾値を超えた場合、および周囲を走行する他車両との車間距離が第5の閾値を超えた場合のうち、少なくともいずれかである場合に、車両が異常走行を行っていると判定する異常走行判定部と、を備え、異常走行判定部は、感情レベルが記閾値レベル以上と判定された継続時間が長いほど、車両が異常走行を行っていると判定されやすくなる方向に、いずれかの閾値を変更する。
【選択図】図1
特許請求の範囲
【請求項1】
車両の運転者の映像データまたは前記運転者の生体情報に基づいて、前記運転者の感情レベルを推測し、推測した前記感情レベルが閾値レベル以上であるか否かを判定する感情判定部と、
前記車両の挙動を示す車両情報を取得する車両情報取得部と、
前記車両の速度が第1の閾値を超えた場合、前記車両の加速度が第2の閾値を超えた場合、前記車両のハンドル操作量が第3の閾値を超えた場合、前記車両のアクセル操作量が第4の閾値を超えた場合、および周囲を走行する他車両との車間距離が第5の閾値を超えた場合のうち、少なくともいずれかである場合に、前記車両が異常走行を行っていると判定する異常走行判定部と、
を備え、
前記異常走行判定部は、前記感情レベルが前記閾値レベル以上と判定された継続時間が長いほど、前記車両が異常走行を行っていると判定されやすくなる方向に、前記第1の閾値、前記第2の閾値、前記第3の閾値、前記第4の閾値、および前記第5の閾値のうち少なくともいずれかを変更する、
運転評価制御装置。
続きを表示(約 490 文字)
【請求項2】
車両の運転者の映像データまたは前記運転者の生体情報に基づいて、前記運転者の感情レベルを推測し、推測した前記感情レベルが閾値レベル以上であるか否かを判定する感情判定ステップと、
前記車両の挙動を示す車両情報を取得する車両情報取得ステップと、
前記車両の速度が第1の閾値を超えた場合、前記車両の加速度が第2の閾値を超えた場合、前記車両のハンドル操作量が第3の閾値を超えた場合、前記車両のアクセル操作量が第4の閾値を超えた場合、および周囲を走行する他車両との車間距離が第5の閾値を超えた場合のうち、少なくともいずれかである場合に、前記車両が異常走行を行っていると判定する異常走行判定ステップと、
を実行する異常走行判定方法であって、
前記異常走行判定ステップは、前記感情レベルが前記閾値レベル以上と判定された継続時間が長いほど、前記車両が異常走行を行っていると判定されやすくなる方向に、前記第1の閾値、前記第2の閾値、前記第3の閾値、前記第4の閾値、および前記第5の閾値のうち少なくともいずれかを変更する、
運転評価制御方法。
発明の詳細な説明
【技術分野】
【0001】
本発明は、運転評価制御装置、および運転評価制御方法に関する。
続きを表示(約 1,700 文字)
【背景技術】
【0002】
車両の挙動を観測して、危険運転を行う可能性を判定する技術が開示されている(例え
ば、特許文献1参照)。
【先行技術文献】
【特許文献】
【0003】
特開2020-102092号公報
【発明の概要】
【発明が解決しようとする課題】
【0004】
運転者がイライラするなど感情が変化すると、煽り運転または意図的な割り込みなどのいわゆる異常走行をするおそれがある。異常走行は、自車両または他車両の事故を誘発するおそれがある。そこで、このような異常走行を適切に評価することが望まれる。
【0005】
本発明は、異常走行を適切に評価することのできる運転評価制御装置、および運転評価制御方法を提供することを目的とする。
【課題を解決するための手段】
【0006】
本発明に係る運転評価制御装置は、車両の運転者の映像データまたは運転者の生体情報に基づいて、運転者の感情レベルを推測し、推測した感情レベルが閾値レベル以上であるか否かを判定する感情判定部と、車両の挙動を示す車両情報を取得する車両情報取得部と、車両の速度が第1の閾値を超えた場合、車両の加速度が第2の閾値を超えた場合、車両のハンドル操作量が第3の閾値を超えた場合、車両のアクセル操作量が第4の閾値を超えた場合、および周囲を走行する他車両との車間距離が第5の閾値を超えた場合のうち、少なくともいずれかである場合に、車両が異常走行を行っていると判定する異常走行判定部と、を備え、 異常走行判定部は、感情レベルが閾値レベル以上と判定された継続時間が長いほど、車両が異常走行を行っていると判定されやすくなる方向に、第1の閾値、第2の閾値、第3の閾値、第4の閾値、および第5の閾値のうち少なくともいずれかを変更する。
【0007】
本発明に係る運転評価制御方法は、車両の運転者の映像データまたは運転者の生体情報に基づいて、運転者の感情レベルを推測し、推測した感情レベルが閾値レベル以上であるか否かを判定する感情判定ステップと、車両の挙動を示す車両情報を取得する車両情報取得ステップと、車両の速度が第1の閾値を超えた場合、車両の加速度が第2の閾値を超えた場合、車両のハンドル操作量が第3の閾値を超えた場合、車両のアクセル操作量が第4の閾値を超えた場合、および周囲を走行する他車両との車間距離が第5の閾値を超えた場合のうち、少なくともいずれかである場合に、車両が異常走行を行っていると判定する異常走行判定ステップと、を含むステップをコンピュータが実行し、異常走行判定ステップは、感情レベルが閾値レベル以上と判定された継続時間が長いほど、車両が異常走行を行っていると判定されやすくなる方向に、第1の閾値、第2の閾値、第3の閾値、第4の閾値、および第5の閾値のうち少なくともいずれかを変更する。
【発明の効果】
【0008】
本発明によれば、異常走行を適切に評価することができる。
【図面の簡単な説明】
【0009】
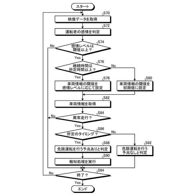
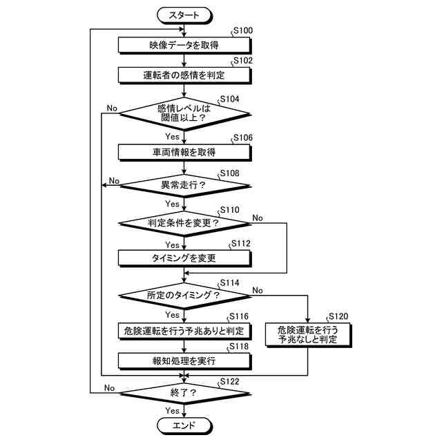
図1は、第1実施形態に係る運転評価装置の構成例を示すブロック図である。
図2は、第1実施形態に係る運転評価装置の処理の流れの一例を示すフローチャートである。
図3は、第2実施形態に係る運転評価装置の処理の流れの一例を示すフローチャートである。
図4は、第3実施形態に係る運転評価装置の処理の流れの一例を示すフローチャートである。
図5は、第4実施形態に係る運転評価装置の処理の流れの一例を示すフローチャートである。
【発明を実施するための形態】
【0010】
以下、添付図面を参照して、本発明に係る実施形態を詳細に説明する。なお、この実施
形態により本発明が限定されるものではなく、また、以下の実施形態において、同一の部
位には同一の符号を付することにより重複する説明を省略する。
(【0011】以降は省略されています)
この特許をJ-PlatPat(特許庁公式サイト)で参照する
関連特許
個人
安全支援装置
1か月前
日本信号株式会社
車両検知装置
1日前
オ,ウォンチョル
交通信号システム
8日前
株式会社デンソー
運転評価支援装置
8日前
トヨタ自動車株式会社
通信システム
9日前
株式会社スターオークス
補助信号機及び信号機
29日前
グローリー株式会社
監視システム
8日前
トヨタ自動車株式会社
路側装置
29日前
国立大学法人九州工業大学
情報伝達システム
29日前
トヨタ自動車株式会社
路側装置
29日前
トヨタ自動車株式会社
路側装置
29日前
トヨタ自動車株式会社
路側装置
29日前
テイ・エス テック株式会社
車両内装システム
29日前
能美防災株式会社
煙感知器
1日前
トヨタ自動車株式会社
情報処理装置
9日前
日本電気株式会社
監視装置、監視方法、及びプログラム
29日前
ウェイモ エルエルシー
自律車両の停車位置変更
10日前
スズキ株式会社
運転支援装置
16日前
杭特電子股分有限公司
車両温度異常警報システム
1か月前
日産自動車株式会社
制御装置及び制御方法
1日前
株式会社SUBARU
情報処理装置
1日前
能美防災株式会社
異常検出システム
9日前
吉川工業株式会社
接近警報システム
9日前
JR東日本コンサルタンツ株式会社
特別通行者判別システム
29日前
マツダ株式会社
運転者の覚醒維持装置
9日前
日本電気株式会社
情報処理装置、情報処理方法及びプログラム
1日前
IHI運搬機械株式会社
飛行体誘導システムとその方法
29日前
日産自動車株式会社
車両乗り合わせ方法及び装置
9日前
株式会社東芝
踏板フレーム及び踏板
8日前
九州電力送配電株式会社
見守りシステム及び電力計測通信装置
8日前
能美防災株式会社
火災検知システム
1日前
Astemo株式会社
管制システム
1日前
日本電気株式会社
発話認識装置、プログラム及び発話認識方法
10日前
太平洋工業株式会社
異常判定装置及び異常判定プログラム
1か月前
日産自動車株式会社
情報処理装置及び情報処理方法
8日前
能美防災株式会社
防塵カバー取外し装置
1日前
続きを見る
他の特許を見る