TOP
|
特許
|
意匠
|
商標
特許ウォッチ
Twitter
他の特許を見る
公開番号
2025173008
公報種別
公開特許公報(A)
公開日
2025-11-27
出願番号
2024078311
出願日
2024-05-14
発明の名称
接近警報システム
出願人
吉川工業株式会社
代理人
弁理士法人英和特許事務所
主分類
G08B
21/02 20060101AFI20251119BHJP(信号)
要約
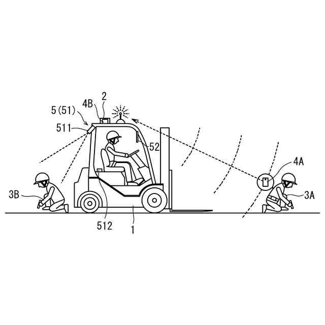
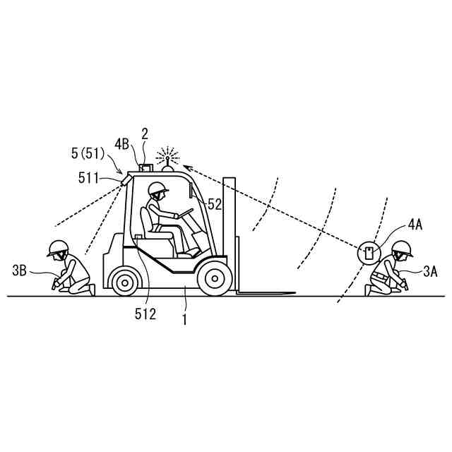
【課題】RFIDタグを用いた既存の接近警報システムで使用している制御装置の改良・加工を行うことなく、RFIDタグを所持しない作業者等の接近を検知して接近警報を出力することのできる接近警報システムを提供する。
【解決手段】制御装置2は、既存の接近警報システムで使用している制御装置と同様に、作業者用タグ4Aから送信される電波(磁界検知電波)を電波受信部で受信することにより、タグを所持する作業者3Aの接近を検知して接近警報を出力する。一方、タグを所持しない作業者等3Bの接近を検知する作業者等検知手段5からの作業者等検知信号は、作業車両1に設置した作業者等検知手段用タグ4Bを介して、電波(作業者等検知電波)として送信される。制御装置2は、作業者等検知手段用タグ4Bから送信される電波(作業者等検知電波)を電波受信部で受信することにより、タグを所持しない作業者等3Bの接近を検知して接近警報を出力する。
【選択図】図1
特許請求の範囲
【請求項1】
作業車両と作業者又は動物(以下、総称して「作業者等」という。)との接近を検知して接近警報を出力する接近警報システムであって、
作業車両の運転席又はその近傍に設置される距離検知制御装置と、
作業者に取り付けられる作業者用RFIDタグと、
作業車両に設置され、当該作業車両周りの所定領域内に作業者等がいるか否かを検知する作業者等検知手段と、
作業車両に設置され、前記作業者等検知手段と電気的に接続される作業者等検知手段用RFIDタグと、を備え、
前記距離検知制御装置は、誘導磁界を送信する磁界送信部と、電波受信部と、前記接近警報を出力する警報部と、これらを制御する装置制御部とを含み、
前記作業者用RFIDタグは、前記磁界送信部から送信される誘導磁界を検知する磁界センサ部と、当該磁界センサ部が前記誘導磁界を検知したときに磁界検知電波を送信する電波送信部と、これらを制御するタグ制御部とを含み、
前記作業者等検知手段は、前記所定領域内に作業者等がいることを検知したときに、前記作業者等検知手段用RFIDタグへ作業者等検知信号を送信する機能を有し、
前記作業者等検知手段用RFIDタグは、前記作業者等検知信号を受信したときに、作業者等検知電波を送信する機能を有し、
前記装置制御部は、前記電波受信部が前記磁界検知電波及び前記作業者等検知電波のうち少なくとも一方の電波を受信したときに、前記警報部から前記接近警報を出力させる、接近警報システム。
続きを表示(約 880 文字)
【請求項2】
前記作業者等検知電波は、前記磁界検知電波と同じ種類の電波である、請求項1に記載の接近警報システム。
【請求項3】
前記作業者等検知手段用RFIDタグは、前記磁界送信部から送信される誘導磁界を検知する磁界センサ部を含み、当該磁界センサ部が前記誘導磁界を検知し、かつ当該作業者等検知手段用RFIDタグが前記作業者等検知信号を受信したときに、前記作業者等検知電波を送信する、請求項1に記載の接近警報システム。
【請求項4】
前記磁界検知電波は前記作業者用RFIDタグのID情報を含み、前記作業者等検知電波は前記作業者等検知手段用RFIDタグのID情報を含み、前記装置制御部は、前記電波受信部が受信した電波に含まれるID情報から、当該電波が前記磁界検知電波であるか、又は前記作業者等検知電波であるかを識別し、当該電波が前記磁界検知電波である場合と前記作業者等検知電波である場合とで、前記警報部から出力させる前記接近警報の種類を変更する、請求項1に記載の接近警報システム。
【請求項5】
前記作業者等検知手段は、前記所定領域の範囲を変更する機能を更に有する、請求項1に記載の接近警報システム。
【請求項6】
前記作業者等検知手段は、作業車両と作業者との間の距離を検知する機能を更に有し、その検知した距離情報を前記作業者等検知信号に含めて送信し、
前記作業者等検知手段用RFIDタグは、受信した前記作業者等検知信号に含まれる前記距離情報を前記作業者等検知電波に含めて送信し、
前記装置制御部は、前記電波受信部が受信した前記作業者等検知電波に含まれる前記距離情報に応じて、前記警報部から出力させる前記接近警報のレベルを変更する、請求項1に記載の接近警報システム。
【請求項7】
前記作業者等検知手段は、教師データとして少なくとも作業者等の画像データが多数蓄積された学習済のAIカメラを含む、請求項1から請求項6のいずれか一項に記載の接近警報システム。
発明の詳細な説明
【技術分野】
【0001】
本発明は、作業車両と作業者又は動物(以下、総称して「作業者等」という。)との接近を検知して接近警報を出力する接近警報システムに関する。なお、本発明において「作業車両」とは、作業者が作業をする作業現場、工事現場、建設現場等で使用される、フォークリフト、ブルドーザ、クレーン車、ダンプカー、トラック等の車両を総称するものである。
続きを表示(約 2,600 文字)
【背景技術】
【0002】
かかる接近警報システムとして、誘導磁界と電波を用いたものが知られており、本願出願人は特許文献1において、作業車両側に取り付けた距離検知制御装置と作業者側に取り付けられたRFIDタグとの距離により警報のレベルを変えることを可能とし、更に警報を出力する距離を作業車両側で設定可能とした接近警報システムを開示した。この特許文献1の接近警報システムは、作業車両(距離検知制御装置)と作業者(RFIDタグ)との距離により警報のレベルを変えることで、作業者が作業車両に対してどの程度の距離まで接近しているかを把握することができる点で特にメリットがあり、実用化の実績も多数ある。
【0003】
一方で、特許文献1のようにRFIDタグを用いたシステムでは、作業者がRFIDタグを所持していないと、作業車両(距離検知制御装置)と作業者(RFIDタグ)との接近を検知することができず、接近警報を出力することもできない。
【0004】
この点、特許文献2には、ステレオカメラを用いたシステムが開示され、更に、このステレオカメラを用いたシステムに、ICタグ(RFIDタグ)を用いたシステムを併用した併用システムも開示されている。この併用システムにおいて制御装置は、ICタグ(RFIDタグ)を有する作業者、及びステレオカメラが撮像した作業者の位置や人数によって警報器による警報レベルを変える。
【先行技術文献】
【特許文献】
【0005】
特開2013-142675号公報(特許第5835577号公報)
特開2021-139283号公報
【発明の概要】
【発明が解決しようとする課題】
【0006】
特許文献2に開示された併用システムでは上述の通り、ステレオカメラを用いたシステムとICタグ(RFIDタグ)を用いたシステムの双方の接近警報システムに対応する制御装置が必要である。そのため、ICタグ(RFIDタグ)を用いた既存の接近警報システムで使用していた制御装置をそのまま使用することはできず、制御装置の改良、交換、あるいは制御装置への配線等(以下、総称して「制御装置の改良・加工」という。)が必要である。
【0007】
本発明が解決しようとする課題は、RFIDタグを用いた既存の接近警報システムで使用している制御装置の改良・加工を行うことなく、RFIDタグを所持しない作業者等の接近を検知して接近警報を出力することのできる接近警報システムを提供することにある。
【課題を解決するための手段】
【0008】
本発明の一観点によれば、次の接近警報システムが提供される。
作業車両と作業者等との接近を検知して接近警報を出力する接近警報システムであって、
作業車両の運転席又はその近傍に設置される距離検知制御装置と、
作業者に取り付けられる作業者用RFIDタグと、
作業車両に設置され、当該作業車両周りの所定領域内に作業者等がいるか否かを検知する作業者等検知手段と、
作業車両に設置され、前記作業者等検知手段と電気的に接続される作業者等検知手段用RFIDタグと、を備え、
前記距離検知制御装置は、誘導磁界を送信する磁界送信部と、電波受信部と、前記接近警報を出力する警報部と、これらを制御する装置制御部とを含み、
前記作業者用RFIDタグは、前記磁界送信部から送信される誘導磁界を検知する磁界センサ部と、当該磁界センサ部が前記誘導磁界を検知したときに磁界検知電波を送信する電波送信部と、これらを制御するタグ制御部とを含み、
前記作業者等検知手段は、前記所定領域内に作業者等がいることを検知したときに、前記作業者等検知手段用RFIDタグへ作業者等検知信号を送信する機能を有し、
前記作業者等検知手段用RFIDタグは、前記作業者等検知信号を受信したときに、作業者等検知電波を送信する機能を有し、
前記装置制御部は、前記電波受信部が前記磁界検知電波及び前記作業者等検知電波のうち少なくとも一方の電波を受信したときに、前記警報部から前記接近警報を出力させる、接近警報システム。
【発明の効果】
【0009】
本発明の接近警報システムにおいて制御装置である距離検知制御装置は、作業者用RFIDタグから送信される電波(磁界検知電波)を電波受信部で受信することにより、RFIDタグを所持する作業者の接近を検知して接近警報を出力する点で、RFIDタグを用いた既存の接近警報システムで使用している制御装置と同じ装置構成である。また本発明において、RFIDタグを所持しない作業者等の接近を検知する作業者等検知手段からの作業者等検知信号は、作業車両に設置した作業者等検知手段用RFIDタグを介して、電波(作業者等検知電波)として送信される。そして距離検知制御装置は、作業者等検知手段用RFIDタグから送信される電波(作業者等検知電波)を電波受信部で受信することにより、RFIDタグを所持しない作業者等の接近を検知して接近警報を出力する。
このように本発明によれば、RFIDタグを用いた既存の接近警報システムで使用している制御装置の改良・加工を行うことなく、RFIDタグを所持しない作業者等の接近を検知して接近警報を出力することができる。言い換えれば、RFIDタグを用いた既存の接近警報システムで使用している制御装置をそのまま使用し、その制御装置を含む接近警報システムに、作業者等検知手段及び作業者等検知手段用RFIDタグを後付けするだけで、RFIDタグを所持しない作業者等の接近を検知して接近警報を出力することができる。
【図面の簡単な説明】
【0010】
本発明の一実施形態である接近警報システムのシステム構成図。
図1の接近警報システムにおける距離検知制御装置の構成を示すブロック図。
図1の接近警報システムにおける作業者用RFIDタグの構成を示すブロック図。
図1の接近警報システムにおける作業者等検知手段用RFIDタグの構成を示すブロック図。
【発明を実施するための形態】
(【0011】以降は省略されています)
この特許をJ-PlatPat(特許庁公式サイト)で参照する
関連特許
吉川工業株式会社
接近警報システム
9日前
吉川工業株式会社
安全帯使用状態確認システム
1か月前
個人
安全支援装置
1か月前
日本精機株式会社
警報システム
3か月前
株式会社SUBARU
車両
1か月前
個人
自動電動車椅子
2か月前
エムケー精工株式会社
車両誘導装置
3か月前
スズキ株式会社
運転支援装置
3か月前
日本信号株式会社
車両検知装置
1日前
ニッタン株式会社
検知器
2か月前
個人
磁気路上での車両の路線離脱防御
2か月前
株式会社国際電気
防災システム
3か月前
ニッタン株式会社
検知器
2か月前
ニッタン株式会社
検知器
2か月前
ニッタン株式会社
検知器
2か月前
日本無線株式会社
船舶システム
1か月前
株式会社小糸製作所
移動体検出装置
2か月前
大阪瓦斯株式会社
音声出力システム
2か月前
トヨタ自動車株式会社
サーバ
1か月前
ダイハツ工業株式会社
移動支援装置
1か月前
トヨタ自動車株式会社
サーバ
2か月前
株式会社SUBARU
運転支援装置
2か月前
日本信号株式会社
異常走行検出装置
2か月前
株式会社CCT
通信装置及び表示方法
2か月前
日本精機株式会社
報知装置及び報知システム
2か月前
株式会社デンソー
運航管理装置
1か月前
株式会社小糸製作所
車両検出システム
2か月前
三菱自動車工業株式会社
制御システム
2か月前
株式会社SUBARU
事故情報収集装置
1か月前
株式会社 ミックウェア
車内環境制御システム
1か月前
能美防災株式会社
火災感知器
3か月前
オ,ウォンチョル
交通信号システム
8日前
株式会社デンソー
運転評価支援装置
8日前
ヨシモトポール株式会社
接近報知システム
3か月前
トヨタ自動車株式会社
通信システム
9日前
ホーチキ株式会社
火災検出システム
2か月前
続きを見る
他の特許を見る