TOP
|
特許
|
意匠
|
商標
特許ウォッチ
Twitter
他の特許を見る
10個以上の画像は省略されています。
公開番号
2025164830
公報種別
公開特許公報(A)
公開日
2025-10-30
出願番号
2025136728,2024034629
出願日
2025-08-20,2020-10-15
発明の名称
表示装置
出願人
ソニーグループ株式会社
代理人
弁理士法人酒井国際特許事務所
主分類
H10K
59/121 20230101AFI20251023BHJP()
要約
【課題】簡素な構成、構造で精細度を高める。
【解決手段】表示装置は、複数の発光素子群が、第1の方向、及び、第1の方向とは異なる第2の方向に配列された表示装置であって、各発光素子群は、複数の発光素子ユニットから構成されており、各発光素子ユニットは、第1の色を出射する1つの第1発光素子、第2の色を出射する1つの第2発光素子、及び、第3の色を出射する1つの第3発光素子から構成されており、各発光素子群は、第1発光素子を駆動する第1駆動回路、第2発光素子を駆動する第2駆動回路、及び、第3発光素子を駆動する第3駆動回路を備えており、各発光素子群において、第1駆動回路の数は第1発光素子の数と等しく、第2駆動回路の数は第2発光素子の数よりも少なく、第3駆動回路の数は第3発光素子の数よりも少ない。
【選択図】図1A
特許請求の範囲
【請求項1】
複数の発光素子群が、第1の方向、及び、第1の方向とは異なる第2の方向に配列された表示装置であって、
各発光素子群は、複数の発光素子ユニットから構成されており、
各発光素子ユニットは、第1の色を出射する1つの第1発光素子、第2の色を出射する1つの第2発光素子、及び、第3の色を出射する1つの第3発光素子から構成されており、
各発光素子群は、第1発光素子を駆動する第1駆動回路、第2発光素子を駆動する第2駆動回路、及び、第3発光素子を駆動する第3駆動回路を備えており、
各発光素子群において、第1駆動回路の数は第1発光素子の数と等しく、第2駆動回路の数は第2発光素子の数よりも少なく、第3駆動回路の数は第3発光素子の数よりも少ない表示装置。
発明の詳細な説明
【技術分野】
【0001】
本開示は、表示装置に関する。
続きを表示(約 3,700 文字)
【背景技術】
【0002】
従来の有機エレクトロルミネッセンス表示装置(以下、単に、『有機EL表示装置』と略称する)の模式的な一部断面図を図24に示す。シリコン半導体基板から成る第1基板41に駆動回路20’が配置されており、第1電極31が、第1基板41上に形成された絶縁層26の上に設けられている。そして、第1電極31の上に有機層33が蒸着法や印刷法等に基づき形成され、更に、有機層33の上に第2電極32、平坦化層35、カラーフィルタ層CFが形成されている。そして、このような構造が、封止樹脂層36を介して第2基板42に貼り合わされている。図24中の参照番号に関しては、実施例1において説明する。
【0003】
発光素子ユニット(1画素)は、通常、赤色光を発光する赤色光発光素子12R、緑色光を発光する緑色光発光素子12G、及び、青色光を発光する青色光発光素子12Bの3つの発光素子(副画素)から構成されている。輝度を高めるために、これに加えて、白色光を発光する白色光発光素子を加える構成もある。また、精細度を高めるために、或る色を発光する発光素子の数を他の色を発光する発光素子に比べて間引く、所謂、ペンタイル(Pen Tile)型のような配置も周知である(例えば、特開2013-187187号公報参照)。
【0004】
そして、1つの発光素子に対して、1つの駆動回路が設けられている。図25A及び図26Aには、デルタ配列及びストライプ配列を有する発光素子ユニットにおける発光素子の配列を示す。また、図25B及び図26Bには、1つの発光素子12R,12G,12Bに対して設けられた1つの駆動回路DC
R
,DC
G
,DC
B
を図示する。発光素子12R,12G,12Bと駆動回路DC
R
,DC
G
,DC
B
とは、図示しないコンタクトホール及び配線層によって接続されている。図25A及び図26Aには、4×2個(8組)の発光素子ユニット(画素)を図示しているし、図25B及び図26Bには、4×2個(8組)の駆動回路を図示している。
【先行技術文献】
【特許文献】
【0005】
特開2013-187187号公報
【発明の概要】
【発明が解決しようとする課題】
【0006】
ところで、このような構造を有する有機EL表示装置の精細度を高めるために画素ピッチを小さくする場合、発光素子の形成ピッチ、及び、駆動回路の形成ピッチの両方を小さくする必要がある。駆動回路の形成ピッチを小さくするためには、駆動回路を構成するトランジスタや容量、配線等のデザインシュリンクを行う必要がある。然るに、有機EL表示装置では比較的高電圧が必要なこととも相まって、駆動回路の形成ピッチを小さくすることは、屡々、困難である。
【0007】
従って、本開示の目的は、簡素な構成、構造で精細度を高めることができる表示装置を提供することにある。
【課題を解決するための手段】
【0008】
上記の目的を達成するための本開示の表示装置は、複数の発光素子群が、第1の方向、及び、第1の方向とは異なる第2の方向に配列された表示装置であって、
各発光素子群は、複数の発光素子ユニットから構成されており、
各発光素子ユニットは、第1の色を出射する1つの第1発光素子、第2の色を出射する1つの第2発光素子、及び、第3の色を出射する1つの第3発光素子から構成されており、
各発光素子群は、第1発光素子を駆動する第1駆動回路、第2発光素子を駆動する第2駆動回路、及び、第3発光素子を駆動する第3駆動回路を備えており、
各発光素子群において、第1駆動回路の数は第1発光素子の数と等しく、第2駆動回路の数は第2発光素子の数よりも少なく、第3駆動回路の数は第3発光素子の数よりも少ない。
【図面の簡単な説明】
【0009】
図1A、図1B及び図1Cは、それぞれ、実施例1の表示装置における発光素子群の模式的な部分的平面図、駆動回路の配置を模式的に示す図、及び、駆動回路及び信号線の配置を模式的に示す図である。
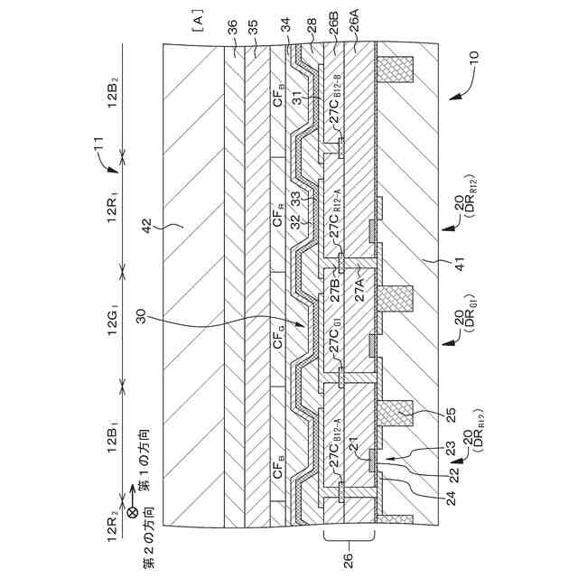
図2は、実施例1の表示装置の模式的な一部断面図である。
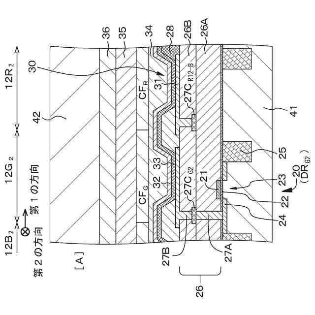
図3は、図2に示す表示装置の[A]で示す部分に繋がった、実施例1の表示装置の模式的な一部断面図である。
図4Aは、実施例2の表示装置における発光素子群の模式的な部分的平面図であり、図4B及び図4Cは、駆動回路の配置を模式的に示す図である。
図5は、実施例2の表示装置における駆動回路及び信号線の配置を模式的に示す図である。
図6A及び図6Bは、実施例2の表示装置における駆動回路及び信号線の配置を模式的に示す図である。
図7Aは、実施例3の表示装置における発光素子群の模式的な部分的平面図であり、図7B、図7C及び図7Dは、駆動回路の配置を模式的に示す図である。
図8A及び図8Bは、それぞれ、実施例4の表示装置における発光素子群の模式的な部分的平面図、及び、駆動回路の配置を模式的に示す図である。
図9A及び図9Bは、それぞれ、実施例5の表示装置における発光素子群の模式的な部分的平面図、及び、駆動回路の配置を模式的に示す図である。
図10A及び図10Bは、それぞれ、実施例5の表示装置の変形例における発光素子群の模式的な部分的平面図、及び、駆動回路の配置を模式的に示す図である。
図11は、実施例1の表示装置の変形例-1の模式的な一部断面図である。
図12は、実施例1の表示装置の変形例-2の模式的な一部断面図である。
図13は、実施例1の表示装置の変形例-3の模式的な一部断面図である。
図14は、実施例1の表示装置の変形例-4の模式的な一部断面図である。
図15は、実施例6の頭部装着型ディスプレイを構成する画像表示装置の概念図である。
図16は、実施例6の頭部装着型ディスプレイを上方から眺めた模式図である。
図17は、実施例6の頭部装着型ディスプレイを正面から眺めた模式図である。
図18A及び図18Bは、それぞれ、実施例6の頭部装着型ディスプレイを側方から眺めた模式図、及び、実施例5の頭部装着型ディスプレイにおける反射型体積ホログラム回折格子の一部を拡大して示す模式的な断面図である。
図19A及び図19Bは、本開示の表示装置をレンズ交換式一眼レフレックスタイプのデジタルスチルカメラに適用した例を示し、デジタルスチルカメラの正面図を図19Aに、背面図を図19Bに示す。
図20は、本開示の表示装置の全体の回路構成を示すブロック図である。
図21は、図20に示す表示装置に含まれる発光素子及び駆動回路の等価回路図である。
図22は、図21に示した発光素子及び駆動回路の動作説明に供するタイミングチャートである。
図23は、階調平均を説明するための図である。
図24は、従来の表示装置の模式的な一部断面図である。
図25A及び図25Bは、それぞれ、従来の表示装置における発光素子群の模式的な部分的平面図、及び、駆動回路の配置を模式的に示す図である。
図26A及び図26Bは、それぞれ、従来の表示装置における発光素子群の模式的な部分的平面図、及び、駆動回路の配置を模式的に示す図である。
図27A及び図27Bは、共振器構造を有する第1例及び第2例の発光素子の概念図である。
図28A及び図28Bは、共振器構造を有する第3例及び第4例の発光素子の概念図である。
図29A及び図29Bは、共振器構造を有する第5例及び第6例の発光素子の概念図である。
図30Aは、共振器構造を有する第7例の発光素子の概念図であり、図30B及び図30Cは、共振器構造を有する第8例の発光素子の概念図である。
【発明を実施するための形態】
【0010】
以下、図面を参照して、実施例に基づき本開示を説明するが、本開示は実施例に限定されるものではなく、実施例における種々の数値や材料は例示である。尚、説明は、以下の順序で行う。
1.本開示の表示装置、全般に関する説明
2.実施例1(本開示の表示装置、第1の形態の表示装置)
3.実施例2(実施例1の変形、第2の形態の表示装置)
4.実施例3(実施例1の別の変形)
5.実施例4(実施例1の更に別の変形)
6.実施例5(実施例1及び実施例2の変形)
7.その他
(【0011】以降は省略されています)
この特許をJ-PlatPat(特許庁公式サイト)で参照する
関連特許
個人
積和演算用集積回路
12日前
サンケン電気株式会社
半導体装置
11日前
日機装株式会社
半導体発光装置
6日前
旭化成株式会社
発光素子
21日前
エイブリック株式会社
縦型ホール素子
1か月前
エイブリック株式会社
縦型ホール素子
1か月前
ローム株式会社
抵抗チップ
26日前
富士通株式会社
半導体装置
1か月前
三菱電機株式会社
半導体装置
20日前
株式会社半導体エネルギー研究所
表示装置
1か月前
富士電機株式会社
半導体装置
1か月前
三菱電機株式会社
半導体装置
1か月前
日亜化学工業株式会社
発光装置
1か月前
日亜化学工業株式会社
発光装置
21日前
TDK株式会社
圧電素子
1か月前
日亜化学工業株式会社
発光素子
1か月前
ローム株式会社
半導体集積回路
20日前
株式会社半導体エネルギー研究所
発光デバイス
19日前
株式会社半導体エネルギー研究所
発光デバイス
6日前
富士電機株式会社
半導体装置の製造方法
1か月前
ローム株式会社
半導体装置
25日前
ローム株式会社
半導体装置
27日前
ローム株式会社
窒化物半導体装置
26日前
ローム株式会社
半導体装置
11日前
ローム株式会社
窒化物半導体装置
1か月前
株式会社カネカ
太陽電池モジュール
1か月前
大日本印刷株式会社
太陽電池
28日前
日亜化学工業株式会社
発光素子
11日前
サンケン電気株式会社
発光装置
1か月前
株式会社MARUWA
発光装置及び照明器具
1か月前
日本電気株式会社
超伝導量子回路装置
1か月前
今泉工業株式会社
光発電装置及びその製造方法
25日前
日亜化学工業株式会社
発光素子
11日前
日亜化学工業株式会社
発光装置
13日前
ローム株式会社
光センサ
1か月前
日亜化学工業株式会社
発光装置
20日前
続きを見る
他の特許を見る