TOP
|
特許
|
意匠
|
商標
特許ウォッチ
Twitter
他の特許を見る
公開番号
2025164422
公報種別
公開特許公報(A)
公開日
2025-10-30
出願番号
2024068395
出願日
2024-04-19
発明の名称
養殖対象の育成方法及び養殖対象の育成管理用システム
出願人
マルハニチロ株式会社
代理人
弁理士法人平木国際特許事務所
主分類
A01K
61/90 20170101AFI20251023BHJP(農業;林業;畜産;狩猟;捕獲;漁業)
要約
【課題】生簀又は水槽内の養殖対象について、その育成環境を適切に保つことが可能な、養殖対象の育成方法を提供する。
【解決手段】生簀又は水槽内の養殖対象の動態を音波装置を用いて経時的に観察し、養殖対象の育成環境を管理する。
【選択図】図3
特許請求の範囲
【請求項1】
生簀又は水槽内の養殖対象の動態を音波装置を用いて経時的に観察すること、及び養殖対象の育成環境を管理することを含む、養殖対象の育成方法。
続きを表示(約 560 文字)
【請求項2】
前記音波装置がイメージングソナーである、請求項1に記載の方法。
【請求項3】
前記イメージングソナーの画像の差分から個体の行動を数値化することを含む、請求項2に記載の方法。
【請求項4】
水中カメラにより経時的に生簀又は水槽内を撮影することをさらに含む、請求項1に記載の方法。
【請求項5】
養殖対象の平均遊泳速度、遊泳速度分布、平均体重及び体重分布のうち少なくとも1つを測定することを含む、請求項1に記載の方法。
【請求項6】
養殖対象の平均遊泳深度又は遊泳深度分布を測定することを含む、請求項1に記載の方法。
【請求項7】
養殖対象の異常遊泳の頻度を測定することを含む、請求項2に記載の方法。
【請求項8】
生簀又は水槽内に音波を出力し、前記音波の反射波を検知することにより、前記生簀又は水槽内の養殖対象の分布状態及び/又は遊泳状態のデータを取得する音波装置;及び
前記分布状態及び/又は遊泳状態のデータに基づいて、養殖対象の平均遊泳速度、平均体重、平均遊泳深度、異常遊泳の頻度、遊泳深度分布及び遊泳速度分布のうち少なくとも1つを算出する計算部;
を備える、養殖対象の育成管理用システム。
発明の詳細な説明
【技術分野】
【0001】
本発明は、音波装置を用いて水中の養殖対象の動態を観察する養殖対象の育成方法、及び養殖対象の育成管理用システムに関する。
続きを表示(約 2,300 文字)
【背景技術】
【0002】
特許文献1には、カメラ又はソナーで観察した生簀内の水中生物群の画像より、飼育対象のサイズを算出する方法が開示されている。特許文献2には、養殖生簀において、水中カメラを用いて内部の水棲生物の運動に起因する画像変化量を算出し、画像変化量に基づく養殖魚類の摂餌活性を評価することにより、給餌機を制御する、給餌方法が開示されている。
【先行技術文献】
【特許文献】
【0003】
特開2020-21477号公報
特開2023-1108号公報
【発明の概要】
【発明が解決しようとする課題】
【0004】
本発明は、生簀又は水槽内の養殖対象について、その育成環境を適切に保つことが可能な、養殖対象の育成方法、及び養殖対象の育成管理用システムを提供することを目的とする。
【課題を解決するための手段】
【0005】
本発明は、以下を提供する。
[1]生簀又は水槽内の養殖対象の動態を音波装置を用いて経時的に観察すること、及び養殖対象の育成環境を管理することを含む、養殖対象の育成方法。
[2]前記音波装置がイメージングソナーである、[1]に記載の方法。
[3]前記イメージングソナーの画像の差分から個体の行動を数値化することを含む、[2]に記載の方法。
[4]水中カメラにより生簀又は水槽内を経時的に撮影することをさらに含む、[1]~[3]のいずれかに記載の方法。
[5]養殖対象の平均遊泳速度、遊泳速度分布、平均体重及び体重分布のうち少なくとも1つを測定することを含む、[1]~[4]のいずれかに記載の方法。
[6]養殖対象の平均遊泳深度又は遊泳深度分布を測定することを含む、[1]~[4]のいずれかに記載の方法。
[7]養殖対象の異常遊泳の頻度を測定することを含む、[2]~[4]のいずれかに記載の方法。
[8]生簀又は水槽内に音波を出力し、前記音波の反射波を検知することにより、前記生簀又は水槽内の養殖対象の分布状態及び/又は遊泳状態のデータを取得する音波装置;及び
前記分布状態及び/又は遊泳状態のデータに基づいて、養殖対象の平均遊泳速度、平均体重、平均遊泳深度、異常遊泳の頻度、遊泳深度分布及び遊泳速度分布のうち少なくとも1つを算出する計算部;
を備える、養殖対象の育成管理用システム。
【発明の効果】
【0006】
本発明によれば、生簀又は水槽内の養殖対象について、その動態を把握することで、育成環境を適切に保つことが可能である。
【図面の簡単な説明】
【0007】
ブリの生簀上部にイメージングソナーを取り付けた際のイメージングソナー画像の一例である。Aは、生簀へのイメージングソナーの設置状態と、探知様式を示す概略図である。Bは、実際に生簀内のブリの魚影を探知した画像データである。
ブリの養殖生簀における、PIVの原理を示す画像である。Aは、イメージングソナー中の格子点及び相関係数マップの位置を示す図である。Bは、Aの相関係数マップの拡大図である。
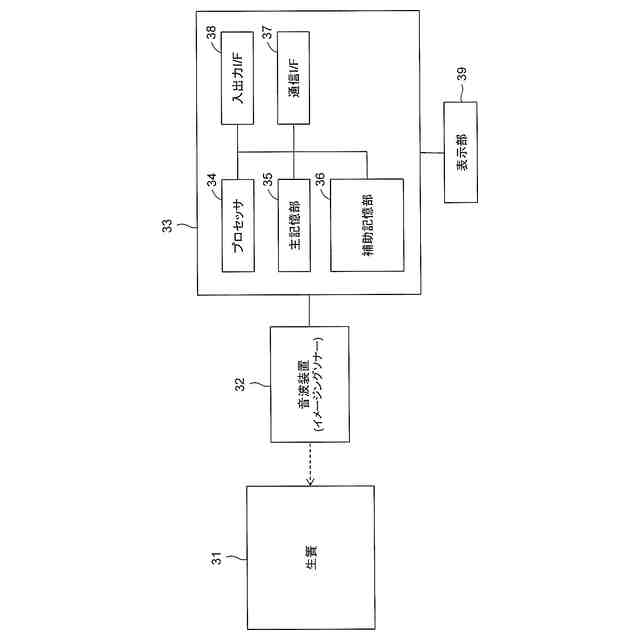
本発明のシステムの一例の全体構成のブロック図である。
雄区、雌区及び混合区の養殖ブリの5月下旬時点の平均魚体重を示すグラフである。
雄区、雌区、及び混合区におけるブリ群の深度分布を示す箱ひげ図である。Aが雄区、Bが雌区、Cが混合区を示す。縦軸はブリの生簀底面からの高さ、横軸は観察時の時刻を示す。
雄区、雌区、及び混合区におけるブリ群の速度分布を示す箱ひげ図である。Aが雄区、Bが雌区、Cが混合区を示す。縦軸はブリの遊泳速度、横軸は観察時の時刻を示す。
【発明を実施するための形態】
【0008】
1.養殖対象の育成方法
本発明の第1の実施形態は、生簀又は水槽内の養殖対象の動態を音波装置を用いて経時的に観察し、養殖対象の育成環境を管理することを含む、養殖対象の育成方法である。本実施形態の方法によれば、大規模な生簀や、浮沈式生簀のように、育成環境の規模や深度により、内部の養殖対象の状態の視認が困難な場合、水の透明性が低下している場合(例えば、クロレラ等を投与した水槽内や、餌が多く残存する生簀又は水槽内など)、薄暮・夜間のように時間帯により照度が低い場合等、視認が困難な状況であっても、養殖対象の状態を適切に把握し、管理することが可能である。また、目視よりも、より正確かつ効率よく、養殖対象の状態を管理することが可能である。
【0009】
本明細書において、「養殖対象」とは、期間の長短に関わらず、出荷前に生簀、水槽等の飼育管理条件下で給餌、育成された魚介類を指す。養殖対象の魚介類としては、特に限定されないが、例えば、ブリ属(ブリ、ハマチ、カンパチ、ヒラマサなど)、マグロ属、真鯛、スズキ、トラフグ、ヒラメ、コイ、クルマエビ、イセエビ、アワビ、サザエ、タコなどが挙げられる。
【0010】
本明細書において、「生簀」とは、内部に養殖対象の魚介類を入れて育成するために、海、河川、湖沼などの天然の水環境を、網、支柱、シート、強化プラスチック(FRP)、プラスチック類等で仕切る構造体を指す。本明細書において、「水槽」とは、陸上に設置される、内部に水を入れるための容器又は構造体であって、水棲生物を飼育するための器具又は設備を指す。本明細書において、前記養殖対象は、生簀又は水槽(陸上養殖)内で育成されるものとする。
(【0011】以降は省略されています)
この特許をJ-PlatPat(特許庁公式サイト)で参照する
関連特許
個人
産卵床
6日前
個人
釣り用錘
24日前
個人
平板植栽
7日前
個人
果実袋
6日前
個人
噴霧器ノズル
22日前
個人
養殖器具
6日前
個人
移動体草刈り機
6日前
個人
水田排水量調整器具
6日前
株式会社剛樹
釣り竿
20日前
個人
可動リップ付きルアー
27日前
積水樹脂株式会社
シート止め具
6日前
有限会社信英精密
括り罠
14日前
個人
網口高さのベクトル底引き網
6日前
井関農機株式会社
苗移植機
14日前
個人
粘着板で挟むネズミ捕り装置
6日前
株式会社中村工務店
潅水装置
7日前
三恵技研工業株式会社
ルアー
6日前
株式会社アテックス
芝草の刈取装置
13日前
個人
つる状多肉植物の製造方法
3日前
個人
自閉式「洗濯バサミ型」虫捕獲器
14日前
株式会社シマノ
釣糸ガイド
27日前
株式会社エヌエスシー
鳥害防止装置
14日前
新・産業洗浄株式会社
陸上養殖装置
6日前
株式会社クボタ
作業車
22日前
星和電機株式会社
防爆形捕虫器
6日前
株式会社クボタ
農業機械
6日前
大和ハウス工業株式会社
栽培器具
6日前
株式会社クボタ
作業車両
20日前
株式会社シマノ
エサ箱
6日前
株式会社FieldWorks
無人移動体
7日前
トーホー工業株式会社
果樹用反射板
27日前
トーホー工業株式会社
果樹用反射板
27日前
伊東電機株式会社
作業車両用アタッチメント
今日
グローブライド株式会社
リールシート
6日前
株式会社和田電業社
間伐システム及び間伐方法
今日
株式会社シマノ
魚釣用リール
27日前
続きを見る
他の特許を見る