TOP
|
特許
|
意匠
|
商標
特許ウォッチ
Twitter
他の特許を見る
公開番号
2025164324
公報種別
公開特許公報(A)
公開日
2025-10-30
出願番号
2024068192
出願日
2024-04-19
発明の名称
表面処理方法
出願人
国立大学法人東海国立大学機構
,
株式会社アールシーロゴ
代理人
弁理士法人信栄事務所
主分類
H05H
1/24 20060101AFI20251023BHJP(他に分類されない電気技術)
要約
【課題】大面積に均一かつ高速でプラズマ処理することができる表面処理方法を提供する。
【解決手段】対象物の処理対象表面から離れた位置に設けられた高密度プラズマ発生要素によって、前記処理対象表面の一部に高密度プラズマを発生させ、前記対象物を前記高密度プラズマ発生要素に対して相対的に回転または移動させることで前記処理対象表面の全体にプラズマ処理を行う。
【選択図】図1
特許請求の範囲
【請求項1】
対象物の処理対象表面から離れた位置に設けられた高密度プラズマ発生要素によって、前記処理対象表面の一部に高密度プラズマを発生させ、
前記対象物を前記高密度プラズマ発生要素に対して相対的に回転または移動させることで前記処理対象表面の全体にプラズマ処理を行う、表面処理方法。
続きを表示(約 780 文字)
【請求項2】
前記処理対象表面と前記高密度プラズマ発生要素との間の距離を一定に保ったまま前記対象物を前記高密度プラズマ発生要素に対して相対的に回転または移動させる、請求項1に記載の表面処理方法。
【請求項3】
前記対象物と前記高密度プラズマ発生要素は回転軸線回りに相対的に回転し、かつ任意に前記回転軸線に沿って相対的に移動し、
前記高密度プラズマ発生要素は前記回転軸線に沿って延びている、請求項1に記載の表面処理方法。
【請求項4】
前記対象物が円筒形状または円柱形状である、請求項1に記載の表面処理方法。
【請求項5】
前記対象物に直流電圧または高周波電圧を印加する、請求項1から請求項4のいずれか1項に記載の表面処理方法。
【請求項6】
前記高密度プラズマ発生要素は、前記処理対象表面に対向して配置された電極である、請求項1から請求項4のいずれか1項に記載の表面処理方法。
【請求項7】
前記電極と前記処理対象表面との間の距離が4mm以上8mm以下である、請求項6に記載の表面処理方法。
【請求項8】
前記電極にマイクロ波を重畳させる、請求項6に記載の表面処理方法。
【請求項9】
前記電極は、長手方向において最大の寸法を有する板状電極であり、
前記長手方向の寸法が、前記マイクロ波の波長の50%以上150%以下である、請求項8に記載の表面処理方法。
【請求項10】
前記対象物と前記高密度プラズマ発生要素に直流電圧を印加し、前記高密度プラズマ発生要素にマイクロ波を導入して前記高密度プラズマを発生させる、請求項1から請求項4のいずれか1項に記載の表面処理方法。
(【請求項11】以降は省略されています)
発明の詳細な説明
【技術分野】
【0001】
本開示は、表面処理方法に関する。
続きを表示(約 1,100 文字)
【背景技術】
【0002】
種々の材料の表面を処理するための手法として、プラズマ処理が用いられている。特許文献1は、導電性を有する被処理物と電極との間に放電を発生させ、放電によりプラズマ化した処理ガスによって被処理物の表面をプラズマ処理する方法を開示している。
【先行技術文献】
【特許文献】
【0003】
特開2007-115616号公報
【発明の概要】
【発明が解決しようとする課題】
【0004】
直流グロー放電によるプラズマ処理は処理速度が高くなく、生産性の向上の観点からはさらに処理速度の高い表面処理方法が望まれている。プラズマ処理の処理速度を高めるために、高密度プラズマを用いる方法が提案されている。しかしながら、高密度プラズマを大面積に均一に発生させることは難しく、大型の表面処理対象物に適用することが困難であった。
【0005】
本開示は、大面積に均一かつ高速でプラズマ処理することができる表面処理方法を提供することを目的とする。
【課題を解決するための手段】
【0006】
本開示の一実施形態に係る表面処理方法は、
対象物の処理対象表面から離れた位置に設けられた高密度プラズマ発生要素によって、前記処理対象表面の一部に高密度プラズマを発生させ、
前記対象物を前記高密度プラズマ発生要素に対して相対的に回転または移動させることで前記処理対象表面の全体にプラズマ処理を行う。
【発明の効果】
【0007】
本開示の表面処理方法によれば、大面積に均一かつ高速でプラズマ処理することができる。
【図面の簡単な説明】
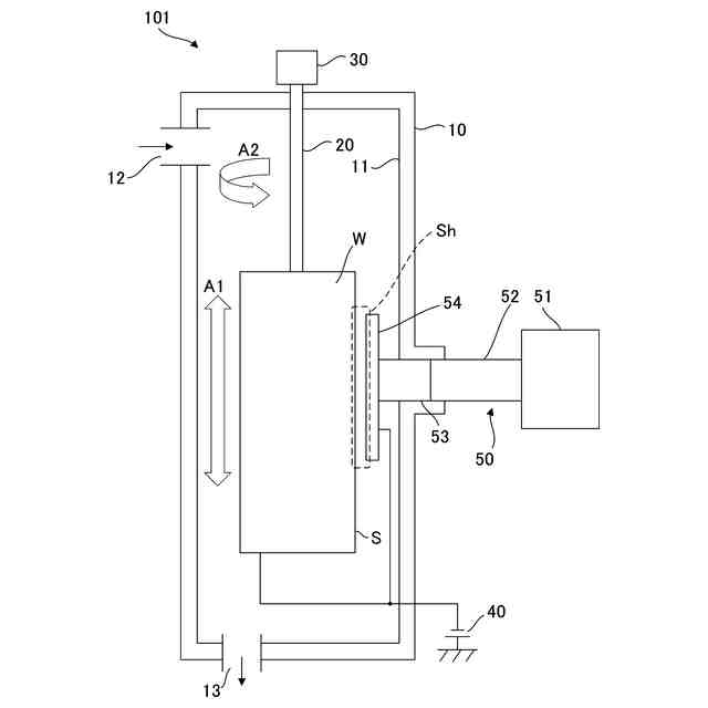
【0008】
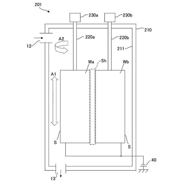
本開示の一実施形態に係る表面処理方法を実施するための表面処理装置の一例を示す概略図である。
本開示の別の実施形態に係る表面処理方法を実施するための表面処理装置の一例を示す概略図である。
【発明を実施するための形態】
【0009】
以下、本開示の表面処理方法の具体的な実施形態について図面を参照しつつ説明する。
【0010】
[表面処理装置]
まず、本開示の表面処理方法を実施するための表面処理装置の構成について説明する。図1は、本開示の表面処理方法を実施するための装置の一例である表面処理装置101の概略図である。図1に示すように、表面処理装置101は、チャンバー10と、固定棒20と、移動機構30と、バイアス電源40と、マイクロ波導入要素50と、を備える。図1には、表面処理の対象物Wがチャンバー10の内部に配置されている状態が示されている。
(【0011】以降は省略されています)
この特許をJ-PlatPat(特許庁公式サイト)で参照する
関連特許
個人
電子部品の実装方法
1か月前
個人
電気式バーナー
1か月前
個人
非衝突型ガウス加速器
3か月前
日本精機株式会社
回路基板
2か月前
愛知電機株式会社
装柱金具
1か月前
日星電気株式会社
面状ヒータ
8日前
キヤノン株式会社
電子機器
2か月前
アイホン株式会社
電気機器
3か月前
イビデン株式会社
配線基板
1か月前
個人
節電材料
3か月前
日本放送協会
基板固定装置
2か月前
アイホン株式会社
電気機器
2か月前
メクテック株式会社
配線基板
2か月前
個人
静電気中和除去装置
23日前
東レ株式会社
霧化状活性液体供給装置
2か月前
FDK株式会社
基板
1か月前
株式会社デンソー
電子装置
16日前
サクサ株式会社
開き角度規制構造
1か月前
イビデン株式会社
プリント配線板
2か月前
シャープ株式会社
加熱機器
29日前
イビデン株式会社
配線基板
3か月前
株式会社レクザム
剥離装置
1か月前
サクサ株式会社
筐体の壁掛け構造
2か月前
イビデン株式会社
配線基板
2か月前
株式会社デンソー
電子装置
1か月前
富士フイルム株式会社
積層体
1か月前
日産自動車株式会社
電子機器
2日前
新電元工業株式会社
電子装置
2か月前
オムロン株式会社
端子折り曲げ治具
1か月前
株式会社レゾナック
冷却装置
1か月前
日産自動車株式会社
電子部品
2か月前
タイガー魔法瓶株式会社
加熱器
2か月前
富士電子工業株式会社
誘導加熱コイル
1か月前
日本無線株式会社
電子機器用密閉構造
2か月前
株式会社デンソー
電子制御装置
15日前
日本特殊陶業株式会社
配線基板
2か月前
続きを見る
他の特許を見る