TOP
|
特許
|
意匠
|
商標
特許ウォッチ
Twitter
他の特許を見る
10個以上の画像は省略されています。
公開番号
2025163956
公報種別
公開特許公報(A)
公開日
2025-10-30
出願番号
2024067629
出願日
2024-04-18
発明の名称
棚システム、制御装置、棚段の制御方法、及びプログラム
出願人
日本電気株式会社
代理人
個人
主分類
G06Q
30/0601 20230101AFI20251023BHJP(計算;計数)
要約
【課題】物品棚からの物品の出し入れをしやすくするとともに、多くの物品を物品棚に載置できるようにする。
【解決手段】棚システムは、物品棚及び制御装置を備える。物品棚は、複数の棚段を有している。複数の棚段は、上下に複数並んでいるとともに、奥行方向にも少なくとも2列に並んでおり、移動可能である。制御装置は、物品棚の前にいる人が選択した棚段である対象棚を示す棚選択情報を取得する取得手段と、対象棚を所定の高さに移動させる制御手段と、を備える。
【選択図】図1
特許請求の範囲
【請求項1】
上下に複数並んでいるとともに、奥行方向にも少なくとも2列に並んでおり、移動可能な複数の棚段を有する物品棚と、
前記物品棚の位置を制御する制御装置と、
を備え、
前記制御装置は、
前記物品棚の前にいる人が選択した棚段である対象棚を示す棚選択情報を取得する取得手段と、
前記対象棚を所定の高さに移動させる制御手段と、
を備える棚システム。
続きを表示(約 1,600 文字)
【請求項2】
請求項1に記載の棚システムにおいて、
前記制御装置は、前記人の視線を示す視線情報を用いて前記棚選択情報を生成する選択情報生成手段を備える、棚システム。
【請求項3】
請求項2に記載の棚システムにおいて、
前記取得手段は、前記人の位置の変化を特定可能な位置情報を取得し、
前記制御手段は、前記人の位置の変化が基準を満たすときに、前記対象棚を所定の高さに移動させる、棚システム。
【請求項4】
請求項1~3のいずれか一項に記載の棚システムにおいて、
前記物品棚は店舗の中に配置され、
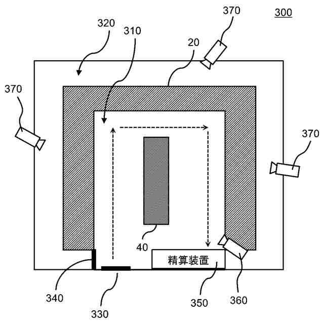
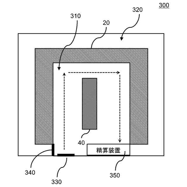
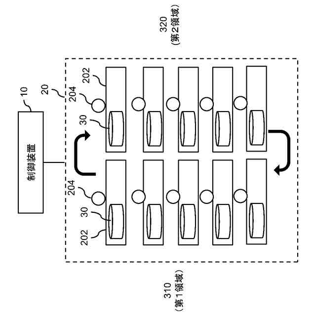
奥行方向において最も前方の前記棚段の列である最前列は、前記店舗の顧客が移動する第1領域に対向し、
奥行方向において最も後方の前記棚段の列である最後列は、店員が前記棚段に物品を補充するための第2領域に対向し、
前記制御手段は、
前記棚選択情報が、前記第1領域に存在する人に対応する第1の前記棚選択情報である場合、前記対象棚を、前記最前列の所定の高さに移動し、
前記棚選択情報が、前記第2領域に存在する人に対応する第2の前記棚選択情報である場合、前記対象棚を、前記最後列の所定の高さに移動する、棚システム。
【請求項5】
請求項4に記載の棚システムにおいて、
前記取得手段は、前記第1領域のうち前記最前列を基準に定められた所定の範囲に人がいるか否かを特定可能な第1人存在情報を取得し、
前記制御手段は、少なくとも、前記第1人存在情報が人がいないことを示している場合に、前記第2の棚選択情報に基づいて前記対象棚を所定の高さに移動させる、棚システム。
【請求項6】
請求項4に記載の棚システムにおいて、
前記第1領域と前記最前列の間には扉があり、
前記制御手段は、少なくとも、前記扉が開いていない場合に、前記第2の棚選択情報に基づいて前記対象棚を所定の高さに移動させる、棚システム。
【請求項7】
請求項1~3のいずれか一項に記載の棚システムにおいて、
前記物品棚は店舗の中に配置され、
前記複数の棚段の少なくとも2つには、互いに同一の第1物品が載せられ、
前記制御手段は、前記第1物品を載せる前記棚段の一つが前記対象棚であり、かつ、当該対象棚に前記第1物品が載せられていない場合、前記対象棚を、前記第1物品が載せられている他の前記棚段に変更する、棚システム。
【請求項8】
移動可能な複数の棚段を有する物品棚と共に使用される制御装置であって、
前記複数の棚段は、上下に複数並んでいるとともに、奥行方向にも少なくとも2列に並んでおり、
前記物品棚の前にいる人が選択した棚段である対象棚を示す棚選択情報を取得する取得手段と、
前記対象棚を所定の高さに移動させる制御手段と、
を備える制御装置。
【請求項9】
移動可能な複数の棚段を有する物品棚と共に使用されるコンピュータが行う棚段の制御方法であって、
前記複数の棚段は、上下に複数並んでいるとともに、奥行方向にも少なくとも2列に並んでおり、
前記コンピュータは、
前記物品棚の前にいる人が選択した棚段である対象棚を示す棚選択情報を取得し、
前記対象棚を所定の高さに移動させる、棚段の制御方法。
【請求項10】
コンピュータに、移動可能な複数の棚段を制御させるためのプログラムであって、
前記複数の棚段は、物品棚の一部であり、上下に複数並んでいるとともに、奥行方向にも少なくとも2列に並んでおり、
前記コンピュータに、
前記物品棚の前にいる人が選択した棚段である対象棚を示す棚選択情報を取得する取得手段と、
前記対象棚を所定の高さに移動させる、制御手段と、
を持たせるプログラム。
発明の詳細な説明
【技術分野】
【0001】
本発明は、棚システム、制御装置、棚段の制御方法、及びプログラムに関する。
続きを表示(約 1,600 文字)
【背景技術】
【0002】
例えば店舗や倉庫には、物品を載置するための棚が設置されている。この棚は、高さが互いに異なる複数の棚段を有している。例えば特許文献1には、店舗において、客がある商品を所定の時間注視していることが検出された場合に、その客の身長に関する情報を参照して、注視されている商品を載せる棚板の高さを決定し、その高さにその棚板を移動させることが記載されている。
【先行技術文献】
【特許文献】
【0003】
特開2023-129659号公報
【発明の概要】
【発明が解決しようとする課題】
【0004】
物品棚には、物品の出し入れをしやすくするとともに、多くの物品を載置できるようにすることが求められる。特許文献1に記載の技術では、多くの物品を棚に載置することは難しい。
【課題を解決するための手段】
【0005】
本開示における棚システムは、
上下に複数並んでいるとともに、奥行方向にも少なくとも2列に並んでおり、移動可能な複数の棚段を有する物品棚と、
物品棚の位置を制御する制御装置と、
を備え、
制御装置は、
前記物品棚の前にいる人が選択した棚段である対象棚を示す棚選択情報を取得する取得手段と、
前記対象棚を所定の高さに移動させる制御手段と、
を備える。
【0006】
本開示における制御装置は、移動可能な複数の棚段を有する物品棚と共に使用され、
前記複数の棚段は、上下に複数並んでいるとともに、奥行方向にも少なくとも2列に並んでおり、
前記物品棚の前にいる人が選択した棚段である対象棚を示す棚選択情報を取得する取得手段と、
前記対象棚を所定の高さに移動させる制御手段と、
を備える。
【0007】
本開示における棚段の制御方法は、移動可能な複数の棚段を有する物品棚と共に使用されるコンピュータが行う棚段の制御方法であって、
前記複数の棚段は、上下に複数並んでいるとともに、奥行方向にも少なくとも2列に並んでおり、
前記コンピュータは、
前記物品棚の前にいる人が選択した棚段である対象棚を示す棚選択情報を取得し、
前記対象棚を所定の高さに移動させる。
【0008】
本開示におけるプログラムは、コンピュータに、移動可能な複数の棚段を制御させるためのプログラムであって、
前記複数の棚段は、物品棚の一部であり、上下に複数並んでいるとともに、奥行方向にも少なくとも2列に並んでおり、
前記コンピュータに、
前記物品棚の前にいる人が選択した棚段である対象棚を示す棚選択情報を取得する取得手段と、
前記対象棚を所定の高さに移動させる、制御手段と、
を持たせる。
【発明の効果】
【0009】
本開示によれば、物品棚に多くの物品を載置でき、かつ、物品棚から物品を出し入れしやすくなる。
【図面の簡単な説明】
【0010】
本開示にかかる棚システムの構成の一例を示す図である。
本開示にかかる店舗のレイアウトの一例を示す図である。
本開示にかかる制御装置の機能構成の一例を示す図である。
本開示にかかる制御装置の機能構成の一例を示す図である。
本開示にかかる制御装置のハードウェア構成の一例を示す図である。
本開示にかかる制御装置が行う処理の一例を示すフローチャートである。
本開示にかかる棚システムの構成の一例を示す図である。
本開示にかかる店舗のレイアウトの一例を示す図である。
本開示にかかる棚システムの構成の一例を示す図である。
【発明を実施するための形態】
(【0011】以降は省略されています)
この特許をJ-PlatPat(特許庁公式サイト)で参照する
関連特許
日本電気株式会社
監視装置
21日前
日本電気株式会社
監視装置
21日前
日本電気株式会社
管理装置
21日前
日本電気株式会社
異常検知装置
13日前
日本電気株式会社
海底分岐装置
22日前
日本電気株式会社
光モジュール
8日前
日本電気株式会社
光集積回路素子
26日前
日本電気株式会社
レーザモジュール
27日前
日本電気株式会社
超伝導量子回路装置
27日前
日本電気株式会社
受信器および通信装置
28日前
日本電気株式会社
システム、装置及び方法
27日前
日本電気株式会社
通信装置および通信方法
1か月前
日本電気株式会社
送信装置および通信装置
1か月前
日本電気株式会社
推論装置および推論方法
今日
日本電気株式会社
光伝送システムおよび方法
29日前
日本電気株式会社
ラインカード及びイジェクタ
19日前
日本電気株式会社
分析方法および分析システム
1か月前
日本電気株式会社
制御装置、プログラム及び方法
27日前
日本電気株式会社
演算処理装置および演算処理方法
29日前
日本電気株式会社
共振器及びそれを備えた導波回路
1か月前
日本電気株式会社
兆候検知装置および兆候検知方法
29日前
日本電気株式会社
考査装置、考査方法、プログラム
1日前
日本電気株式会社
考査装置、考査方法、プログラム
1日前
日本電気株式会社
交渉装置、交渉方法及びプログラム
8日前
日本電気株式会社
推定装置、推定方法及びプログラム
27日前
日本電気株式会社
放送用システムおよび字幕作成方法
29日前
日本電気株式会社
波長可変レーザ装置及びその構成方法
1か月前
日本電気株式会社
レコメンド装置およびレコメンド方法
15日前
日本電気株式会社
情報処理装置、制御方法及び記憶媒体
27日前
日本電気株式会社
端末、端末の制御方法及びプログラム
19日前
日本電気株式会社
推定装置、推定方法、及び、記録媒体
1か月前
日本電気株式会社
画像管理システムおよび画像管理方法
1か月前
日本電気株式会社
ソーナー装置、通信方法、プログラム
29日前
日本電気株式会社
通信装置、通信方法及び通信プログラム
1か月前
日本電気株式会社
学習装置、学習方法及び学習プログラム
27日前
日本電気株式会社
判別装置、判別方法、およびプログラム
29日前
続きを見る
他の特許を見る