TOP
|
特許
|
意匠
|
商標
特許ウォッチ
Twitter
他の特許を見る
10個以上の画像は省略されています。
公開番号
2025163837
公報種別
公開特許公報(A)
公開日
2025-10-30
出願番号
2024067399
出願日
2024-04-18
発明の名称
車両下部構造
出願人
トヨタ自動車株式会社
代理人
弁理士法人深見特許事務所
主分類
B60K
1/04 20190101AFI20251023BHJP(車両一般)
要約
【課題】車両下部構造における蓄電装置の耐久性を向上させる。
【解決手段】車両下部構造1は、一対のサイドメンバ11と、延出部材15と、蓄電装置20と、被支持部材30とを備えている。延出部材15は、一対のサイドメンバ11の間において一対のサイドメンバ11の少なくとも一方から延出している。蓄電装置20は、一対のサイドメンバ11に固定されている。蓄電装置20は、延出部材15の下方に配置されている。被支持部材30は、蓄電装置20の上部に固定されるとともに、延出部材15によって支持されている。蓄電装置20は、固定部分25を含んでいる。固定部分25は、被支持部材30が固定されていることで下方への変位が抑制されている。被支持部材30は、固定部分25が上方に変位可能に構成されている。
【選択図】図5
特許請求の範囲
【請求項1】
一対のサイドメンバと、
前記一対のサイドメンバの間において前記一対のサイドメンバの少なくとも一方から延出する延出部材と、
前記一対のサイドメンバに固定され、かつ、前記延出部材の下方に配置された、蓄電装置と、
前記蓄電装置の上部に固定されるとともに、前記延出部材によって支持される、被支持部材とを備え、
前記蓄電装置は、前記被支持部材が固定されていることで下方への変位が抑制された固定部分を含み、
前記被支持部材は、前記固定部分が上方に変位可能に構成されている、車両下部構造。
続きを表示(約 690 文字)
【請求項2】
前記被支持部材は、
前記固定部分から上方に向かって延びる柱部と、
該柱部から略水平方向に延びる片持ち梁部とを有し、
前記片持ち梁部は、前記延出部材によって下方から支持されている、請求項1に記載の車両下部構造。
【請求項3】
前記被支持部材は、前記片持ち梁部と前記延出部材との間に配置されたクッション部材をさらに有している、請求項2に記載の車両下部構造。
【請求項4】
前記延出部材は、前記一対のサイドメンバのうちの一方のサイドメンバから他方のサイドメンバまで延びるクロスメンバである、請求項1から請求項3のいずれか1項に記載の車両下部構造。
【請求項5】
前記延出部材は、前記一対のサイドメンバのうちの一方のサイドメンバから延出し、かつ、他方のサイドメンバからは離隔しており、
前記柱部は、前記延出部材と車幅方向において並んでおり、
前記片持ち梁部は、前記延出部材の上面に沿って延びている、請求項2または請求項3のいずれか1項に記載の車両下部構造。
【請求項6】
前記被支持部材は、その長さが変化可能に構成された伸縮部を有しており、
前記固定部分は、前記被支持部材により、前記延出部材から吊り下げられている、請求項1に記載の車両下部構造。
【請求項7】
前記被支持部材は、弾性部材で構成されており、
前記被支持部材は、上下方向において前記固定部分と前記延出部材との間に挟み込まれている、請求項1に記載の車両下部構造。
発明の詳細な説明
【技術分野】
【0001】
本開示は、車両下部構造に関する。
続きを表示(約 1,300 文字)
【背景技術】
【0002】
特開2020-142589号公報(特許文献1)には、フロアパネルの下方側に、電池パックが配設されていることが開示されている。
【先行技術文献】
【特許文献】
【0003】
特開2020-142589号公報
【発明の概要】
【発明が解決しようとする課題】
【0004】
車両下部構造において、蓄電装置の上方に位置する部材に、蓄電装置が固定される場合がある。これにより、蓄電装置がその重みによって下方へ撓むように変形することを抑制できる。しかしながら、上記部材によって、蓄電装置が上方に向けて撓むことが阻害される。これにより、たとえば、当該車両下部構造を備える車両が走行した際に振動によって蓄電装置に生じた応力を、撓みにより逃がすことが阻害される。このように、従来の車両下部構造における蓄電装置は、耐久力が低かった。
【0005】
本開示は上記の課題に鑑みてなされたものであり、車両下部構造における蓄電装置の耐久性を向上できる、車両下部構造を提供することを目的とする。
【課題を解決するための手段】
【0006】
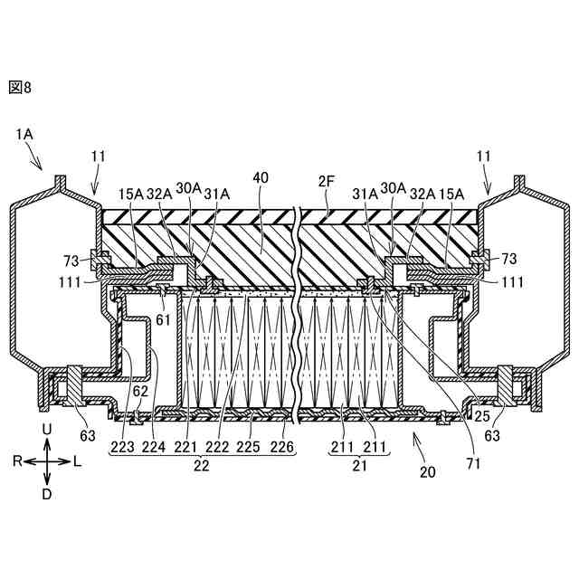
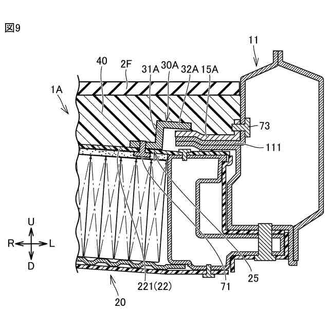
本開示のある局面に従う車両下部構造は、一対のサイドメンバと、延出部材と、蓄電装置と、被支持部材とを備えている。延出部材は、一対のサイドメンバの間において一対のサイドメンバの少なくとも一方から延出している。蓄電装置は、一対のサイドメンバに固定されている。蓄電装置は、延出部材の下方に配置されている。被支持部材は、蓄電装置の上部に固定されるとともに、延出部材によって支持されている。蓄電装置は、固定部分を含んでいる。固定部分は、被支持部材が固定されていることで下方への変位が抑制されている。被支持部材は、固定部分が上方に変位可能に構成されている。
【0007】
本開示のある局面に従う車両下部構造において、好ましくは、被支持部材が、柱部と、片持ち梁部とを有している。柱部は、固定部分から上方に向かって延びている。片持ち梁部は、柱部から略水平方向に延びている。片持ち梁部は、延出部材によって下方から支持されている。
【0008】
本開示のある局面に従う車両下部構造において、好ましくは、被支持部材が、片持ち梁部と延出部材との間に配置されたクッション部材をさらに有していてもよい。
【0009】
本開示のある局面に従う車両下部構造において、好ましくは、延出部材が、一対のサイドメンバのうちの一方のサイドメンバから他方のサイドメンバまで延びるクロスメンバである。
【0010】
本開示のある局面に従う車両下部構造において、好ましくは、延出部材が、一対のサイドメンバのうちの一方のサイドメンバから延出し、かつ、他方のサイドメンバからは離隔している。柱部は、延出部材と車幅方向において並んでいる。片持ち梁部は、延出部材の上面に沿って延びている。
(【0011】以降は省略されています)
この特許をJ-PlatPat(特許庁公式サイト)で参照する
関連特許
株式会社デンソー
走行軌道計画システム
1日前
個人
上部一体型自動車
1か月前
個人
空間形成装置
8日前
日本精機株式会社
照明装置
3日前
個人
マスタシリンダ
1か月前
個人
常設収納型サンバイザー
14日前
株式会社豊田自動織機
産業車両
3日前
日本精機株式会社
車載表示装置
16日前
日本精機株式会社
車載表示装置
1か月前
個人
回転窓ワイパー装置
8日前
日本精機株式会社
車載表示装置
9日前
日本精機株式会社
画像投映装置
1か月前
日本精機株式会社
車載表示装置
11日前
株式会社ニフコ
収納装置
1か月前
井関農機株式会社
作業車両
1か月前
株式会社SUBARU
車両
29日前
日本精機株式会社
車両用投影装置
1か月前
日本精機株式会社
車両用報知装置
15日前
日本精機株式会社
車両用表示装置
1か月前
日本精機株式会社
車両用投射装置
1か月前
個人
音による速度計とプログラム
14日前
エムケー精工株式会社
車両処理装置
1か月前
日本化薬株式会社
ガス発生器
1か月前
日本化薬株式会社
ガス発生器
1日前
日産自動車株式会社
伝動部材
1か月前
日本化薬株式会社
ガス発生器
29日前
日本化薬株式会社
ガス発生器
1か月前
日本化薬株式会社
ガス発生器
1か月前
トヨタ自動車株式会社
電動車両
1か月前
豊田合成株式会社
乗員保護装置
29日前
株式会社SUBARU
車体構造
1か月前
極東開発工業株式会社
タンク車
21日前
株式会社アイシン
空気袋
1か月前
株式会社小糸製作所
車両用灯具
1か月前
トヨタ自動車株式会社
制御装置
2か月前
トヨタ紡織株式会社
車両
2か月前
続きを見る
他の特許を見る