TOP
|
特許
|
意匠
|
商標
特許ウォッチ
Twitter
他の特許を見る
10個以上の画像は省略されています。
公開番号
2025163591
公報種別
公開特許公報(A)
公開日
2025-10-29
出願番号
2024067017
出願日
2024-04-17
発明の名称
コネクタ及び解除用治具
出願人
SMK株式会社
代理人
弁理士法人有我国際特許事務所
主分類
H01R
4/48 20060101AFI20251022BHJP(基本的電気素子)
要約
【課題】部品点数を減らしつつ、端子の抜去力を確保でき、端子の挿抜作業を容易にする。
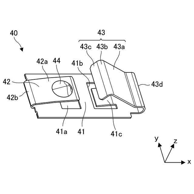
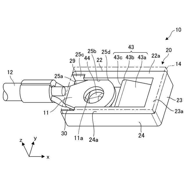
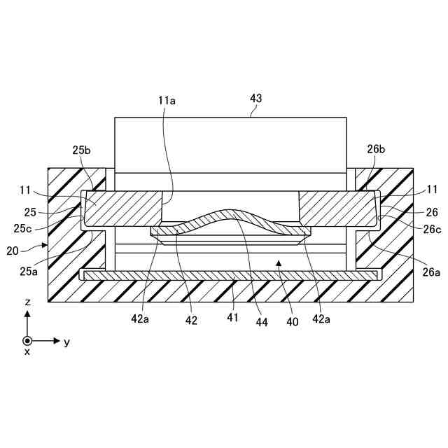
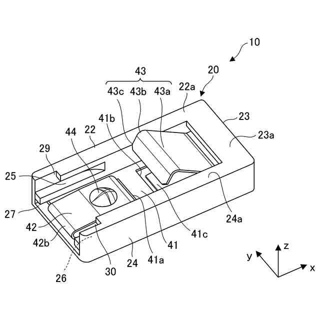
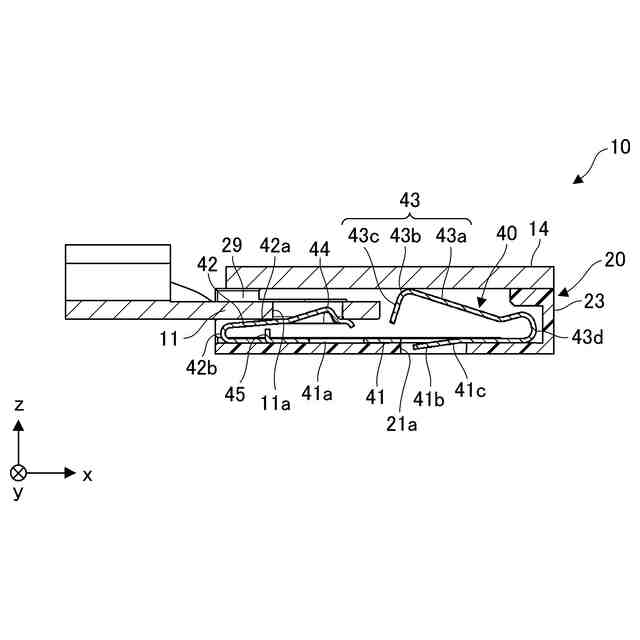
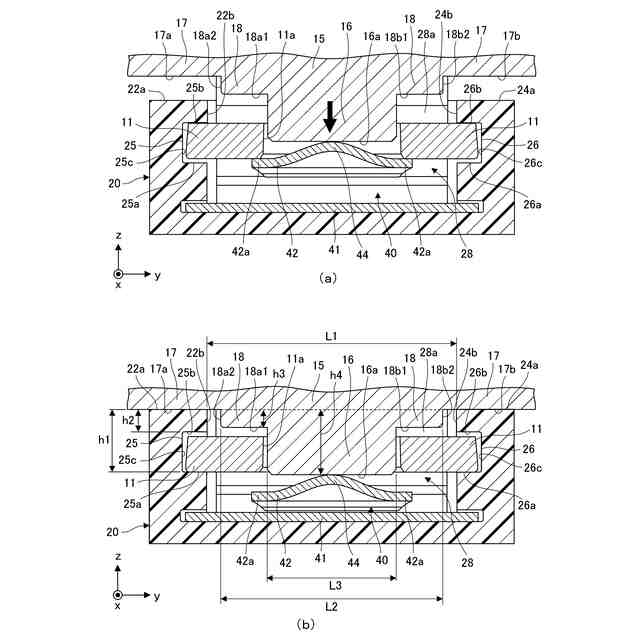
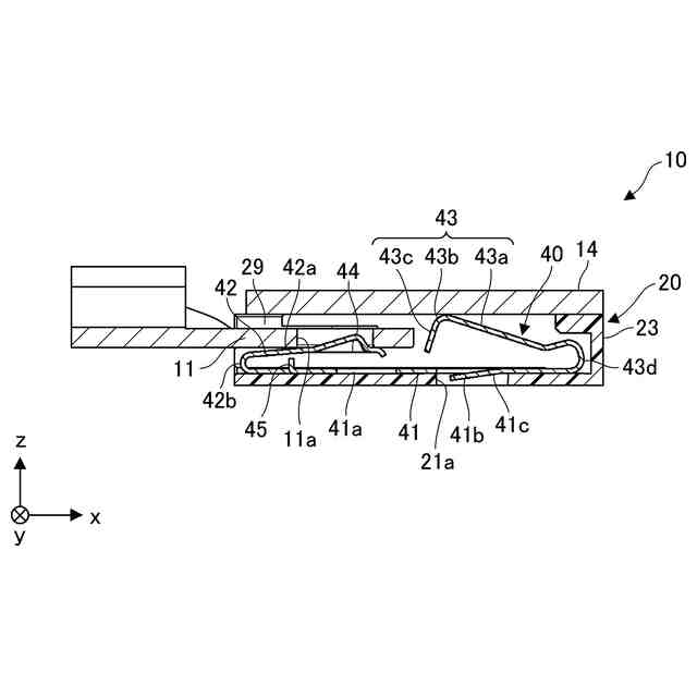
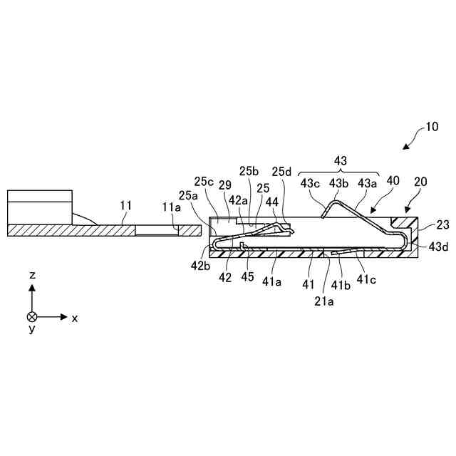
【解決手段】コネクタ110は、導電部材14と、O型圧着端子11とを電気的に接続させるコネクタであって、導電部材14及びO型圧着端子11と接触する導電性のコンタクト40と、コンタクト40を収容し、O型圧着端子11を挿抜可能な挿入口27が形成されたハウジング20と、を備え、コンタクト40は、ハウジング20の底面部21に固定される固定部41と、弾性変位可能な曲げ片部42と、導電部材14と接触する接触部43bとを有し、曲げ片部42は、ハウジング20に挿入されたO型圧着端子11を係止するとともに、押圧されることで板状部42aを変位させ、O型圧着端子11が係止された状態から解除するビード44、を有し、ハウジング20は、天井部25b、26bを有し、天井部25b、26bと、板状部42aとの間にO型圧着端子11が保持される。
【選択図】図7
特許請求の範囲
【請求項1】
導電体と、端子とを電気的に接続させるコネクタであって、
前記導電体及び前記端子と接触する導電性のコンタクトと、
前記コンタクトを収容し、前記端子を挿抜可能な開口部が形成されたケースと、を備え、
前記コンタクトは、前記ケースに固定される固定部と、少なくとも1つの弾性変位可能な弾性部と、前記導電体と接触する接触部と、を有し、
前記弾性部は、
前記ケース内に挿入された前記端子を係止する係止部と、
押圧されることで前記係止部を変位させ、前記端子が前記係止された状態から解除する被押圧部と、を有し、
前記ケースまたはコンタクトは、端子当接部を有し、
前記端子当接部と、前記弾性部との間に前記端子が保持されることを特徴とするコネクタ。
続きを表示(約 990 文字)
【請求項2】
前記係止部は、前記弾性部に形成された突起であり、前記端子に設けられた取付部と係合することで前記端子を係止可能であることを特徴とする請求項1に記載のコネクタ。
【請求項3】
前記ケースには、挿抜方向に沿って、前記端子と、前記被押圧部を押圧する解除用治具とを移動可能な空間が形成されていることを特徴とする請求項2に記載のコネクタ。
【請求項4】
前記ケースは、ガイド部を有し、
前記被押圧部を押圧したときに、前記空間において、前記係止部は、前記ガイド部の高さ以下にあることを特徴とする特徴とする請求項3に記載のコネクタ。
【請求項5】
前記被押圧部は、前記被押圧部を押圧することで前記端子が前記係止された状態から解除されることができる解除用治具、によって押圧され、
前記解除されたときには、前記解除用治具の少なくとも一部が、前記端子の取付部の内部に位置するような形状となっていることを特徴とする請求項4に記載のコネクタ。
【請求項6】
前記係止部は、被押圧部を兼ねることを特徴とする請求項5に記載のコネクタ。
【請求項7】
前記弾性部は、前記固定部の一端より延在する湾曲した湾曲部と、前記湾曲部の一端より縁部を含んで延在する延在部と、を有し、
前記係止部は、前記縁部であり、前記端子と、前記端子の抜去方向に対して鋭角の傾斜角で傾斜して接することで前記端子を係止可能であることを特徴とする請求項1に記載のコネクタ。
【請求項8】
前記ケースには、前記被押圧部を押圧する解除用治具を挿入可能な解除用窓部が形成されており、
前記被押圧部は、前記延在部に形成され、前記解除用窓部に臨むことを特徴とする請求項7に記載のコネクタ。
【請求項9】
前記解除用窓部は、前記係止部が視認できない大きさ又は形状に形成されていることを特徴とする請求項8に記載のコネクタ。
【請求項10】
前記端子が前記係止部に係止されているときは、
解除用治具が被押圧部を押圧したときに、少なくとも前記端子の一部にも当接するような構造となっていることを特徴とする請求項7に記載のコネクタ。
(【請求項11】以降は省略されています)
発明の詳細な説明
【技術分野】
【0001】
本発明は、導電体と端子とを電気的に接続させるコネクタ及び解除用治具に関する。
続きを表示(約 1,700 文字)
【背景技術】
【0002】
従来、電子機器の主基板等の導電体と電線を束ねたケーブル等の一端に取り付けられた端子とを電気的に接続させる場合に、コネクタが使用されている。具体的には、端子をコネクタに固定し、コネクタ側のコンタクトを導電体と接触可能することで導電体と端子とを電気的に接続させている。端子としては、例えば、ねじ部材を用いてコネクタに固定される圧着端子等が知られている(例えば、特許文献1参照)。また、圧着端子等の端子をコネクタから外す際は、必要に応じて工具、治具等を用いてコネクタへの固定状態が解除される。
【0003】
しかし、端子の固定にねじ部材を用いることで、端子の固定を含むコネクタの組み立てに際して、コネクタにねじ穴の形成、位置合わせ、ねじ部材の締結等の作業工程が発生するとともに、固定状態を解除するためにドライバ等の工具、治具を用いてねじ部材を外す作業工程が発生する。これらの作業工程が発生するため、コネクタを使用する際の作業、即ち、コネクタに対する端子の固定や端子の固定状態の解除等の作業等、における作業性が良好とは言えなかった。また、ねじ部材を用いることは、コネクタの部品点数を不必要に増やしている可能性もある。
【0004】
このような問題に対し、コネクタを使用する際の作業性を向上させ、部品点数を減らしたコネクタが開示されている(例えば、特許文献2参照)。
【0005】
文献2に開示されたコネクタは、ハウジングとコンタクトで構成され、圧着端子を固定するために、コンタクトの一部である基部1aと接続用端子1bとで圧着端子を挟持するとともに、コンタクトの一部である切起し部1fで圧着端子が固定位置から抜け出ることを防止している。したがって、圧着端子をコンタクトに固定するためのねじ部材は不要である。また、固定状態を解除するため、コンタクトの一部である弾性係止解除片1hを押し込むことで、コンタクトの一部である切起し部1fを押し下げ、切起し部1fによる圧着端子の係止を解除し圧着端子をコネクタから引き抜くことができる。
【0006】
このように、文献2に開示されたコネクタは、圧着端子をコンタクトに挿入することでコンタクトの一部である基部1aと接続用端子1b、及び切起し部1fにより、挟持、係止されることで固定されているので、文献1に開示されたコネクタと比較して圧着端子をコネクタに固定するための作業工数は減少し、作業性は向上している。更に、圧着端子をコネクタに固定するためのねじ部材は不要であることから、文献1に開示されたコネクタと比較して部品点数も減少している。
【先行技術文献】
【特許文献】
【0007】
特開2017-112086号公報
特開2015-118790号公報
【発明の概要】
【発明が解決しようとする課題】
【0008】
ところで、ねじ部材を用いずに、端子をコネクタに固定しようとした場合、充分な強さで固定がされない場合も多い。即ち、ねじ部材を用いない場合、端子をコネクタから抜去する際に必要となる抜去力が小さな値となり、固定された端子が意図せずして、コネクタから抜け出てしまうことが懸念される。
【0009】
また、一般に、コネクタは端子の挿入、抜去を繰り返して使用されるためコンタクトのような弾性部材を利用して端子を固定する場合、コンタクトが塑性変形してしまい、コネクタの繰り返し使用が、使用回数増に伴い出来なくなる点も懸念される。しかしながら、文献2に開示されたコネクタはこれらの懸念される点については何ら考慮されたものではなかった。
【0010】
本発明はこのような問題を解決するためになされたもので、繰り返し使用可能なコネクタにおいて、部品点数を減らしつつ、端子の抜去力を確保でき、端子の挿抜作業を容易にすることができるコネクタ及び解除用治具を提供することを目的とする。
【課題を解決するための手段】
(【0011】以降は省略されています)
この特許をJ-PlatPat(特許庁公式サイト)で参照する
関連特許
SMK株式会社
コネクタ及び解除用治具
1か月前
SMK株式会社
キートップ及びスイッチ
1か月前
SMK株式会社
生体信号処理装置、及び生体信号処理プログラム
2か月前
SMK株式会社
電子部品の吸着機構、電子部品用吸着装置及び電子部品の吸着方法
1か月前
APB株式会社
蓄電セル
1か月前
東ソー株式会社
絶縁電線
1か月前
日機装株式会社
加圧装置
今日
マクセル株式会社
電源装置
1か月前
日新イオン機器株式会社
イオン源
今日
株式会社東芝
端子台
1か月前
ローム株式会社
半導体装置
1か月前
株式会社GSユアサ
蓄電装置
29日前
富士電機株式会社
電磁接触器
15日前
株式会社ホロン
冷陰極電子源
1か月前
三菱電機株式会社
回路遮断器
23日前
株式会社GSユアサ
蓄電装置
1か月前
株式会社GSユアサ
蓄電装置
1か月前
株式会社GSユアサ
蓄電装置
15日前
北道電設株式会社
配電具カバー
1か月前
トヨタ自動車株式会社
蓄電装置
7日前
株式会社トクミ
ケーブル
1日前
個人
電源ボックス及び電子機器
今日
ホシデン株式会社
複合コネクタ
9日前
日本特殊陶業株式会社
保持装置
1か月前
日本特殊陶業株式会社
保持装置
28日前
トヨタ自動車株式会社
冷却構造
1か月前
株式会社東芝
電子源
今日
日新イオン機器株式会社
基板処理装置
1か月前
トヨタ自動車株式会社
蓄電装置
1か月前
大電株式会社
電線又はケーブル
7日前
トヨタ自動車株式会社
バッテリ
1か月前
矢崎総業株式会社
コネクタ
15日前
トヨタ自動車株式会社
電池パック
1か月前
甲神電機株式会社
変流器及び零相変流器
1か月前
ローム株式会社
半導体装置
1か月前
ヒロセ電機株式会社
電気コネクタ
15日前
続きを見る
他の特許を見る