TOP
|
特許
|
意匠
|
商標
特許ウォッチ
Twitter
他の特許を見る
10個以上の画像は省略されています。
公開番号
2025156753
公報種別
公開特許公報(A)
公開日
2025-10-15
出願番号
2024059372
出願日
2024-04-02
発明の名称
電子部品の吸着機構、電子部品用吸着装置及び電子部品の吸着方法
出願人
SMK株式会社
代理人
個人
,
個人
,
個人
主分類
H05K
13/04 20060101AFI20251007BHJP(他に分類されない電気技術)
要約
【課題】コストの増大を抑制すると共に、吸着ノズルによる吸着面を重心付近に有していない電子部品を、廃棄物を生じさせることなく安定した状態で吸着すること。
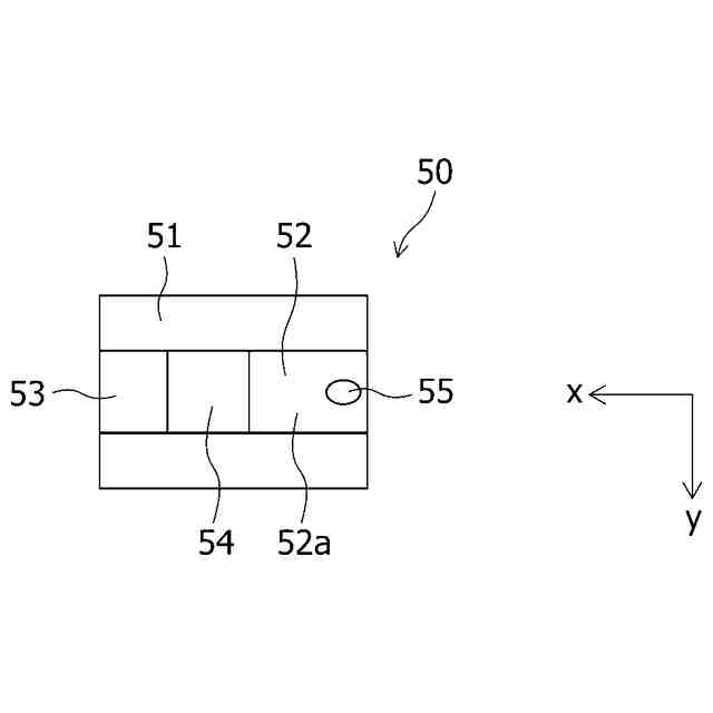
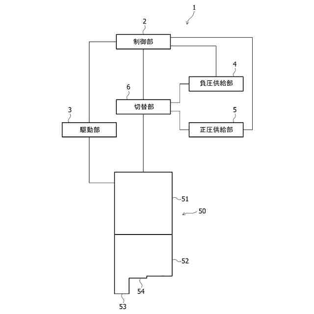
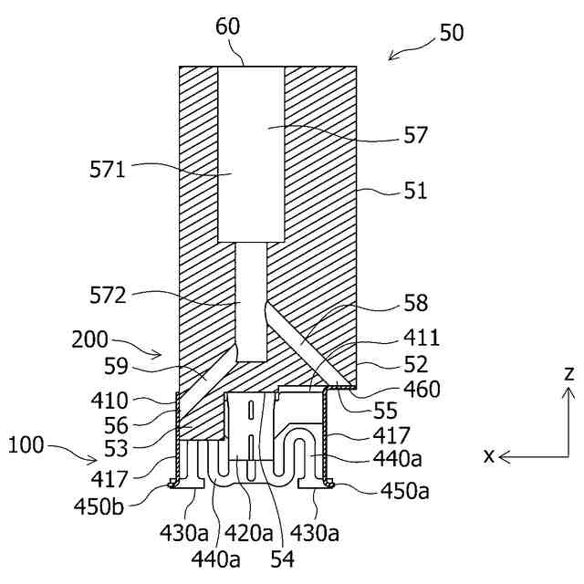
【解決手段】電子部品の吸着機構200は、下方向の両端部が開口し、下方向に沿って設けられる側壁部417を備える枠状の枠体部410と、下方向に交差する方向に沿って設けられる舌片部460と、上部本体部51及び下部本体部52と、下部本体部52より下方向に突出すると共に下方向に向かって枠体部410の内部に挿入可能な突出部53と、下方向と交差する底面52aに開口すると共に、舌片部460を吸引して吸着する第1の吸引孔55と、底面52aに交差する右側面53aに開口すると共に、枠体部410の内部に突出部53が挿入された状態で側壁部417を吸引して吸着する第2の吸引孔56と、を備える吸着ノズル50と、を有する。
【選択図】図13
特許請求の範囲
【請求項1】
電子部品を吸着する電子部品の吸着機構であって、
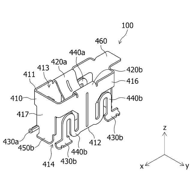
前記電子部品に設けられると共に一方向の両端部が開口し、前記一方向に沿って設けられる第1の被吸着部を備える枠状の枠体部と、
前記電子部品に設けられると共に前記一方向に交差する方向に沿って設けられる第2の被吸着部と、
本体部と、前記本体部より前記一方向に突出すると共に前記一方向に向かって前記枠体部の内部に挿入可能な突出部と、前記一方向と交差する前記本体部の第1の面に開口すると共に、前記第2の被吸着部を吸引して吸着する第1の吸引孔と、前記突出部の前記第1の面に交差する第2の面に開口すると共に、前記枠体部の内部に前記突出部が挿入された状態で前記第1の被吸着部を吸引して吸着する第2の吸引孔と、を備える吸着ノズルと、
を有することを特徴とする電子部品の吸着機構。
続きを表示(約 1,600 文字)
【請求項2】
前記枠体部は、
前記一方向に交差する方向において互いに対向する一対の第1の側壁部と、前記一対の第1の側壁部を接続すると共に前記一方向に交差する方向において互いに対向する一対の第2の側壁部と、を備え、
前記第1の被吸着部は、
前記一対の第2の側壁部のうちの一方であり、
前記第2の被吸着部は、
前記一対の第2の側壁部のうちの他方より前記一方向に交差する方向に沿って設けられる、
ことを特徴とする請求項1記載の電子部品の吸着機構。
【請求項3】
前記電子部品であるコネクタに設けられる接続部を有し、
前記枠体部は、
前記一方向に交差する方向において互いに対向する一対の第1の側壁部と、前記一対の第1の側壁部を接続すると共に前記一方向に交差する方向において互いに対向する一対の第2の側壁部と、を備え、
前記接続部は、
前記一対の第1の側壁部の各々より前記枠体部の内部に突出して前記枠体部の内部に挿入される相手側コネクタに接続し、
前記第1の被吸着部は、
前記一対の第2の側壁部のうちの少なくとも一方である、
ことを特徴とする請求項1記載の電子部品の吸着機構。
【請求項4】
前記吸着ノズルは、
前記本体部より前記一方向に突出すると共に、前記突出部が前記枠体部の内部に挿入された状態で前記枠体部に当接して前記電子部品を前記一方向に押圧可能な押圧部を備える、
ことを特徴とする請求項1から請求項3のいずれかに記載の電子部品の吸着機構。
【請求項5】
電子部品を吸着する電子部品用吸着装置であって、
前記電子部品を吸着する吸着ノズルと、
前記吸着ノズルに負圧を供給して前記吸着ノズルに前記電子部品を吸着させる負圧供給部と、
を有し、
前記吸着ノズルは、
本体部と、前記本体部より一方向に突出する突出部と、前記一方向の先端側の前記一方向と交差する前記本体部の第1の面に開口すると共に、前記負圧供給部より供給される負圧により前記電子部品を吸引して吸着する第1の吸引孔と、前記突出部の前記第1の面に交差する第2の面に開口すると共に、前記負圧供給部より供給される負圧により前記電子部品を吸引して吸着する第2の吸引孔と、を備える、
ことを特徴とする電子部品用吸着装置。
【請求項6】
前記吸着ノズルは、
前記負圧供給部より負圧が供給される第1伝達路と、前記負圧供給部より前記第1伝達路に供給された負圧を前記第1の吸引孔に供給する第2伝達路と、前記負圧供給部より前記第1伝達路に供給された負圧を前記第2の吸引孔に供給する第3伝達路と、を備える、
ことを特徴とする請求項5に記載の電子部品用吸着装置。
【請求項7】
電子部品に設けられると共に一方向の両端部が開口し、前記一方向に沿って設けられる第1の被吸着部を備える枠状の枠体部と、
前記電子部品に設けられると共に前記一方向に交差する方向に沿って設けられる第2の被吸着部と、
本体部と、前記本体部より前記一方向に突出する突出部と、前記一方向と交差する前記本体部の第1の面に開口する第1の吸引孔と、前記突出部の前記第1の面に交差する第2の面に開口する第2の吸引孔と、を備える吸着ノズルと、
を有する電子部品の吸着機構による電子部品の吸着方法であって、
前記枠体部の内部に前記一方向に向かって前記突出部を挿入する工程と、
前記第1の吸引孔により前記第2の被吸着部を吸引して吸着すると共に、前記第2の吸引孔により前記第1の被吸着部を吸引して吸着する工程と、
を有することを特徴とする電子部品の吸着方法。
発明の詳細な説明
【技術分野】
【0001】
本発明は、電子部品を吸着する電子部品の吸着機構、電子部品用吸着装置及び電子部品の吸着方法に関する。
続きを表示(約 2,200 文字)
【背景技術】
【0002】
従来、デバイスの量産現場においては、電気コネクタ等の電子部品の実装を自動機によって行っている。このような自動機は、電子部品を吸着する吸着ノズルを備え、一般に吸着ノズルによって電子部品の平坦面を吸着して電子部品をピックアップする。特許文献1は、エンボステープの凹部に配置されたコネクタを吸着ノズルにより吸着する吸着機構を開示している。特許文献1の吸着機構は、コネクタの凹部の内底面を吸着ノズルによって吸着することにより、エンボステープの凹部よりコネクタをピックアップする。
【0003】
また、吸着ノズルによって電子部品を安定して吸着するためには、吸着ノズルによって吸着される吸着面を電子部品の重心付近に有することが望ましい。しかしながら、電子部品の構成によっては、吸着ノズルによる吸着面を重心付近に有することが困難な場合がある。この場合に、従来の電子部品の吸着機構においては、電子部品の重心付近に吸着用のテープ又はキャップを装着する構成、又は電子部品の重心から離れた位置に吸着面を設ける構成が知られている。また、従来、電子部品を吸着に代えてチャックする構成が知られている。
【先行技術文献】
【特許文献】
【0004】
特開2006-326773号公報
【発明の概要】
【発明が解決しようとする課題】
【0005】
しかしながら、従来の吸着用のテープ又はキャップを使用する構成においては、電子部品の実装後等の電子部品を吸着する必要がなくなった後にテープ又はキャップを廃棄するため、テープ又はキャップが廃棄物になるという課題を有する。また、従来の電子部品の重心から離れた位置に吸着面を設ける構成においては、電子部品を安定して吸着するために吸着面を大きくする必要があるために電子部品が大型化すると共に、電子部品を吸着した状態で吸着ノズルを高速移動した際等に電子部品が吸着ノズルより脱落し易いという課題を有する。更に、従来の電子部品をチャックする構成においては、電子部品をチャックするための部品を追加する必要があるためにコストの上昇を招くという課題を有する。
【0006】
本発明の目的は、コストの増大を抑制することができると共に、吸着ノズルによる吸着面を重心付近に有していない電子部品を、廃棄物を生じさせることなく安定した状態で吸着することができる電子部品の吸着機構、電子部品用吸着装置及び電子部品の吸着方法を提供することである。
【課題を解決するための手段】
【0007】
本発明に係る電子部品の吸着機構は、電子部品を吸着する電子部品の吸着機構であって、前記電子部品に設けられると共に一方向の両端部が開口し、前記一方向に沿って設けられる第1の被吸着部を備える枠状の枠体部と、前記電子部品に設けられると共に前記一方向に交差する方向に沿って設けられる第2の被吸着部と、本体部と、前記本体部より前記一方向に突出すると共に前記一方向に向かって前記枠体部の内部に挿入可能な突出部と、前記一方向と交差する前記本体部の第1の面に開口すると共に、前記第2の被吸着部を吸引して吸着する第1の吸引孔と、前記突出部の前記第1の面に交差する第2の面に開口すると共に、前記枠体部の内部に前記突出部が挿入された状態で前記第1の被吸着部を吸引して吸着する第2の吸引孔と、を備える吸着ノズルと、を有する。
【0008】
本発明に係る電子部品用吸着装置は、電子部品を吸着する電子部品用吸着装置であって、前記電子部品を吸着する吸着ノズルと、前記吸着ノズルに負圧を供給して前記吸着ノズルに前記電子部品を吸着させる負圧供給部と、を有し、前記吸着ノズルは、本体部と、前記本体部より一方向に突出する突出部と、前記一方向の先端側の前記一方向と交差する前記本体部の第1の面に開口すると共に、前記負圧供給部より供給される負圧により前記電子部品を吸引して吸着する第1の吸引孔と、前記突出部の前記第1の面に交差する第2の面に開口すると共に、前記負圧供給部より供給される負圧により前記電子部品を吸引して吸着する第2の吸引孔と、を備える。
【0009】
本発明に係る電子部品の吸着方法は、電子部品に設けられると共に一方向の両端部が開口し、前記一方向に沿って設けられる第1の被吸着部を備える枠状の枠体部と、前記電子部品に設けられると共に前記一方向に交差する方向に沿って設けられる第2の被吸着部と、本体部と、前記本体部より前記一方向に突出する突出部と、前記一方向と交差する前記本体部の第1の面に開口する第1の吸引孔と、前記突出部の前記第1の面に交差する第2の面に開口する第2の吸引孔と、を備える吸着ノズルと、を有する電子部品の吸着機構による電子部品の吸着方法であって、前記枠体部の内部に前記一方向に向かって前記突出部を挿入する工程と、前記第1の吸引孔により前記第2の被吸着部を吸引して吸着すると共に、前記第2の吸引孔により前記第1の被吸着部を吸引して吸着する工程と、を有する。
【0010】
本体部の第1の面に開口する第1の吸引孔と、突出部の第1の面に交差する第2の面に開口する第2の吸引孔と、の2か所において異なる方向より電子部品を吸引して吸着する。
【発明の効果】
(【0011】以降は省略されています)
この特許をJ-PlatPat(特許庁公式サイト)で参照する
関連特許
SMK株式会社
コネクタ及び解除用治具
22日前
SMK株式会社
キートップ及びスイッチ
1か月前
SMK株式会社
生体信号処理装置、及び生体信号処理プログラム
2か月前
SMK株式会社
電子部品の吸着機構、電子部品用吸着装置及び電子部品の吸着方法
1か月前
個人
電子部品の実装方法
1か月前
個人
非衝突型ガウス加速器
3か月前
日本精機株式会社
回路基板
2か月前
愛知電機株式会社
装柱金具
1か月前
個人
電気式バーナー
1か月前
日星電気株式会社
面状ヒータ
6日前
アイホン株式会社
電気機器
3か月前
日本放送協会
基板固定装置
2か月前
個人
節電材料
3か月前
アイホン株式会社
電気機器
2か月前
イビデン株式会社
配線基板
1か月前
キヤノン株式会社
電子機器
2か月前
メクテック株式会社
配線基板
2か月前
東レ株式会社
霧化状活性液体供給装置
2か月前
マクセル株式会社
配列用マスク
4か月前
個人
静電気中和除去装置
21日前
株式会社デンソー
電子装置
14日前
FDK株式会社
基板
1か月前
イビデン株式会社
プリント配線板
2か月前
株式会社デンソー
電子装置
1か月前
株式会社レクザム
剥離装置
1か月前
シャープ株式会社
加熱機器
27日前
イビデン株式会社
配線基板
3か月前
イビデン株式会社
プリント配線板
3か月前
サクサ株式会社
開き角度規制構造
1か月前
イビデン株式会社
配線基板
2か月前
サクサ株式会社
筐体の壁掛け構造
2か月前
株式会社レゾナック
冷却装置
1か月前
カシン工業株式会社
PTC発熱装置
3か月前
富士フイルム株式会社
積層体
1か月前
新電元工業株式会社
電子装置
2か月前
日産自動車株式会社
電子部品
2か月前
続きを見る
他の特許を見る