TOP
|
特許
|
意匠
|
商標
特許ウォッチ
Twitter
他の特許を見る
公開番号
2025161944
公報種別
公開特許公報(A)
公開日
2025-10-24
出願番号
2025140679,2024198481
出願日
2025-08-26,2012-04-10
発明の名称
半導体装置
出願人
株式会社半導体エネルギー研究所
代理人
主分類
H10D
30/67 20250101AFI20251017BHJP()
要約
【課題】回路面積を小さくする。
【解決手段】記憶データとしてデータを記憶するメモリセルと、出力信号線と、電圧が与
えられる配線と、を具備し、メモリセルは、記憶データと検索データの比較演算を行い、
演算結果に応じて導通状態又は非導通状態になる比較回路と、記憶データの書き込み及び
保持を制御する電界効果トランジスタと、を備え、比較回路が導通状態のときに、出力信
号線の電圧値が配線の電圧と同等の値になる記憶装置。
【選択図】図1
特許請求の範囲
【請求項1】
第1のトランジスタと、第2のトランジスタと、を有し、
前記第1のトランジスタのソース電極又はドレイン電極の一方は、前記第2のトランジスタのゲート電極と常に導通している半導体装置であって、
前記第1のトランジスタは、酸化物半導体層にチャネル形成領域を有し、
前記第1のトランジスタのゲート電極としての機能を有する第1の導電層は、前記酸化物半導体層の上方に配置された領域を有し、
前記第1のトランジスタのソース電極又はドレイン電極の一方としての機能を有する第2の導電層は、前記酸化物半導体層の上方に配置された領域を有し、
前記第1のトランジスタのソース電極又はドレイン電極の他方としての機能を有する第3の導電層は、前記酸化物半導体層の上方に配置された領域を有し、
前記第1の導電層、前記第2の導電層及び前記第3の導電層は、第1の絶縁層の下方に配置された領域を有し、
前記第1の絶縁層を介して前記第2の導電層の上方に配置された領域を有する第4の導電層は、前記第2の導電層と常に導通しており、
前記第2のトランジスタのゲート電極としての機能を有する第5の導電層は、前記第2の導電層の下方に配置された領域を有し、
前記酸化物半導体層は、前記第5の導電層の側面と対向する領域を有する第2の絶縁層の、上方に配置された領域を有し、
前記第2の導電層のうち前記第4の導電層と接する領域は、前記第5の導電層との重なりを有する、
半導体装置。
続きを表示(約 1,000 文字)
【請求項2】
第1のトランジスタと、第2のトランジスタと、容量素子と、を有し、
前記容量素子は、前記第2のトランジスタのゲート電極と常に導通しており、
前記第1のトランジスタのソース電極又はドレイン電極の一方は、前記第2のトランジスタのゲート電極と常に導通している半導体装置であって、
前記第1のトランジスタは、酸化物半導体層にチャネル形成領域を有し、
前記第1のトランジスタのゲート電極としての機能を有する第1の導電層は、前記酸化物半導体層の上方に配置された領域を有し、
前記第1のトランジスタのソース電極又はドレイン電極の一方としての機能を有する第2の導電層は、前記酸化物半導体層の上方に配置された領域を有し、
前記第1のトランジスタのソース電極又はドレイン電極の他方としての機能を有する第3の導電層は、前記酸化物半導体層の上方に配置された領域を有し、
前記第1の導電層、前記第2の導電層及び前記第3の導電層は、第1の絶縁層の下方に配置された領域を有し、
前記第1の絶縁層を介して前記第2の導電層の上方に配置された領域を有する第4の導電層は、前記第2の導電層と常に導通しており、
前記第2のトランジスタのゲート電極としての機能を有する第5の導電層は、前記第2の導電層の下方に配置された領域を有し、
前記酸化物半導体層は、前記第5の導電層の側面と対向する領域を有する第2の絶縁層の、上方に配置された領域を有し、
前記第2の導電層のうち前記第4の導電層と接する領域は、前記第5の導電層との重なりを有する、
半導体装置。
【請求項3】
請求項1又は請求項2において、
前記第1のトランジスタのチャネル長方向の断面視において、前記酸化物半導体層のうち前記第1の導電層と重なる領域は、前記酸化物半導体層のうち前記第2の導電層と重なる領域と離隔しており、
前記第1のトランジスタのチャネル長方向の断面視において、前記酸化物半導体層のうち前記第1の導電層と重なる領域は、前記酸化物半導体層のうち前記第3の導電層と重なる領域と離隔している、
半導体装置。
【請求項4】
請求項1乃至請求項3のいずれか一において、
前記酸化物半導体層が有する酸化物半導体は、In-O系金属酸化物である、
半導体装置。
発明の詳細な説明
【技術分野】
【0001】
本発明の一態様は、記憶装置に関する。
続きを表示(約 1,000 文字)
【背景技術】
【0002】
近年、データの書き換えが可能な記憶装置の開発が進められている。
【0003】
上記記憶装置としては、例えば連想メモリなどが挙げられる。
【0004】
連想メモリとは、データの書き換えだけではなく、検索データに対して、メモリセルに記
憶されているデータがどのようなデータであるかを判別することが可能な記憶装置である
。
【0005】
連想メモリは、例えばセットアソシアティブ方式のキャッシュメモリなどに用いられる。
セットアソシアティブ方式とは、複数のタグにより構成されるデータ格納構造であり、該
タグとして連想メモリが用いられる。上記キャッシュメモリに連想メモリを用いることに
より、CPUとキャッシュメモリとのデータ通信を速くすることができる。
【0006】
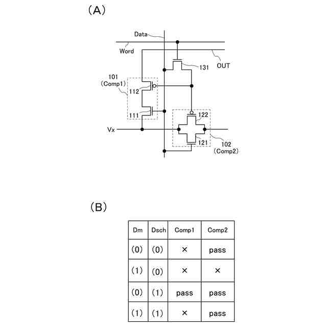
また、連想メモリにおけるメモリセルは、例えばデータを保持する記憶回路、該記憶回路
に記憶されたデータと特定のデータを比較する複数の比較回路を用いて構成される(例え
ば特許文献1)。
【0007】
特許文献1では、大小比較回路及び一致検出回路により複数ビットのデータについてもデ
ータの判別が可能である。
【先行技術文献】
【特許文献】
【0008】
特開2004-295967号公報
【発明の概要】
【発明が解決しようとする課題】
【0009】
従来の連想メモリでは、各メモリセルにおける回路面積が大きいといった問題があった。
例えば、特許文献1に示す連想メモリでは、各メモリセルのトランジスタの数が11個と
多く、回路面積が大きい。
【0010】
また、従来の連想メモリでは、オフ状態におけるトランジスタのリーク電流により、保持
状態におけるメモリセルに記憶されたデータが変動してしまうといった問題があった。例
えば、特許文献1に示す連想メモリでは、電源の供給を停止すると、トランジスタのリー
ク電流などによりデータが消失してしまう。そのため、データを保持している間は電源を
供給し続けなければならず、消費電力が高くなってしまう。
(【0011】以降は省略されています)
この特許をJ-PlatPat(特許庁公式サイト)で参照する
関連特許
個人
半導体装置
20日前
東レ株式会社
太陽電池モジュール
20日前
エイブリック株式会社
半導体装置
26日前
エイブリック株式会社
縦型ホール素子
14日前
エイブリック株式会社
縦型ホール素子
14日前
富士通株式会社
半導体装置
19日前
ローム株式会社
抵抗チップ
5日前
ローム株式会社
半導体装置
21日前
富士電機株式会社
半導体装置
11日前
株式会社半導体エネルギー研究所
表示装置
14日前
三菱電機株式会社
半導体装置
19日前
TDK株式会社
圧電素子
19日前
日亜化学工業株式会社
発光素子
19日前
日亜化学工業株式会社
発光装置
18日前
ミツミ電機株式会社
半導体装置
26日前
ローム株式会社
半導体装置
4日前
ローム株式会社
窒化物半導体装置
14日前
ローム株式会社
窒化物半導体装置
5日前
富士電機株式会社
半導体装置の製造方法
13日前
デクセリアルズ株式会社
受光装置
25日前
サンケン電気株式会社
半導体装置
25日前
TDK株式会社
光検知装置
26日前
ローム株式会社
半導体装置
6日前
株式会社カネカ
太陽電池モジュール
18日前
大日本印刷株式会社
太陽電池
7日前
沖電気工業株式会社
発光装置及び表示装置
20日前
内山工業株式会社
太陽電池
25日前
キオクシア株式会社
記憶装置
25日前
日本電気株式会社
超伝導量子回路装置
19日前
株式会社MARUWA
発光装置及び照明器具
18日前
サンケン電気株式会社
発光装置
18日前
今泉工業株式会社
光発電装置及びその製造方法
4日前
一般財団法人電力中央研究所
熱化学電池
20日前
ローム株式会社
RAM
18日前
ローム株式会社
光センサ
12日前
沖電気工業株式会社
半導体デバイス
20日前
続きを見る
他の特許を見る