TOP
|
特許
|
意匠
|
商標
特許ウォッチ
Twitter
他の特許を見る
公開番号
2025161933
公報種別
公開特許公報(A)
公開日
2025-10-24
出願番号
2025140080,2021145349
出願日
2025-08-26,2021-09-07
発明の名称
乗物用ランプ
出願人
スズキ株式会社
代理人
個人
,
個人
,
個人
主分類
F21S
41/148 20180101AFI20251017BHJP(照明)
要約
【課題】小型化を図りつつ、十分な照射範囲を確保可能な乗物用ランプを提供する。
【解決手段】乗物用ランプ(10)は、乗物に取り付けられている。乗物用ランプには、表面(12)に光源(14)が設置されたベース部(11)と、光源から出射された光を反射するリフレクタ部(21)と、リフレクタ部からの反射光を透過するレンズ部(31)と、が設けられている。ベース部とリフレクタ部が乗物用ランプのハウジングを兼ねて構成され、ベース部の表面にリフレクタ部及びレンズ部が設置されて灯室(39)が形成されている。
【選択図】図1
特許請求の範囲
【請求項1】
乗物に取り付けられた乗物用ランプであって、
表面に光源が設置されたベース部と、
前記光源から出射された光を反射するリフレクタ部と、
前記リフレクタ部からの反射光を透過するレンズ部と、を備え、
前記ベース部と前記リフレクタ部が前記乗物用ランプのハウジングを兼ねて構成され、
前記ベース部の表面に前記リフレクタ部及び前記レンズ部が設置されて灯室が形成されていることを特徴とする乗物用ランプ。
続きを表示(約 460 文字)
【請求項2】
前記リフレクタ部と前記レンズ部は透光性部材によって一体に成形されており、
前記リフレクタ部は、前記透光性部材の内面に金属膜が積層され、前記透光性部材の外面に遮光膜が積層されていることを特徴とする請求項1に記載の乗物用ランプ。
【請求項3】
前記リフレクタ部と前記レンズ部は別体に成形されており、
前記リフレクタ部と前記レンズ部の合わせ面が溶着されていることを特徴とする請求項1に記載の乗物用ランプ。
【請求項4】
前記リフレクタ部には前記ベース部の表面に向けて突き出した第1の凸部が形成され、
前記レンズ部には前記ベース部の表面に向けて突き出した第2の凸部が形成され、
前記ベース部の表面には前記第1の凸部及び前記第2の凸部を受け入れる凹部が形成され、前記第1の凸部及び前記第2の凸部が前記凹部に接着され、
前記リフレクタ部と前記レンズ部が一体化され、前記凹部が環状に形成されていることを特徴とする請求項1に記載の乗物用ランプ。
発明の詳細な説明
【技術分野】
【0001】
本発明は、乗物用ランプに関する。
続きを表示(約 1,500 文字)
【背景技術】
【0002】
乗物用ランプとして、ハウジングの開口縁にアウターレンズの外縁が接着されたものが知られている(例えば、特許文献1参照)。特許文献1に記載の乗物用ランプでは、ハウジングとアウターレンズによって灯室が形成され、灯室にリフレクタとLED(Light Emitting Diode)が設置されている。ハウジングの開口縁や接着剤が非透光性の材料であるため、LEDの発光時にハウジングの開口縁が黒縁状に目立たないように、リフレクタからの反射光がハウジングとアウターレンズの接着部分に照射されて乗物用ランプの美観が確保されている。
【先行技術文献】
【特許文献】
【0003】
特開2015-069860号公報
【発明の概要】
【発明が解決しようとする課題】
【0004】
しかしながら、特許文献1に記載の乗物用ランプはハウジングの内側に隙間を空けてリフレクタを設置する必要があり、ランプを小型化しつつ照射範囲を確保する際の障害になっていた。
【0005】
本発明はかかる点に鑑みてなされたものであり、小型化を図りつつ、十分な照射範囲を確保することができる乗物用ランプを提供することを目的とする。
【課題を解決するための手段】
【0006】
本発明の一態様の乗物用ランプは、乗物に取り付けられた乗物用ランプであって、表面に光源が設置されたベース部と、前記光源から出射された光を反射するリフレクタ部と、前記リフレクタ部からの反射光を透過するレンズ部と、を備え、前記ベース部と前記リフレクタ部が前記乗物用ランプのハウジングを兼ねて構成され、前記ベース部の表面に前記リフレクタ部及び前記レンズ部が設置されて灯室が形成されていることで上記課題を解決する。
【発明の効果】
【0007】
本発明の一態様の乗物用ランプによれば、リフレクタ部がハウジングを兼ねているため、リフレクタ部を覆うハウジングが不要になって乗物用ランプの小型化を図ることができる。ベース部の表面にリフレクタ部及びレンズ部が設置されることで、リフレクタ部及びレンズ部によって灯室が形成される。よって、乗物用ランプの小型化を図りつつ、十分な照射範囲を確保することができる。
【図面の簡単な説明】
【0008】
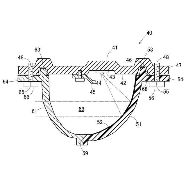
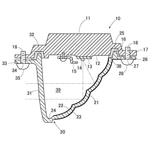
第1実施例の乗物用ランプの断面図である。
第2実施例の乗物用ランプの断面図である。
【発明を実施するための形態】
【0009】
本発明の一態様の乗物用ランプでは、ベース部の表面に光源が設置され、ベース部の表面にリフレクタ部及びレンズ部が設置されて灯室が形成されている。リフレクタ部によって光源から出射された光が反射され、レンズ部によってリフレクタ部からの反射光が透過される。リフレクタ部がハウジングを兼ねているため、リフレクタ部を覆うハウジングが不要になって乗物用ランプの小型化を図ることができる。ベース部の表面にリフレクタ部及びレンズ部が設置されることで、リフレクタ部及びレンズ部によって灯室が形成される。よって、乗物用ランプの小型化を図りつつ、十分な照射範囲を確保することができる。
【実施例】
【0010】
<第1実施例>
以下、添付図面を参照して、第1実施例の乗物用ランプについて説明する。図1は第1実施例の乗物用ランプの断面図である。
(【0011】以降は省略されています)
この特許をJ-PlatPat(特許庁公式サイト)で参照する
関連特許
スズキ株式会社
開閉機構
18日前
スズキ株式会社
シート構造
18日前
スズキ株式会社
シート構造
18日前
スズキ株式会社
車両側部構造
26日前
スズキ株式会社
動力伝達装置
16日前
スズキ株式会社
運転支援装置
3日前
スズキ株式会社
車両制御装置
16日前
スズキ株式会社
パーツボックス
3日前
スズキ株式会社
パーツボックス
3日前
スズキ株式会社
車両の制御装置
1か月前
スズキ株式会社
車両用制御装置
27日前
スズキ株式会社
車両用ルーフ構造
16日前
スズキ株式会社
車両の制御システム
1か月前
スズキ株式会社
車両の制御システム
1か月前
スズキ株式会社
内燃機関の吸気装置
3日前
スズキ株式会社
車両の速度制御装置
17日前
スズキ株式会社
エンジンの排気浄化装置
11日前
スズキ株式会社
エンジンの排気浄化装置
11日前
スズキ株式会社
多気筒エンジンの制御装置
18日前
スズキ株式会社
車両用ルーフライニング構造
16日前
スズキ株式会社
ハイブリッド車両の動力伝達装置
16日前
スズキ株式会社
ハイブリッド車両の動力伝達装置
16日前
スズキ株式会社
ハイブリッド車両の動力伝達装置
16日前
スズキ株式会社
ハイブリッド車両の動力伝達装置
3日前
スズキ株式会社
車両用シートベルトバックル固定構造
1か月前
スズキ株式会社
内燃機関のオイルレベルゲージの支持構造
1か月前
スズキ株式会社
車室構造
24日前
スズキ株式会社
車室構造
24日前
トヨタ自動車株式会社
車両、蓄電装置および温度調整装置
25日前
住友電装株式会社
プロテクタとホルダとの一体化ユニット
1か月前
スズキ株式会社
乗物用ランプ
1か月前
住友電装株式会社
プロテクタ及びプロテクタ付ワイヤハーネス
1か月前
個人
室外機器
5か月前
個人
照明装置
16日前
個人
照明システム
4か月前
個人
車載機器の通気構造
2か月前
続きを見る
他の特許を見る