TOP
|
特許
|
意匠
|
商標
特許ウォッチ
Twitter
他の特許を見る
10個以上の画像は省略されています。
公開番号
2025161557
公報種別
公開特許公報(A)
公開日
2025-10-24
出願番号
2024064851
出願日
2024-04-12
発明の名称
基板処理装置、測定装置、および測定方法
出願人
東京エレクトロン株式会社
代理人
個人
,
個人
主分類
H01L
21/02 20060101AFI20251017BHJP(基本的電気素子)
要約
【課題】基板の位置を精度よく測定することができる技術を提供する。
【解決手段】基板処理装置は、基板を離脱可能に保持する保持部と、前記保持部に設けられ、前記基板に測定光を照射すると共に前記基板からの反射光を受光する光学センサと、前記基板と前記光学センサの間の測定光路に配置され、光を透過可能な透明部材と、前記光学センサの測定情報を処理する処理部と、を備える。前記処理部は、前記測定情報に基づいて前記基板と前記透明部材との間の距離を取得し、前記基板の位置を認識する。
【選択図】図12
特許請求の範囲
【請求項1】
基板を離脱可能に保持する保持部と、
前記保持部に設けられ、前記基板に測定光を照射すると共に前記基板からの反射光を受光する光学センサと、
前記基板と前記光学センサの間の測定光路に配置され、光を透過可能な透明部材と、
前記光学センサの測定情報を処理する処理部と、を備え、
前記処理部は、前記測定情報に基づいて前記基板と前記透明部材との間の距離を取得し、前記基板の位置を認識する、
基板処理装置。
続きを表示(約 1,300 文字)
【請求項2】
前記光学センサまたは前記処理部は、前記測定情報に含まれる前記反射光のスペクトルに基づいて、前記基板と前記透明部材との間の距離を取得する、
請求項1に記載の基板処理装置。
【請求項3】
前記処理部は、前記保持部に保持された前記基板と前記透明部材との間の距離を取得すると共に、前記保持部から離脱した前記基板と前記透明部材との間の距離を取得する、
請求項2に記載の基板処理装置。
【請求項4】
前記保持部は、前記基板である第1基板を保持する第1保持部と、前記第1基板に対向する位置で前記基板である第2基板を保持する第2保持部と、を含み、
前記基板処理装置は、前記第1保持部から前記第1基板を押し出して当該第1基板と前記第2基板とを接合する接合装置であり、
前記処理部は、前記第1保持部に設けられた前記光学センサの前記測定情報に基づいて前記第1基板と前記第2基板の接合の進行具合を認識する、
請求項3に記載の基板処理装置。
【請求項5】
接合される前の前記第1基板および前記第2基板の間の外縁にボイド低減ガスを供給するガス供給機構を備え、
前記光学センサは、前記測定光路に前記ボイド低減ガスがない状態および前記測定光路に前記ボイド低減ガスが入り込んだ状態の各々において、前記基板と前記透明部材との間の距離を取得する、
請求項4に記載の基板処理装置。
【請求項6】
前記ガス供給機構は、前記第1保持部よりも径方向外側に設けられ、
前記第1保持部は、保持する前記基板の径方向に沿って複数の前記光学センサを備え、
前記透明部材は、径方向の複数の前記光学センサのうち径方向外側の前記光学センサに設けられる、
請求項5に記載の基板処理装置。
【請求項7】
前記処理部は、径方向外側の前記光学センサの前記測定情報に基づき前記基板と前記透明部材との間の距離を取得する一方で、径方向内側の前記光学センサの前記測定情報に基づき前記基板と前記光学センサとの間の距離を取得する、
請求項6に記載の基板処理装置。
【請求項8】
前記光学センサまたは前記処理部は、前記基板における前記透明部材に対向する面と、前記透明部材における前記基板に対向する面との距離を算出する、
請求項1乃至7のいずれか1項に記載の基板処理装置。
【請求項9】
前記保持部は、前記光学センサを配置する配置部を備え、
前記配置部は、前記測定光路において前記測定光の範囲を狭めるアパーチャを有すると共に、前記透明部材を前記アパーチャに固定している、
請求項1乃至7のいずれか1項に記載の基板処理装置。
【請求項10】
前記測定光路の全長に対する前記基板と前記透明部材との間の距離の割合は、5%以下である、
請求項1乃至7のいずれか1項に記載の基板処理装置。
(【請求項11】以降は省略されています)
発明の詳細な説明
【技術分野】
【0001】
本開示は、基板処理装置、測定装置、および測定方法に関する。
続きを表示(約 2,000 文字)
【背景技術】
【0002】
特許文献1には、上側の基板を上方から吸着する上チャックと、下側の基板を下方から吸着する下チャックとを備え、2枚の基板を向い合せて接合する接合装置が開示されている。基板の接合において、接合装置は、上チャックの基板の中央部を押し下げて下チャックの基板の中央部と接触させ、2枚の基板の中央部同士を分子間力により接合し、この接合領域を中央部から外周部に広げていく。
【0003】
また、特許文献1に記載の接合装置は、基板同士の接合の進行具合(ボンディングウェーブ)を検出するセンサを上チャックに複数備える。例えば、複数のセンサは、上チャックの外周部の周方向に沿って等間隔に配置され、上側の基板の高さ位置を測定することで、接合の進行具合を認識可能とする。
【先行技術文献】
【特許文献】
【0004】
特許第6929427号公報
【発明の概要】
【発明が解決しようとする課題】
【0005】
本開示は、基板の位置を精度よく測定することができる技術を提供する。
【課題を解決するための手段】
【0006】
本開示の一態様によれば、基板を離脱可能に保持する保持部と、前記保持部に設けられ、前記基板に測定光を照射すると共に前記基板からの反射光を受光する光学センサと、前記基板と前記光学センサの間の測定光路に配置され、光を透過可能な透明部材と、前記光学センサの測定情報を処理する処理部と、を備え、前記処理部は、前記測定情報に基づいて前記基板と前記透明部材との間の距離を取得し、前記基板の位置を認識する、基板処理装置が提供される。
【発明の効果】
【0007】
一態様によれば、基板の位置を精度よく測定することができる。
【図面の簡単な説明】
【0008】
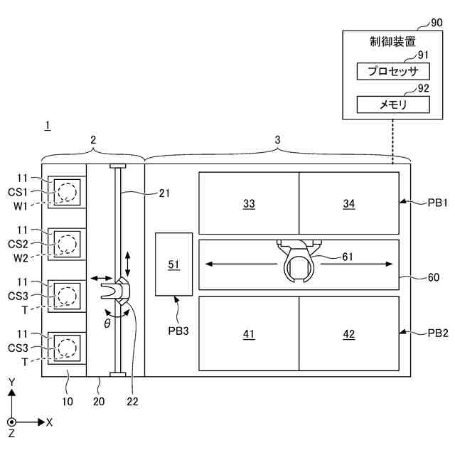
接合装置を示す平面図である。
図1の接合装置の側面図である。
第1基板及び第2基板の一例を示す側面図である。
接合方法を示すフローチャートである。
第1実施形態に係る接合モジュールの一例を示す平面図である。
図5の接合モジュールの側面図である。
上チャック及び下チャックの一例を示す断面図である。
図4のステップS109の詳細を示すフローチャートである。
図9(A)は、図8のステップS112における動作の一例を示す側面図である。図9(B)は、図9(A)に続く動作を示す側面図である。図9(C)は、図9(B)に続く動作を示す側面図である。
図10(A)は、図8のステップS113における動作の一例を示す断面図である。図10(B)は、図8のステップS114における動作の一例を示す断面図である。図10(C)は、図10(B)に続く動作を示す断面図である。
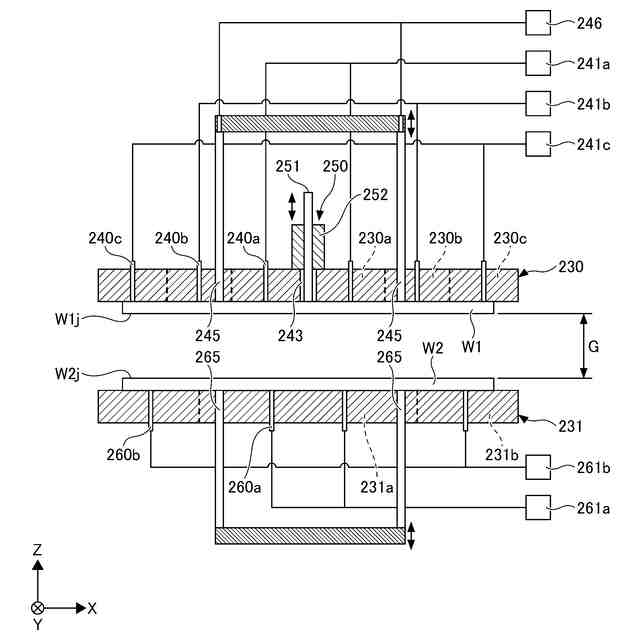
変位センサが設置された上チャックを示す断面図である。
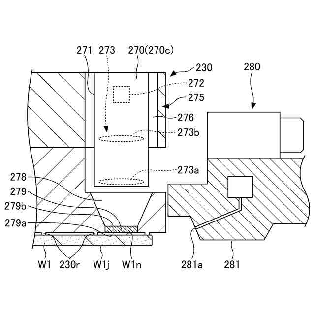
外側変位センサおよびガス吐出部を拡大して示す断面図である。
透明部材と上ウェハとの間の距離の算出を説明する図である。
図14(A)は、参考例に係る変位センサの測定状態を示す図である。図14(B)は、参考例に係る変位センサの測定光路にボイド低減ガスが流入した測定状態を示す図である。図14(C)は、実施形態に係る変位センサの測定状態を示す図である。図14(D)は、実施形態に係る変位センサの測定光路にボイド低減ガスが流入した測定状態を示す図である。
測定方法を含む上ウェハと下ウェハの接合過程を示すフローチャートである。
【発明を実施するための形態】
【0009】
以下、図面を参照して本開示を実施するための形態について説明する。各図面において、同一構成部分には同一符号を付し、重複した説明を省略する場合がある。なお、以下の説明において使用するX軸方向、Y軸方向およびZ軸方向は、互いに垂直に交わる軸方向であり、X軸方向およびY軸方向は水平方向であり、Z軸方向は鉛直方向である。
【0010】
本開示の基板処理装置として、図1および図2に示す接合装置1について代表的に説明していく。接合装置1は、第1基板W1と第2基板W2とを接合し、接合基板Tを作製する。第1基板W1および第2基板W2のうち少なくとも1つは、例えばシリコンウェハや化合物半導体ウェハ等の半導体基板に複数の電子回路が形成された基板である。第1基板W1および第2基板W2のうち1つは、電子回路が形成されていないベアウェハであってもよい。化合物半導体ウェハは、特に限定されないが、例えばGaAsウェハ、SiCウェハ、GaNウェハ、またはInPウェハである。
(【0011】以降は省略されています)
この特許をJ-PlatPat(特許庁公式サイト)で参照する
関連特許
APB株式会社
蓄電セル
8日前
東ソー株式会社
絶縁電線
10日前
個人
フレキシブル電気化学素子
22日前
ローム株式会社
半導体装置
9日前
株式会社ユーシン
操作装置
22日前
ローム株式会社
半導体装置
24日前
日新イオン機器株式会社
イオン源
18日前
株式会社東芝
端子台
2日前
マクセル株式会社
電源装置
2日前
株式会社GSユアサ
蓄電設備
22日前
オムロン株式会社
電磁継電器
23日前
株式会社GSユアサ
蓄電装置
3日前
株式会社ホロン
冷陰極電子源
16日前
太陽誘電株式会社
コイル部品
22日前
株式会社GSユアサ
蓄電設備
22日前
株式会社GSユアサ
蓄電装置
3日前
トヨタ自動車株式会社
冷却構造
10日前
ノリタケ株式会社
熱伝導シート
22日前
トヨタ自動車株式会社
バッテリ
8日前
トヨタ自動車株式会社
蓄電装置
22日前
北道電設株式会社
配電具カバー
8日前
トヨタ自動車株式会社
バッテリ
23日前
トヨタ自動車株式会社
蓄電装置
3日前
日新イオン機器株式会社
基板処理装置
5日前
日東電工株式会社
積層体
23日前
サクサ株式会社
電池の固定構造
22日前
日本特殊陶業株式会社
保持装置
11日前
ローム株式会社
半導体装置
24日前
住友電装株式会社
コネクタ
10日前
ローム株式会社
半導体装置
23日前
ローム株式会社
半導体装置
24日前
トヨタ自動車株式会社
電池パック
15日前
トヨタ自動車株式会社
電池パック
15日前
日東電工株式会社
電子装置
25日前
古河電気工業株式会社
端子
22日前
株式会社ダイヘン
搬送装置
22日前
続きを見る
他の特許を見る