TOP
|
特許
|
意匠
|
商標
特許ウォッチ
Twitter
他の特許を見る
10個以上の画像は省略されています。
公開番号
2025161521
公報種別
公開特許公報(A)
公開日
2025-10-24
出願番号
2024064784
出願日
2024-04-12
発明の名称
セラミック複合体および飛翔体用レドーム
出願人
三菱電機株式会社
代理人
個人
主分類
C04B
35/596 20060101AFI20251017BHJP(セメント;コンクリート;人造石;セラミックス;耐火物)
要約
【課題】耐熱衝撃性の向上と研削加工性の向上とを両立させることができるセラミック複合体を得ること。
【解決手段】セラミック複合体1は、飛翔体用レドームに用いられるセラミック複合体1であって、Si
3
N
4
2およびBN3を含む主相と、R
2
Si
3
O
3
N
4
4を含む副相と、を含有している。セラミック複合体1の全体量に対するSi
3
N
4
2およびBN3の含有量は、合計で80質量%以上96質量%以下である。Si
3
N
4
2に対するBN3の質量の比は、2/98から10/90までの間である。BN3は、凝集粒子を含んでいる。
【選択図】図1
特許請求の範囲
【請求項1】
飛翔体用レドームに用いられるセラミック複合体であって、
Si
3
N
4
およびBNを含む主相と、
R
2
Si
3
O
3
N
4
を含む副相と、
を含有し、
前記セラミック複合体の全体量に対する前記Si
3
N
4
および前記BNの含有量は、合計で80質量%以上96質量%以下であり、
前記Si
3
N
4
に対する前記BNの質量の比は、2/98から10/90までの間であり、
前記BNは、凝集粒子を含んでいることを特徴とするセラミック複合体。
続きを表示(約 1,000 文字)
【請求項2】
前記BNの凝集粒子の平均粒径は、30μm以下であることを特徴とする請求項1に記載のセラミック複合体。
【請求項3】
前記BNの凝集粒子を構成する一次粒子の平均粒径は、1μm以下であることを特徴とする請求項1に記載のセラミック複合体。
【請求項4】
前記Si
3
N
4
に接している前記R
2
Si
3
O
3
N
4
の割合は、70%以上であることを特徴とする請求項1に記載のセラミック複合体。
【請求項5】
前記Si
3
N
4
の粒子と前記R
2
Si
3
O
3
N
4
の粒子とに囲まれて形成される空間の平均サイズを、前記空間を囲む前記Si
3
N
4
の粒子の平均短径で除した値は、15以下であることを特徴とする請求項1に記載のセラミック複合体。
【請求項6】
前記Si
3
N
4
の粒子と前記R
2
Si
3
O
3
N
4
の粒子とに囲まれて形成される空間の平均サイズは、30μm以下であることを特徴とする請求項1に記載のセラミック複合体。
【請求項7】
前記セラミック複合体の空隙率は、5体積%以上30体積%以下であることを特徴とする請求項1に記載のセラミック複合体。
【請求項8】
前記R
2
Si
3
O
3
N
4
の構成成分である希土類は、Y
2
Si
3
O
3
N
4
であることを特徴とする請求項1に記載のセラミック複合体。
【請求項9】
前記BNは、乱層構造BNを含むことを特徴とする請求項1に記載のセラミック複合体。
【請求項10】
請求項1から9のいずれか1つに記載のセラミック複合体で構成されるセラミック造形物を備えることを特徴とする飛翔体用レドーム。
発明の詳細な説明
【技術分野】
【0001】
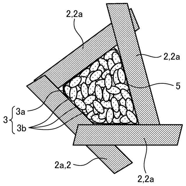
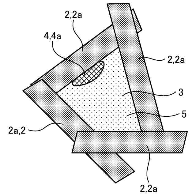
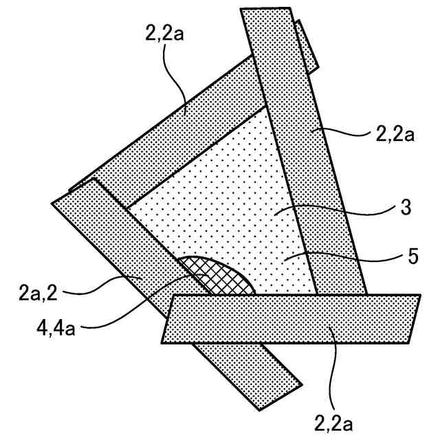
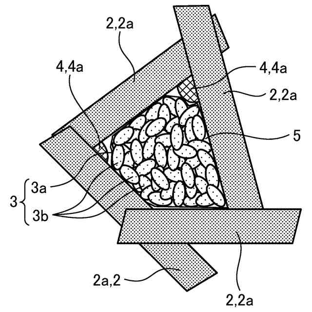
本開示は、セラミック複合体、および、このセラミック複合体が用いられる飛翔体用レドームに関する。
続きを表示(約 2,000 文字)
【背景技術】
【0002】
従来、設定された目標に向けて電波誘導により飛翔する飛翔体が知られている。飛翔体には、目標までの距離および方位を計測するアンテナなどの電子機器が搭載されており、この電子機器を飛翔時の空力から保護するために、飛翔体の先端にはレドームが設置されている。
【0003】
飛翔体は、超音速で飛翔するため、飛翔時の空気との摩擦によって急激な加熱(空力加熱)を受ける。特に、飛翔体の先端に設置されるレドームは、空力加熱により1000℃以上の温度に加熱される。このため、レドームには、耐熱性と耐熱衝撃性とが要求される。また、飛翔体は、飛翔時に目標までの距離および方位を計測するため、レドームを介してアンテナによる電波の送受信を行う必要があり、レドームには、電波透過性も要求される。
【0004】
このようなレドームの要求性能を満たすために、レドームの材料には、コージェライト、溶融シリカなどの熱膨張率が3ppm/℃以下の酸化物セラミック(ファインセラミック)が使用されるのが一般的である。しかしながら、これらの酸化物セラミックを従来よりも高速で飛翔する飛翔体のレドームに適用した場合、レドームの耐熱衝撃性が十分ではなく、空力加熱による熱応力でレドームに割れが発生する可能性がある。以下、セラミック製のレドームを「セラミック造形物」と称する。
【0005】
そこで、例えば、特許文献1には、酸化物セラミックよりも機械強度が高くかつ耐熱衝撃性に優れるSi
3
N
4
(窒化ケイ素)を材料として用いたセラミック造形物が開示されている。
【先行技術文献】
【特許文献】
【0006】
国際公開第2013/124871号
【発明の概要】
【発明が解決しようとする課題】
【0007】
しかしながら、Si
3
N
4
は、機械強度が高くかつ耐熱衝撃性に優れる反面、高硬度な性質を有するため、特許文献1に開示されているようにセラミック造形物の材料としてSi
3
N
4
を用いると、セラミック造形物を製造する際に必要な研削加工が困難であるという問題がある。
【0008】
本開示は、上記に鑑みてなされたものであって、耐熱衝撃性の向上と研削加工性の向上とを両立させることができるセラミック複合体を得ることを目的とする。
【課題を解決するための手段】
【0009】
本発明者らは、上述した課題を解決すべく鋭意研究した結果、セラミック造形物に用いられるセラミック複合体などのセラミック材料の耐熱衝撃性は、セラミック材料の熱膨張率、熱伝導率、機械強度(主に、曲げ強度)および弾性率と関連しており、セラミック材料の熱伝導率および機械強度が高くかつ熱膨張率および弾性率が低いほど向上することに着目した。また、セラミック材料の研削加工性は、セラミック材料の弾性率と関連しており、セラミック材料の弾性率が低いほど向上することに着目した。さらに、Si
3
N
4
自体は、弾性率が高いため、セラミック材料の耐熱衝撃性および研削加工性が低下する原因となることに着目した。そこで、Si
3
N
4
と共に、熱伝導率が高くかつ弾性率が低いBN(窒化ホウ素)の凝集粒子を用い、Si
3
N
4
とBNとを特定の含有量および質量比で組み合わせて複合化させ、さらに副相としてSi
3
N
4
の粒子間の結合を強固にして機械強度を向上させるR
2
Si
3
O
3
N
4
(希土類酸窒化物)を含有させることにより、耐熱衝撃性の向上と研削加工性の向上とを両立させ得ることを見出し、本開示を完成するに至った。
【0010】
すなわち、上述した課題を解決し、目的を達成するために、本開示にかかるセラミック複合体は、飛翔体用レドームに用いられるセラミック複合体であって、Si
3
N
4
およびBNを含む主相と、R
2
Si
3
O
3
N
4
を含む副相と、を含有している。セラミック複合体の全体量に対するSi
3
N
4
およびBNの含有量は、合計で80質量%以上96質量%以下である。Si
3
N
4
に対するBNの質量の比は、2/98から10/90までの間である。BNは、凝集粒子を含んでいる。
【発明の効果】
(【0011】以降は省略されています)
この特許をJ-PlatPat(特許庁公式サイト)で参照する
関連特許
三菱電機株式会社
換気扇
9日前
三菱電機株式会社
増幅器
今日
三菱電機株式会社
換気扇
9日前
三菱電機株式会社
換気扇
9日前
三菱電機株式会社
照明装置
1か月前
三菱電機株式会社
回転電機
25日前
三菱電機株式会社
収集装置
7日前
三菱電機株式会社
電子機器
10日前
三菱電機株式会社
回転電機
1か月前
三菱電機株式会社
加熱調理器
28日前
三菱電機株式会社
空気調和機
2日前
三菱電機株式会社
半導体装置
29日前
三菱電機株式会社
半導体装置
15日前
三菱電機株式会社
半導体装置
1か月前
三菱電機株式会社
電力変換装置
1か月前
三菱電機株式会社
給湯システム
28日前
三菱電機株式会社
車両制御装置
1か月前
三菱電機株式会社
ねじ締め装置
今日
三菱電機株式会社
空調システム
今日
三菱電機株式会社
照明システム
15日前
三菱電機株式会社
空気調和装置
1か月前
三菱電機株式会社
ネジ取出機構
1か月前
三菱電機株式会社
貯湯式給湯機
25日前
三菱電機株式会社
非常用照明装置
28日前
三菱電機株式会社
送電線保護装置
1か月前
三菱電機株式会社
樹脂成形用金型
今日
三菱電機株式会社
電動機制御装置
21日前
三菱電機株式会社
誘導加熱調理器
9日前
三菱電機株式会社
空気清浄システム
28日前
三菱電機株式会社
照明制御システム
1か月前
三菱電機株式会社
レンズモジュール
7日前
三菱電機株式会社
全館空調システム
7日前
三菱電機株式会社
照明制御システム
22日前
三菱電機株式会社
ウエハテスト装置
1か月前
三菱電機株式会社
ヒートポンプ装置
3日前
三菱電機株式会社
変圧器の診断方法
1か月前
続きを見る
他の特許を見る