TOP
|
特許
|
意匠
|
商標
特許ウォッチ
Twitter
他の特許を見る
10個以上の画像は省略されています。
公開番号
2025161433
公報種別
公開特許公報(A)
公開日
2025-10-24
出願番号
2024064607
出願日
2024-04-12
発明の名称
集束イオンビーム装置
出願人
日本電子株式会社
代理人
個人
,
個人
,
個人
主分類
H01J
37/317 20060101AFI20251017BHJP(基本的電気素子)
要約
【課題】試料室を有効に利用できる集束イオンビーム装置を提供する。
【解決手段】集束イオンビーム装置100では、イオンビームを試料に照射するための光学系を有する鏡筒と、試料が配置され、真空状態に維持可能な試料室8と、シャフト56と、シャフト56の先端に設けられた試料を保持する試料保持部50と、を有する試料ホルダー5と、試料ホルダー5を着脱可能に保持する試料ステージ6と、を含み、試料ステージ6は、試料ホルダー5を移動させる第1移動機構66と、試料ホルダー5および第1移動機構66を一体として、シャフト56の軸に沿って移動させる第2移動機構68と、を有している。
【選択図】図6
特許請求の範囲
【請求項1】
イオンビームを試料に照射するための光学系を有する鏡筒と、
前記試料が配置され、真空状態に維持可能な試料室と、
シャフトと、前記シャフトの先端に設けられた前記試料を保持する試料保持部と、を有する試料ホルダーと、
前記試料ホルダーを着脱可能に保持する試料ステージと、
を含み、
前記試料ステージは、
前記試料ホルダーを移動させる第1移動機構と、
前記試料ホルダーおよび前記第1移動機構を一体として、前記シャフトの軸に沿って移動させる第2移動機構と、
を有している、集束イオンビーム装置。
続きを表示(約 1,200 文字)
【請求項2】
請求項1において、
前記第2移動機構は、前記試料ホルダーおよび前記第1移動機構を、前記試料保持部が前記光学系の光軸から離れた位置に位置する第1位置と、前記試料保持部が前記光学系の光軸上に位置する第2位置と、の間で移動させる、集束イオンビーム装置。
【請求項3】
請求項2において、
前記第2移動機構は、
前記試料ホルダーが挿入される筒状部材を支持するステージベースと、
前記ステージベースを前記シャフトの軸に沿って移動させる駆動部と、
を有し、
前記試料ステージは、前記試料室を区画する試料室壁に固定されたベースプレートを有し、
前記試料ホルダーおよび前記第1移動機構が前記第2位置に位置している状態では、前記試料ホルダーが真空状態の前記試料室に引き込まれる力によって、前記ステージベースが前記ベースプレートに押し当てられる、集束イオンビーム装置。
【請求項4】
請求項1において、
前記第1移動機構は、前記シャフトを、前記シャフトの軸を回転軸として回転させることによって、前記試料保持部を回転させる回転駆動部を含む、集束イオンビーム装置。
【請求項5】
請求項1において、
前記試料ホルダーは、バルク試料を保持するためのバルク試料台を有し、
前記シャフトの軸に沿って、前記シャフトの後端から前記シャフトの先端に向かう方向に、前記試料保持部、前記バルク試料台の順で配置されている、集束イオンビーム装置。
【請求項6】
請求項5において、
前記第2移動機構は、前記試料ホルダーおよび前記第1移動機構を、前記バルク試料台が前記光学系の光軸上に位置する第1位置と、前記試料保持部が前記光学系の光軸上に位置する第2位置と、の間で移動させる、集束イオンビーム装置。
【請求項7】
請求項6において、
前記第1移動機構は、
前記試料ホルダーが挿入され、前記試料ホルダーを回転可能に支持する球面軸受けと、
前記球面軸受けを支点として、前記試料ホルダーを回転させる駆動部と、
を含み、
前記支点と前記バルク試料台との間の距離は、前記支点と前記試料保持部との間の距離
よりも大きい、集束イオンビーム装置。
【請求項8】
請求項7において、
前記第2移動機構が前記試料ホルダーと前記第1移動機構を一体として移動させることによって、前記支点と前記試料保持部との間の距離、および前記支点と前記バルク試料台との間の距離は変化しない、集束イオンビーム装置。
【請求項9】
請求項1ないし8のいずれか1項において、
前記試料ホルダーは、
前記シャフトの後端に取り付けられた冷媒タンクと、
前記冷媒タンクと前記試料保持部を熱的に接続する伝熱部材と、
を含む、集束イオンビーム装置。
発明の詳細な説明
【技術分野】
【0001】
本発明は、集束イオンビーム装置に関する。
続きを表示(約 1,600 文字)
【背景技術】
【0002】
集束イオンビーム装置では、集束イオンビームで試料表面を走査することによって、試料を加工できる。集束イオンビーム装置では、試料を集束イオンビームで加工することによって、透過電子顕微鏡用の試料を作製できる。
【0003】
例えば、特許文献1には、透過電子顕微鏡用の試料ホルダーを試料室に挿入して、透過電子顕微鏡用の試料ホルダーに保持された試料を集束イオンビームで加工できる試料作製装置が開示されている。
【先行技術文献】
【特許文献】
【0004】
特開2000-146781号公報
【発明の概要】
【発明が解決しようとする課題】
【0005】
上記のような集束イオンビーム装置では、透過電子顕微鏡用の試料ホルダーを試料室に挿入した際に、試料ホルダーがイオンビーム光学系の光軸近傍に配置される。しかしながら、試料室のイオンビーム光学系の光軸近傍には、FIB鏡筒や、SEM像(scanning electron microscope images)を観察するためのSEM鏡筒、切り出した試料をピックアップするためのプローブなど様々な装置が配置されている。そのため、試料室を有効に利用できる集束イオンビーム装置が望まれている。
【課題を解決するための手段】
【0006】
本発明に係る集束イオンビーム装置の一態様は、
イオンビームを試料に照射するための光学系を有する鏡筒と、
前記試料が配置され、真空状態に維持可能な試料室と、
シャフトと、前記シャフトの先端に設けられた前記試料を保持する試料保持部と、を有する試料ホルダーと、
前記試料ホルダーを着脱可能に保持する試料ステージと、
を含み、
前記試料ステージは、
前記試料ホルダーを移動させる第1移動機構と、
前記試料ホルダーおよび前記第1移動機構を一体として、前記シャフトの軸に沿って移動させる第2移動機構と、
を有している。
【0007】
このような集束イオンビーム装置では、第2移動機構が第1移動機構と試料ホルダーを一体として移動させることができるため、試料室を有効に利用できる。
【図面の簡単な説明】
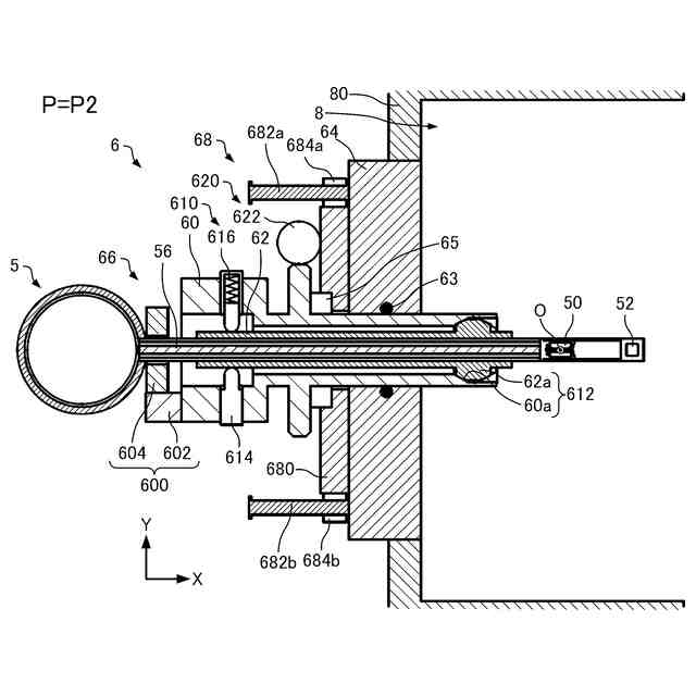
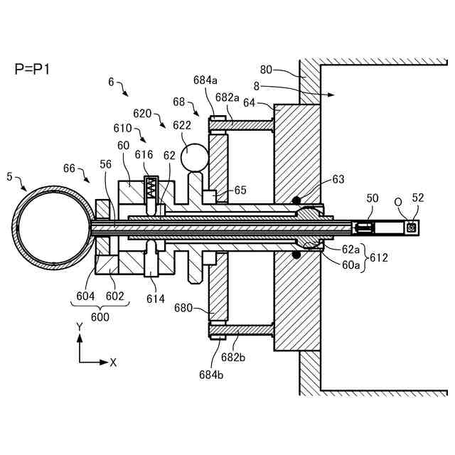
【0008】
第1実施形態に係る集束イオンビーム装置の構成の一例を示す図。
試料ホルダーを模式的に示す斜視図。
試料ホルダーを模式的に示す断面図。
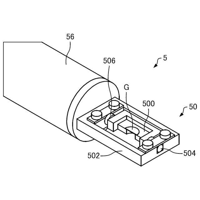
試料ホルダーの試料保持部を模式的に示す斜視図。
試料ホルダーの試料保持部を模式的に示す斜視図。
試料ステージを模式的に示す断面図。
試料ステージを模式的に示す断面図。
Y駆動部の動作を説明するための図。
試料作製方法の一例を示すフローチャート。
第2実施形態に係る集束イオンビーム装置の試料ステージを模式的に示す断面図。
第2実施形態に係る集束イオンビーム装置の試料ステージを模式的に示す断面図。
【発明を実施するための形態】
【0009】
以下、本発明の好適な実施形態について図面を用いて詳細に説明する。なお、以下に説明する実施形態は、特許請求の範囲に記載された本発明の内容を不当に限定するものではない。また、以下で説明される構成の全てが本発明の必須構成要件であるとは限らない。
【0010】
1. 第1実施形態
1.1. 集束イオンビーム装置
まず、第1実施形態に係る集束イオンビーム装置について図面を参照しながら説明する。図1は、第1実施形態に係る集束イオンビーム装置100の構成の一例を示す図である。図1には、互いに直交する3つの軸として、X軸、Y軸、およびZ軸を図示している。
(【0011】以降は省略されています)
この特許をJ-PlatPat(特許庁公式サイト)で参照する
関連特許
日本電子株式会社
集束イオンビーム装置
12日前
日本電子株式会社
荷電粒子線装置および解析方法
14日前
日本電子株式会社
透過電子顕微鏡、画像分類方法、および電子ビームの調整方法
27日前
APB株式会社
蓄電セル
12日前
東ソー株式会社
絶縁電線
14日前
個人
フレキシブル電気化学素子
26日前
ローム株式会社
半導体装置
13日前
株式会社ユーシン
操作装置
26日前
日新イオン機器株式会社
イオン源
22日前
株式会社東芝
端子台
6日前
マクセル株式会社
電源装置
6日前
ローム株式会社
半導体装置
28日前
太陽誘電株式会社
コイル部品
26日前
株式会社GSユアサ
蓄電設備
26日前
株式会社GSユアサ
蓄電装置
7日前
株式会社ホロン
冷陰極電子源
20日前
オムロン株式会社
電磁継電器
27日前
株式会社GSユアサ
蓄電設備
26日前
株式会社GSユアサ
蓄電装置
7日前
北道電設株式会社
配電具カバー
12日前
日東電工株式会社
積層体
27日前
トヨタ自動車株式会社
バッテリ
12日前
日本特殊陶業株式会社
保持装置
15日前
トヨタ自動車株式会社
蓄電装置
7日前
トヨタ自動車株式会社
バッテリ
27日前
トヨタ自動車株式会社
冷却構造
14日前
サクサ株式会社
電池の固定構造
26日前
トヨタ自動車株式会社
蓄電装置
26日前
日新イオン機器株式会社
基板処理装置
9日前
ノリタケ株式会社
熱伝導シート
26日前
トヨタ自動車株式会社
密閉型電池
8日前
日亜化学工業株式会社
半導体レーザ素子
9日前
日本無線株式会社
レーダアンテナ
今日
トヨタ自動車株式会社
電池パック
19日前
日本製紙株式会社
導電性フィルム
27日前
株式会社ダイヘン
搬送装置
26日前
続きを見る
他の特許を見る