TOP
|
特許
|
意匠
|
商標
特許ウォッチ
Twitter
他の特許を見る
10個以上の画像は省略されています。
公開番号
2025159911
公報種別
公開特許公報(A)
公開日
2025-10-22
出願番号
2024062765
出願日
2024-04-09
発明の名称
荷電粒子線装置および解析方法
出願人
日本電子株式会社
代理人
個人
,
個人
,
個人
主分類
H01J
37/22 20060101AFI20251015BHJP(基本的電気素子)
要約
【課題】特徴像の取得時間を短くできる荷電粒子線装置を提供する。
【解決手段】本発明に係る荷電粒子線装置では、画像取得部は、取得済みの試料像において視野に占める特徴物の領域の割合に基づいて、特徴像を取得するための複数のモードから1つのモードを選択する処理と、選択したモードで特徴像を取得する処理と、を繰り返して、複数の特徴像を取得し、複数のモードは、試料を第1スキャンスピードで走査して試料像を撮影し、撮影した試料像をトリミングして特徴像を取得する第1モードと、試料を第1スキャンスピードよりも速い第2スキャンスピードで走査して試料像を撮影し、撮影した試料像における特徴物の領域を第2スキャンスピードよりも遅い第3スキャンスピードで走査して特徴像を撮影する第2モードと、を含む。
【選択図】図8
特許請求の範囲
【請求項1】
試料を荷電粒子線で走査して試料像を撮影する測定部と、
前記試料の複数の領域で撮影された複数の試料像を取得し、前記複数の試料像の各々から前記試料に含まれる特徴物の像である特徴像を取得する画像取得部と、
前記特徴像に基づいて前記特徴物の情報を取得する解析部と、
を含み、
前記画像取得部は、
取得済みの試料像において視野に占める前記特徴物の領域の割合に基づいて、前記特徴像を取得するための複数のモードから1つのモードを選択する処理と、
選択したモードで前記特徴像を取得する処理と、
を繰り返して、複数の前記特徴像を取得し、
前記複数のモードは、
前記試料を第1スキャンスピードで走査して試料像を撮影し、撮影した試料像をトリミングして前記特徴像を取得する第1モードと、
前記試料を前記第1スキャンスピードよりも速い第2スキャンスピードで走査して試料像を撮影し、撮影した試料像における前記特徴物の領域を前記第2スキャンスピードよりも遅い第3スキャンスピードで走査して前記特徴像を撮影する第2モードと、
を含む、荷電粒子線装置。
続きを表示(約 1,800 文字)
【請求項2】
請求項1において、
前記画像取得部は、モードを選択する処理において、
取得済みの試料像における前記割合の代表値を計算し、
前記代表値に基づいて、前記複数のモードから1つのモードを選択する、荷電粒子線装置。
【請求項3】
請求項2において、
前記画像取得部は、モードを選択する処理において、
取得済みの各試料像において前記特徴物の領域の画素数を求めて、平均画素数を算出し、
前記平均画素数が閾値よりも大きい場合に、前記第1モードで前記特徴像を取得し、
試料像の画素数をR、前記第1モードにおいて試料像を撮影するときの1画素あたりの滞在時間をD、前記第2モードにおいて試料像を撮影するときの1画素あたりの滞在時間をD1、前記第2モードにおいて粒子像を撮影するときの1画素あたりの滞在時間をD2とすると、前記閾値は、(R×(D-D1))/D2である、荷電粒子線装置。
【請求項4】
請求項1において、
前記画像取得部は、モードを選択する処理において、
前記試料の第1領域の試料像を撮影する場合に、取得済みの試料像であって、前記第1領域に隣接する第2領域の試料像において前記割合の代表値を計算し、
前記代表値に基づいて、前記複数のモードから1つのモードを選択する、荷電粒子線装置。
【請求項5】
請求項1において、
前記画像取得部は、モードを選択する処理において、
第1領域の試料像の次に第2領域の試料像を撮影する場合に、前記第1領域の試料像において前記割合を計算し、
前記第1領域の試料像における前記割合に基づいて、前記複数のモードから1つのモードを選択する、荷電粒子線装置。
【請求項6】
請求項1において、
前記画像取得部は、モードを選択する処理において、第1領域の試料像の次に第2領域の試料像を撮影する場合に、
前記第1領域と前記第2領域が隣接している場合には、前記第1領域の試料像において前記割合を計算し、前記第1領域の試料像における前記割合に基づいて、前記複数のモードから1つのモードを選択し、
前記第1領域と前記第2領域が隣接していない場合には、前記第2領域に隣接する第3領域の試料像において前記割合を計算し、前記第1領域の試料像における前記割合に基づいて、前記複数のモードから1つのモードを選択する、荷電粒子線装置。
【請求項7】
請求項1ないし6のいずれか1項において、
前記第2モードにおいて試料像を撮影するときの1画素あたりの荷電粒子線の滞在時間は、前記第1モードにおいて試料像を撮影するときの1画素あたりの荷電粒子線の滞在時間よりも短い、荷電粒子線装置。
【請求項8】
請求項1ないし6のいずれか1項において、
前記第2モードにおける試料像の解像度は、前記第1モードにおける試料像の解像度よりも低い、荷電粒子線装置。
【請求項9】
試料を荷電粒子線で走査して試料像を撮影する荷電粒子線装置における解析方法であって、
前記試料の複数の領域で撮影された複数の試料像を取得し、前記複数の試料像の各々から前記試料に含まれる特徴物の像である特徴像を取得する工程と、
前記特徴像に基づいて前記特徴物の情報を取得する工程と、
を含み、
前記特徴像を取得する工程は、
取得済みの試料像において視野に占める前記特徴物の領域の割合に基づいて、前記特徴像を取得するための複数のモードから1つのモードを選択する工程と、
選択したモードで前記特徴像を取得する工程と、
を繰り返して、複数の前記特徴像を取得し、
前記複数のモードは、
前記試料を第1スキャンスピードで走査して試料像を撮影し、撮影した試料像をトリミングして前記特徴像を取得する第1モードと、
前記試料を前記第1スキャンスピードよりも速い第2スキャンスピードで走査して試料像を撮影し、撮影した試料像における前記特徴物の領域を前記第2スキャンスピードよりも遅い第3スキャンスピードで走査して前記特徴像を撮影する第2モードと、
を含む、解析方法。
発明の詳細な説明
【技術分野】
【0001】
本発明は、荷電粒子線装置および解析方法に関する。
続きを表示(約 2,000 文字)
【背景技術】
【0002】
走査電子顕微鏡(SEM:Scanning Electron Microscope)や電子プローブマイクロアナライザー(EPMA:Electron Probe Microanalyzer)等を用いた粒子解析が知られている。
【0003】
例えば、特許文献1には、反射電子像あるいは二次電子像を取得し、予め標準試料等で設定したコントラストの閾値で粒子を抽出し、エネルギー分散型X線分光器で特性X線を測定することにより、その強度値あるいは濃度値を用いて粒子を分類しながら、予め設定した視野範囲の測定がすべて終了するまで、繰り返し測定を行う粒子解析方法が開示されている。
【先行技術文献】
【特許文献】
【0004】
特開2015-148499号公報
【発明の概要】
【発明が解決しようとする課題】
【0005】
粒子解析では、粒子像を繰り返し取得して、多数の粒子について解析を行う。そのため、粒子解析では、粒子像を取得するために長時間の測定が必要であった。
【課題を解決するための手段】
【0006】
本発明に係る荷電粒子線装置の一態様は、
試料を荷電粒子線で走査して試料像を撮影する測定部と、
前記試料の複数の領域で撮影された複数の試料像を取得し、前記複数の試料像の各々から前記試料に含まれる特徴物の像である特徴像を取得する画像取得部と、
前記特徴像に基づいて前記特徴物の情報を取得する解析部と、
を含み、
前記画像取得部は、
取得済みの試料像において視野に占める前記特徴物の領域の割合に基づいて、前記特徴像を取得するための複数のモードから1つのモードを選択する処理と、
選択したモードで前記特徴像を取得する処理と、
を繰り返して、複数の前記特徴像を取得し、
前記複数のモードは、
前記試料を第1スキャンスピードで走査して試料像を撮影し、撮影した試料像をトリミングして前記特徴像を取得する第1モードと、
前記試料を前記第1スキャンスピードよりも速い第2スキャンスピードで走査して試料像を撮影し、撮影した試料像における前記特徴物の領域を前記第2スキャンスピードよりも遅い第3スキャンスピードで走査して前記特徴像を撮影する第2モードと、
を含む。
【0007】
このような荷電粒子線装置では、特徴像の取得時間を短くできる。
【0008】
本発明に係る解析方法の一態様は、
試料を荷電粒子線で走査して試料像を撮影する荷電粒子線装置における解析方法であっ
て、
前記試料の複数の領域で撮影された複数の試料像を取得し、前記複数の試料像の各々から前記試料に含まれる特徴物の像である特徴像を取得する工程と、
前記特徴像に基づいて前記特徴物の情報を取得する工程と、
を含み、
前記特徴像を取得する工程は、
取得済みの試料像において視野に占める前記特徴物の領域の割合に基づいて、前記特徴像を取得するための複数のモードから1つのモードを選択する工程と、
選択したモードで前記特徴像を取得する工程と、
を繰り返して、複数の前記特徴像を取得し、
前記複数のモードは、
前記試料を第1スキャンスピードで走査して試料像を撮影し、撮影した試料像をトリミングして前記特徴像を取得する第1モードと、
前記試料を前記第1スキャンスピードよりも速い第2スキャンスピードで走査して試料像を撮影し、撮影した試料像における前記特徴物の領域を前記第2スキャンスピードよりも遅い第3スキャンスピードで走査して前記特徴像を撮影する第2モードと、
を含む。
【0009】
このような解析方法では、特徴像の取得時間を短くできる。
【図面の簡単な説明】
【0010】
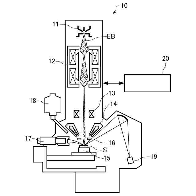
第1実施形態に係る電子顕微鏡の構成の一例を示す図。
粒子解析装置の構成の一例を示す図。
第1モードを説明するための図。
第2モードを説明するための図。
粒子解析方法を説明するための図。
粒子解析方法を説明するための図。
粒子解析方法を説明するための図。
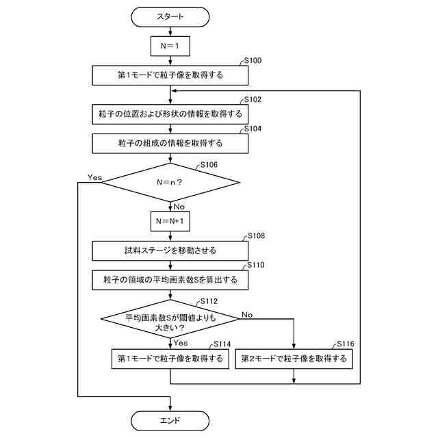
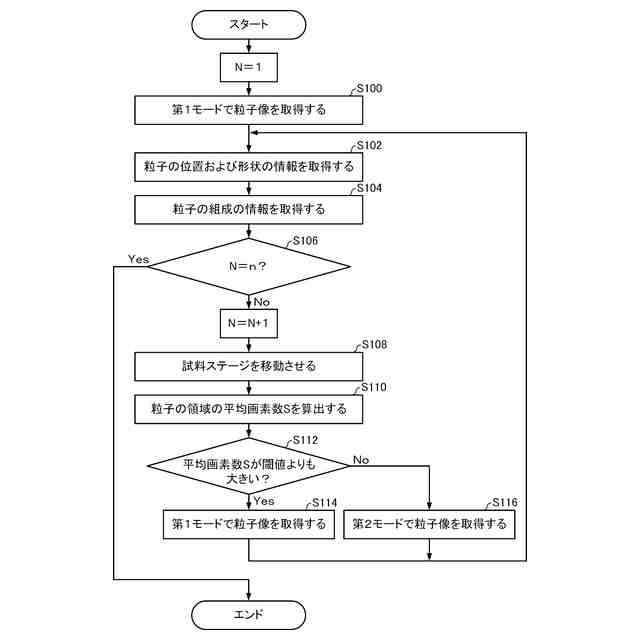
粒子解析装置の粒子解析処理の流れの一例を示すフローチャート。
粒子解析方法を説明するための図。
粒子解析方法を説明するための図。
粒子解析方法を説明するための図。
粒子解析方法を説明するための図。
粒子解析方法を説明するための図。
粒子解析方法を説明するための図。
試料の各領域を解析する順序を説明するための図。
【発明を実施するための形態】
(【0011】以降は省略されています)
この特許をJ-PlatPat(特許庁公式サイト)で参照する
関連特許
日本電子株式会社
集束イオンビーム装置
7日前
日本電子株式会社
荷電粒子線装置および解析方法
9日前
日本電子株式会社
透過電子顕微鏡、画像分類方法、および電子ビームの調整方法
22日前
東ソー株式会社
絶縁電線
9日前
APB株式会社
蓄電セル
7日前
個人
フレキシブル電気化学素子
21日前
日新イオン機器株式会社
イオン源
17日前
ローム株式会社
半導体装置
8日前
株式会社ユーシン
操作装置
21日前
マクセル株式会社
電源装置
1日前
ローム株式会社
半導体装置
28日前
株式会社東芝
端子台
1日前
ローム株式会社
半導体装置
23日前
株式会社GSユアサ
蓄電装置
2日前
株式会社GSユアサ
蓄電装置
2日前
株式会社ホロン
冷陰極電子源
28日前
株式会社ホロン
冷陰極電子源
15日前
太陽誘電株式会社
全固体電池
28日前
太陽誘電株式会社
コイル部品
21日前
オムロン株式会社
電磁継電器
22日前
株式会社GSユアサ
蓄電装置
28日前
株式会社GSユアサ
蓄電設備
21日前
株式会社GSユアサ
蓄電設備
21日前
サクサ株式会社
電池の固定構造
21日前
トヨタ自動車株式会社
蓄電装置
2日前
日新イオン機器株式会社
基板処理装置
4日前
トヨタ自動車株式会社
バッテリ
7日前
日本特殊陶業株式会社
保持装置
28日前
TDK株式会社
電子部品
28日前
日本特殊陶業株式会社
保持装置
10日前
トヨタ自動車株式会社
冷却構造
9日前
北道電設株式会社
配電具カバー
7日前
日本特殊陶業株式会社
保持装置
28日前
日東電工株式会社
積層体
22日前
ノリタケ株式会社
熱伝導シート
21日前
トヨタ自動車株式会社
蓄電装置
21日前
続きを見る
他の特許を見る