TOP
|
特許
|
意匠
|
商標
特許ウォッチ
Twitter
他の特許を見る
10個以上の画像は省略されています。
公開番号
2025161370
公報種別
公開特許公報(A)
公開日
2025-10-24
出願番号
2024064497
出願日
2024-04-12
発明の名称
繋留牛の管理方法及び管理システム
出願人
国立研究開発法人農業・食品産業技術総合研究機構
,
オリオン機械株式会社
代理人
個人
,
弁理士法人太陽国際特許事務所
主分類
A01K
29/00 20060101AFI20251017BHJP(農業;林業;畜産;狩猟;捕獲;漁業)
要約
【課題】 個々の繋留牛に対して、十分な情報を取得し、かつ適切な判定結果に基づいて最適な対応処理を行う。
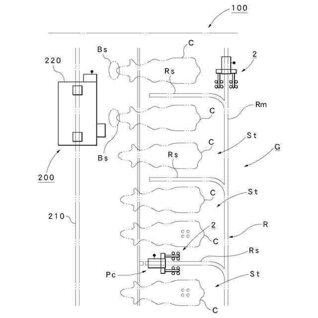
【解決手段】 移動する搾乳機2に直接的又は間接的に設置した生体センサ3により、繋留牛Cの牛体状態を非接触により実測して得た生体関連情報Dc,繋留牛Cを収容したストールStを含む環境状態を環境センサ4により実測して得た環境関連情報De,及びコントローラEの管理データ5として登録された繋留牛Cの搾乳データ及び搾乳に係わる繋留牛Cの搾乳関連情報Dmを取得するとともに、実測した生体関連情報Dc,環境関連情報De,搾乳関連情報Dm,の一又は二以上に基づき、所定のモデル式による演算処理により求めた推定生体関連情報Dceを判定し又は実測した所定の実測生体関連情報Dcdと比較して判定し、この判定に基づいて所定の対応処理を行う。
【選択図】 図1
特許請求の範囲
【請求項1】
少なくとも繋留牛に係わる所定の情報を取得し、かつ取得した前記情報に基づいて少なくとも前記繋留牛の健康状態を判定処理することにより、この判定結果に対する所定の対応処理を行う繋留牛の管理方法において、移動する搾乳機に直接的又は間接的に設置した生体センサにより、繋留牛の牛体状態を非接触により実測して得た生体関連情報,前記繋留牛を収容したストールを含む環境状態を環境センサにより実測して得た環境関連情報,及びコントローラの管理データとして登録された前記繋留牛の搾乳データ及び搾乳に係わる前記繋留牛の搾乳関連情報を取得するとともに、実測した前記生体関連情報,前記環境関連情報,前記搾乳関連情報,の一又は二以上に基づき、所定のモデル式による演算処理により求めた推定生体関連情報を判定する又は実測した所定の前記実測生体関連情報と比較して判定する判定処理を行い、この判定結果に基づいて所定の対応処理を行うことを特徴とする繋留牛の管理方法。
続きを表示(約 1,000 文字)
【請求項2】
少なくとも繋留牛に係わる所定の情報を取得し、かつ取得した前記情報に基づいて少なくとも前記繋留牛の健康状態を判定処理することにより、この判定結果に対する所定の対応処理を行う繋留牛の管理システムにおいて、移動する搾乳機に直接的又は間接的に設置した生体センサにより、繋留牛の牛体状態を非接触により実測して生体関連情報を取得する生体関連情報実測手段と、前記繋留牛を収容したストールを含む環境状態を環境センサにより実測して環境関連情報を取得する環境関連情報取得手段と、コントローラの管理データとして登録された前記繋留牛の搾乳データ及び搾乳に係わる前記繋留牛の搾乳関連情報を取得する搾乳関連情報取得手段と、実測した前記生体関連情報,前記環境関連情報,前記搾乳関連情報,の一又は二以上に基づき、所定のモデル式による演算処理により求めた推定生体関連情報を判定する又は実測した所定の前記実測生体関連情報と比較して判定する判定処理手段と、この判定処理手段の判定結果に基づいて所定の対応処理を行う対応処理手段と、を備えることを特徴とする繋留牛の管理システム。
【請求項3】
前記生体関連情報実測手段は、前記繋留牛の、心拍数及び/又は呼吸数を非接触によりの計測するバイタルセンサを用いることを特徴とする請求項2記載の繋留牛の管理システム。
【請求項4】
前記環境関連情報取得手段は、温湿度を計測する温湿度センサ及び/又は不快指数を算出する算出手段を備えることを特徴とする請求項2記載の繋留牛の管理システム。
【請求項5】
前記搾乳関連情報取得手段は、前記繋留牛の、乳量,分娩後日数,産次数,の一又は二以上を、コントローラの管理データから取得することを特徴とする請求項2記載の繋留牛の管理システム。
【請求項6】
前記対応処理手段は、換気扇の強弱を制御する換気扇制御手段,飼料の増減や変更を設計する飼料設計手段,空間の洗浄の有無を制御する空間洗浄制御手段,の一又は二以上を備えることを特徴とする請求項2記載の繋留牛の管理システム。
【請求項7】
前記対応処理手段は、所定の閾値により上限値及び/又は下限値を設定し、前記上限値及び/又は前記下限値を外れた際にアラートを出力するアラート出力手段を備えることを特徴とする請求項2記載の繋留牛の管理システム。
発明の詳細な説明
【技術分野】
【0001】
本発明は、繋留牛に係わる所定の情報を取得して当該繋留牛の健康状態を判定処理し、所定の対応処理を行う繋留牛の管理方法及び管理システムに関する。
続きを表示(約 1,600 文字)
【背景技術】
【0002】
従来、繋留牛に係わる所定の情報を取得し、当該繋留牛の健康状態を判定するとともに、この判定に対して、所定の対応処理を行う繋留牛の管理方法(管理システム)としては、特許文献1に記載される繋留牛のモニタリングシステム,特許文献2に記載される炎症性疾患予兆検出装置,及び特許文献3に記載される送風機制御システムが知られている。
【0003】
特許文献1に記載の繋留牛のモニタリングシステムは、牛体状態を総合的な見地からモニタリングし、人的な管理を大幅に削減するとともに、単一システムにより実現することにより、設備の簡略化及びコストダウンを図ることを目的としたものであり、具体的には、繋留牛の上方及び/又は側方に配設することにより繋留牛に対する距離を計測する非接触方式による少なくとも一つ以上の測距センサを有するセンシング部と、このセンシング部により得られる距離データに基づき繋留牛の少なくとも一つ以上の動静状態を判定する第一判定処理部,この第一判定処理部から得る少なくとも一つ以上の動静状態の判定結果を含む基礎データに基づき牛体状態を判定する第二判定処理部,及びこの第二判定処理部から得る牛体状態の判定結果に係わる判定情報を出力する出力部を有するコンピュータ処理機能部とを具備して構成されたものである。
【0004】
また、特許文献2に記載の炎症性疾患予兆検出装置は、家畜において炎症性疾患の予兆を検出する技術を実現することを目的としたものであり、具体的には、被験家畜における所定の時間帯の心拍情報と、健常な家畜における前記所定の時間帯の心拍情報とを参照して、前記被験家畜における炎症性疾患の予兆を判定する判定部を備えて構成されたものである。
【0005】
さらに、特許文献3に記載の送風機制御システムは、家畜状態測定部と、温熱環境測定部と、送風機と、制御部と、を備え、家畜状態測定部は、畜舎に設置され、家畜の生理的状態を測定するとともに、温熱環境測定部は、畜舎に設置され、畜舎の温熱環境を測定し、さらに、送風機は家畜に風を送るようにしたものであり、制御部は、生理的状態と温熱環境との関係に基づいて送風機の回転数を制御するように構成されたものである。
【先行技術文献】
【特許文献】
【0006】
特開2017-163947号公報
特開2022-176129号公報
国際公開WO2022/3807号公報
【発明の概要】
【発明が解決しようとする課題】
【0007】
しかし、上述した従来における繋留牛の管理方法及び管理システムは、次のような解決すべき課題も存在した。
【0008】
即ち、繋留牛の場合、牛体に係わる所定の情報を取得しても、得られる情報は、特定の目的に関連する情報に限られるため、利用できる情報は必ずしも十分とは言えない。例えば、繋留牛の健康状態は、牛体自身の状態のみならず、周辺環境により複雑に影響を受けるとともに、搾乳に関しても直接的に影響を与えるため、健康状態を判定する場合、これらの全体の情報を含めることが望ましい。
【0009】
一方、繋留牛は、個々に、個性を有しているため、各牛体に対して画一的な判定基準により判定することは適切ではない。例えば、同一の情報が得られたとしても、個々の繋留牛の健康状態は良好な場合と必ずしもそうでない場合が存在する。
【0010】
結局、従来は、不十分な情報に基づき、個々の牛体に対して、いわば平均的かつ標準的な判定基準を適用していたため、各牛体にとって最適な判定結果を適用しているとは言えない側面があり、個々の繋留牛に対して、十分な情報を取得するとともに、適切な判定結果により最適な対応処理を実施する観点からは、更なる改善の余地が存在した。
(【0011】以降は省略されています)
この特許をJ-PlatPat(特許庁公式サイト)で参照する
関連特許
個人
草刈り鋏
1か月前
個人
釣り用錘
13日前
個人
蠅捕獲器
1か月前
個人
噴霧器ノズル
11日前
個人
蜜蜂保護装置
24日前
個人
種子の製造方法
1か月前
個人
草刈機用回転刃
1か月前
個人
昆虫捕集器
1か月前
井関農機株式会社
作業車両
1か月前
個人
可動リップ付きルアー
16日前
株式会社剛樹
釣り竿
9日前
井関農機株式会社
作業車両
1か月前
株式会社ナベル
表示システム
19日前
井関農機株式会社
圃場作業機
16日前
個人
ブルーカーボンシステム
16日前
個人
四足動物用装着具
1か月前
個人
餌付き針の餌取り防止具
19日前
大栄工業株式会社
捕獲器
1か月前
有限会社信英精密
括り罠
3日前
株式会社オーツボ
海苔箱船
1か月前
みのる産業株式会社
除草機
19日前
みのる産業株式会社
除草機
19日前
井関農機株式会社
苗移植機
3日前
松山株式会社
収穫機
16日前
松山株式会社
収穫機
16日前
井関農機株式会社
作業車両
1か月前
井関農機株式会社
作業車両
1か月前
株式会社アテックス
芝草の刈取装置
2日前
松山株式会社
草刈作業機
24日前
個人
自閉式「洗濯バサミ型」虫捕獲器
3日前
みのる産業株式会社
茎葉処理装置
1か月前
株式会社シマノ
釣糸ガイド
16日前
株式会社シマノ
釣糸ガイド
16日前
株式会社三生
足括り罠
26日前
株式会社スズテック
播種装置
1か月前
株式会社クボタ
作業車
11日前
続きを見る
他の特許を見る