TOP
|
特許
|
意匠
|
商標
特許ウォッチ
Twitter
他の特許を見る
公開番号
2025161028
公報種別
公開特許公報(A)
公開日
2025-10-24
出願番号
2024063867
出願日
2024-04-11
発明の名称
温度調節装置
出願人
株式会社KELK
代理人
弁理士法人志賀国際特許事務所
主分類
H01L
21/683 20060101AFI20251017BHJP(基本的電気素子)
要約
【課題】幅広い温度レンジにおいて載置面の平面度及び平行度を高精度に維持しつつ、移動に伴う載置面のズレを抑制することができる温度調節装置を提供する。
【解決手段】温度調節装置は、温調対象物が載置される載置面を有する載置部と、載置部と第1方向に対向する底部と、第1方向で載置部と底部との間に配置され、載置部を介して温調対象物の加熱及び冷却が可能な熱源と、底部の外周部に設けられ、第1方向で載置部側に延びるとともに、載置部を支持する支持部と、第1方向で載置部と底部との間に配置され、底部に対して載置部を揺動可能に、載置部の中心と底部の中心とを位置決めする位置決め部材と、支持部に設けられ、載置部の中心を通り第1方向に延びる軸線に交差する第2方向の外側から載置部の外周部を弾性支持する弾性支持部と、を備える。
【選択図】図2
特許請求の範囲
【請求項1】
温調対象物が載置される載置面を有する載置部と、
前記載置部と第1方向に対向する底部と、
前記第1方向で前記載置部と前記底部との間に配置され、前記載置部を介して前記温調対象物の加熱及び冷却が可能な熱源と、
前記底部の外周部に設けられ、前記第1方向で前記載置部側に延びるとともに、前記載置部を支持する支持部と、
前記第1方向で前記載置部と前記底部との間に配置され、前記底部に対して前記載置部を揺動可能に、前記載置部の中心と前記底部の中心とを位置決めする位置決め部材と、
前記支持部に設けられ、前記載置部の中心を通り前記第1方向に延びる軸線に交差する第2方向の外側から前記載置部の外周部を弾性支持する弾性支持部と、
を備える、温度調節装置。
続きを表示(約 540 文字)
【請求項2】
前記弾性支持部は、
前記載置部の外周側に配置され、前記第2方向に中心軸線が延びるOリングと、
前記Oリングの外周側に配置され、前記Oリングを前記載置部に押し付けるブラケットと、
を有する、
請求項1に記載の温度調節装置。
【請求項3】
前記弾性支持部は、
前記載置部にねじ込まれるとともに、前記Oリング及び前記ブラケットに挿通される軸部、及び前記軸部の端部に設けられるとともに、前記ブラケットを前記Oリングに押し付け可能な頭部を有するボルトを有し、
請求項2に記載の温度調節装置。
【請求項4】
前記弾性支持部は、前記支持部に設けられ、前記載置部の外周部を記載置部の中心に向けて弾性力により押し付ける板バネを有する、
請求項1に記載の温度調節装置。
【請求項5】
前記載置部は、外周側に突出する突出部を有し、
前記板バネは、
前記第1方向で前記底部とは反対側から前記突出部を押し付ける第1押付け部と、
前記載置部の外周部に沿う方向の両側から前記突出部を押し付ける第2押付け部と、
を有する、
請求項4に記載の温度調節装置。
発明の詳細な説明
【技術分野】
【0001】
本発明は、温度調節装置に関する。
続きを表示(約 2,000 文字)
【背景技術】
【0002】
半導体の製造装置および検査装置では、ウエハの温度調節を行う温度調節装置が用いられる。
例えば特許文献1には、温度調節装置の一例が開示されている。この温度調節装置は、ウエハを支持する天板と、天板との間において内部空間を形成するように天板に接続されるベース板と、内部空間に配置される熱電モジュールと、を有する。熱電モジュールは、天板の載置面上に載置されるウエハの温度を調節する。温度調節装置では、幅広い温度レンジが求められている。また、ウエハの品質を良好に維持するため、ウエハが載置される載置面は、高精度な平面度及び平行度が要求されている。また、温度調節装置が搭載されるステージの移動に対し、載置面のずれを抑え、載置面の精度を維持することが求められている。
【先行技術文献】
【特許文献】
【0003】
特開2020-77810号公報
【発明の概要】
【発明が解決しようとする課題】
【0004】
幅広い温度レンジと、搭載面の高精度な平面度・平行度精度とが実現されるためには、載置部は中央でのみ固定され、載置部の外周部は拘束されない方がよい。これにより、載置部が厚さ方向と直交する方向に伸縮自在となり、熱収縮の影響が低減される。しかしながら、載置部が中央部でのみ固定されると、載置部が不安定となり、移動時に載置面がずれる場合がある。また、載置部の固定点を増やすことにより、移動時の載置面のずれは抑えられるが、載置部が熱収縮の影響を受け易くなり、載置面の平面度・平行度の精度が低下する。
【0005】
本発明は上記課題を解決するためになされたものであって、幅広い温度レンジにおいて載置面の平面度及び平行度を高精度に維持しつつ、移動に伴う載置面のズレを抑制することができる温度調節装置を提供することを目的とする。
【課題を解決するための手段】
【0006】
上記課題を解決するために、本発明に係る温度調節装置は、温調対象物が載置される載置面を有する載置部と、前記載置部と第1方向に対向する底部と、前記第1方向で前記載置部と前記底部との間に配置され、前記載置部を介して前記温調対象物の加熱及び冷却が可能な熱源と、前記底部の外周部に設けられ、前記第1方向で前記載置部側に延びるとともに、前記載置部を支持する支持部と、前記第1方向で前記載置部と前記底部との間に配置され、前記底部に対して前記載置部を揺動可能に、前記載置部の中心と前記底部の中心とを位置決めする位置決め部材と、前記支持部に設けられ、前記載置部の中心を通り前記第1方向に延びる軸線に交差する第2方向の外側から前記載置部の外周部を弾性支持する弾性支持部と、を備える。
【発明の効果】
【0007】
本発明によれば、幅広い温度レンジにおいて載置面の平面度及び平行度を高精度に維持しつつ、移動に伴う載置面のズレを抑制することができる。
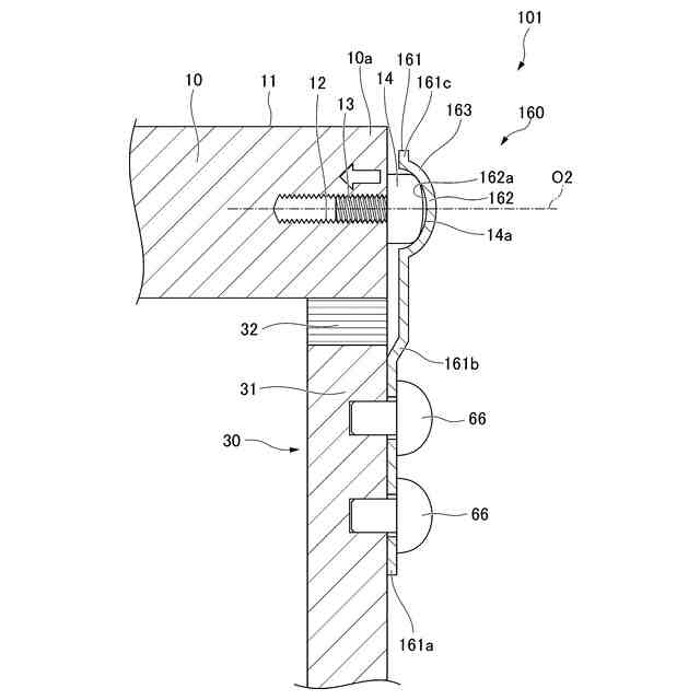
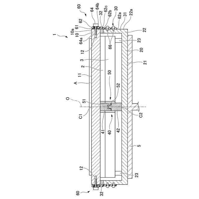
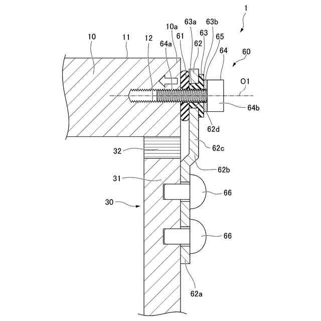
【図面の簡単な説明】
【0008】
本発明の第1実施形態に係る温度調節装置の平面図である。
本発明の第1実施形態に係る温度調節装置の断面図である。
本発明の第1実施形態に係る位置決め部材の一例を示す斜視図である。
本発明の第1実施形態に係る弾性支持部の断面図である。
本発明の第2実施形態に係る弾性支持部の断面図である。
本発明の第2実施形態に係る弾性支持部の斜視図である。
【発明を実施するための形態】
【0009】
<第1実施形態>
(温度調節装置の構成)
以下、本発明の第1実施形態に係る温度調節装置1について、図1から図4を参照して説明する。図1に示す温度調節装置1は、半導体ウエハ(以下、単にウエハAと称する。)を温度調節しながら、ウエハAに成膜、露光、及びエッチング等を行う。このウエハAは、温調対象物の一例である。
【0010】
図1、図2に示すように、温度調節装置1は、例えば円盤状に形成されている。例えば温度調節装置1は、ステージ5上に搭載されている。図示の例では、ステージ5は、水平方向に延在している。ステージ5は、互いに直交する3方向に自在に移動可能な、XYZステージである。ステージ5は、水平方向に延在する姿勢を維持したまま、上下方向及び水平方向に移動できる。ステージ5は例えば外部の制御装置(不図示)によって、上下方向及び水平方向の移動を制御されている。ステージ5は、温度調節装置1が搭載された状態で高速に移動する。これにより、温度調節装置1に載置されたウエハAが、測定装置(不図示)まで移動する。測定装置は、例えばウエハA上のデバイスをプロービングして測定する。プロービングの再現性を得るためには、ウエハAの位置を高精度に制御する必要がある。
(【0011】以降は省略されています)
この特許をJ-PlatPat(特許庁公式サイト)で参照する
関連特許
株式会社KELK
温度調節装置
1か月前
株式会社KELK
半導体ウエハの温度制御装置及び半導体ウエハの温度制御方法
1か月前
APB株式会社
蓄電セル
1か月前
東ソー株式会社
絶縁電線
1か月前
個人
フレキシブル電気化学素子
1か月前
マクセル株式会社
電源装置
24日前
株式会社東芝
端子台
24日前
ローム株式会社
半導体装置
1か月前
日新イオン機器株式会社
イオン源
1か月前
株式会社ユーシン
操作装置
1か月前
株式会社GSユアサ
蓄電設備
1か月前
太陽誘電株式会社
コイル部品
1か月前
株式会社GSユアサ
蓄電装置
17日前
株式会社GSユアサ
蓄電装置
25日前
株式会社GSユアサ
蓄電装置
25日前
株式会社GSユアサ
蓄電装置
3日前
富士電機株式会社
電磁接触器
3日前
株式会社GSユアサ
蓄電設備
1か月前
株式会社ホロン
冷陰極電子源
1か月前
三菱電機株式会社
回路遮断器
11日前
オムロン株式会社
電磁継電器
1か月前
トヨタ自動車株式会社
冷却構造
1か月前
トヨタ自動車株式会社
バッテリ
1か月前
日本特殊陶業株式会社
保持装置
16日前
日東電工株式会社
積層体
1か月前
北道電設株式会社
配電具カバー
1か月前
日新イオン機器株式会社
基板処理装置
27日前
トヨタ自動車株式会社
蓄電装置
25日前
トヨタ自動車株式会社
蓄電装置
1か月前
日本特殊陶業株式会社
保持装置
1か月前
トヨタ自動車株式会社
バッテリ
1か月前
ノリタケ株式会社
熱伝導シート
1か月前
サクサ株式会社
電池の固定構造
1か月前
ローム株式会社
半導体装置
1か月前
日本製紙株式会社
導電性フィルム
1か月前
ヒロセ電機株式会社
電気コネクタ
3日前
続きを見る
他の特許を見る