TOP
|
特許
|
意匠
|
商標
特許ウォッチ
Twitter
他の特許を見る
公開番号
2025159985
公報種別
公開特許公報(A)
公開日
2025-10-22
出願番号
2024062906
出願日
2024-04-09
発明の名称
樹脂組成物及びそれを含む成形品
出願人
株式会社TBM
代理人
弁理士法人鷲田国際特許事務所
主分類
C08L
101/00 20060101AFI20251015BHJP(有機高分子化合物;その製造または化学的加工;それに基づく組成物)
要約
【課題】優れた機械的強度(引張強度、伸び)を有し、且つ炭酸カルシウム粒子群を多く含んでいても外観の良好な成形品を得ることができる樹脂組成物を提供する。
【解決手段】樹脂組成物は、熱可塑性樹脂と炭酸カルシウム粒子群とを、質量比60:40~10:90の割合で含み、前記炭酸カルシウム粒子群は、前記炭酸カルシウム粒子群の全粒子数に対して60%以上の粒子数の六角板状の炭酸カルシウム粒子を含む。
【選択図】図1
特許請求の範囲
【請求項1】
熱可塑性樹脂と炭酸カルシウム粒子群とを、質量比60:40~10:90の割合で含み、
前記炭酸カルシウム粒子群は、前記炭酸カルシウム粒子群の全粒子数に対して60%以上の粒子数の六角板状の炭酸カルシウム粒子を含む、
樹脂組成物。
続きを表示(約 690 文字)
【請求項2】
前記熱可塑性樹脂と前記炭酸カルシウム粒子群とを質量比50:50~10:90の割合で含む、
請求項1に記載の樹脂組成物。
【請求項3】
前記六角板状の炭酸カルシウム粒子の六角形において、各頂点と当該頂点から3つ目の頂点とをそれぞれ結ぶ3本の対角線のうち最も長い対角線の長さが、最も短い対角線の長さの1.0倍以上1.5倍以下である、
請求項1に記載の樹脂組成物。
【請求項4】
前記最も長い対角線の長さが、10μm以上25μm以下である、
請求項3に記載の樹脂組成物。
【請求項5】
前記最も長い対角線の長さが、前記六角板状の炭酸カルシウム粒子の厚みの20倍以上40倍以下である、
請求項3に記載の樹脂組成物。
【請求項6】
前記熱可塑性樹脂が、ポリオレフィン系樹脂を含む、
請求項1に記載の樹脂組成物。
【請求項7】
前記ポリオレフィン系樹脂が、ポリエチレン系樹脂とポリプロピレン系樹脂の少なくとも一方を含む、
請求項6に記載の樹脂組成物。
【請求項8】
前記六角板状の炭酸カルシウム粒子が、軽質炭酸カルシウムで構成されている、
請求項1に記載の樹脂組成物。
【請求項9】
請求項1~8のいずれか一項に記載の樹脂組成物を含む、
成形品。
【請求項10】
前記成形品が、前記樹脂組成物の延伸シートである、
請求項9に記載の成形品。
(【請求項11】以降は省略されています)
発明の詳細な説明
【技術分野】
【0001】
本発明は、樹脂組成物及びそれを含む成形品に関する。
続きを表示(約 1,700 文字)
【背景技術】
【0002】
従来、炭酸カルシウム粉末等の無機粉末を熱可塑性樹脂に高充填した樹脂組成物が知られている(例えば特許文献1)。例えば、炭酸カルシウム粉末としては、一般的に、球状のものが使用されている。このような樹脂組成物を成形して得られる成形品は、種々の用途に使用されている。
【先行技術文献】
【特許文献】
【0003】
特開平6-220234号公報
【発明の概要】
【発明が解決しようとする課題】
【0004】
ところで、上記のような樹脂組成物を用いた成形品には、優れた機械的強度(引張強度、伸び)や外観を有することが求められている。
【0005】
そのため、特許文献1に示すような球状の炭酸カルシウム粒子を含む樹脂組成物の成形品にも、機械的強度の更なる向上や、炭酸カルシウム粉末による表面の凹凸を少なくして、外観をより高めることが望まれている。特に、樹脂組成物への炭酸カルシウム粉末の充填量を多くしても、機械的強度や外観をより高められることが望まれる。
【0006】
本発明は、上記事情に鑑みなされたものであり、優れた機械的強度を有し、且つ炭酸カルシウム粉末を多く含んでいても優れた外観を有する樹脂組成物、及びそれを含む成形品の提供を目的とする。
【課題を解決するための手段】
【0007】
[1] 熱可塑性樹脂と炭酸カルシウム粒子群とを、質量比60:40~10:90の割合で含み、前記炭酸カルシウム粒子群は、前記炭酸カルシウム粒子群の全粒子数に対して60%以上の粒子数の六角板状の炭酸カルシウム粒子を含む、樹脂組成物。
[2] 前記熱可塑性樹脂と前記炭酸カルシウム粒子群とを質量比50:50~10:90の割合で含む、[1]に記載の樹脂組成物。
[3] 前記六角板状の炭酸カルシウム粒子の六角形において、各頂点と当該頂点から3つ目の頂点とをそれぞれ結ぶ3本の対角線のうち最も長い対角線の長さが、最も短い対角線の長さの1.0倍以上1.5倍以下である、[1]又は[2]に記載の樹脂組成物。
[4] 前記最も長い対角線の長さが、10μm以上25μm以下である、[3]に記載の樹脂組成物。
[5] 前記最も長い対角線の長さが、前記六角板状の炭酸カルシウム粒子の厚みの20倍以上40倍以下である、[3]に記載の樹脂組成物。
[6] 前記熱可塑性樹脂が、ポリオレフィン系樹脂を含む、[1]~[5]のいずれかに記載の樹脂組成物。
[7] 前記ポリオレフィン系樹脂が、ポリエチレン系樹脂とポリプロピレン系樹脂の少なくとも一方を含む、[6]に記載の樹脂組成物。
[8] 前記六角板状の炭酸カルシウム粒子が、軽質炭酸カルシウムで構成されている、[1]~[7]のいずれかに記載の樹脂組成物。
[9] [1]~[8]のいずれかに記載の樹脂組成物を含む、成形品。
[10] 前記成形品が、前記樹脂組成物の延伸シートである、[9]に記載の成形品。
[11] 前記延伸シートにおける六角板状の炭酸カルシウム粒子の配向度は2以上である、[10]に記載の成形品。
【発明の効果】
【0008】
本発明によれば、優れた機械的強度(引張強度、伸び)を有し、且つ炭酸カルシウム粉末を多く含んでいても外観の良好な成形品を得ることができる樹脂組成物及びそれを含む成形品が提供される。
【図面の簡単な説明】
【0009】
図1Aは、六角板状の炭酸カルシウム粒子の形状を説明するための模式的な平面図であり、図1Bは、模式的な斜視図である。
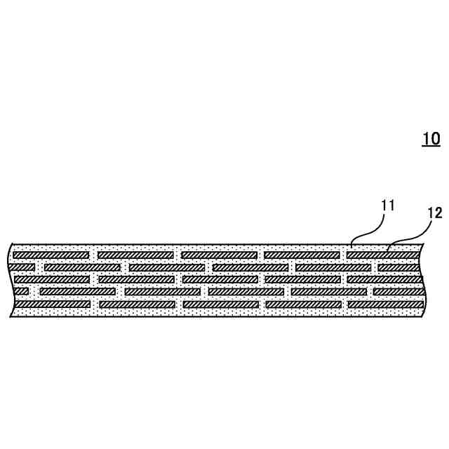
図2は、本発明の一実施の形態に係る樹脂組成物の延伸シートを示す模式的な断面図である。
【発明を実施するための形態】
【0010】
上述のように、球状の炭酸カルシウム粒子群を含む樹脂組成物は、成形品の機械的強度や外観を更に高めることが求められている。
(【0011】以降は省略されています)
この特許をJ-PlatPat(特許庁公式サイト)で参照する
関連特許
株式会社TBM
積層シート、及び容器
10日前
株式会社TBM
樹脂組成物及びそれを含む成形品
1か月前
株式会社TBM
積層シート、及び容器
10日前
株式会社TBM
樹脂組成物及びそれを含む成形品、再生材の製造方法、並びに成形品の製造方法
18日前
株式会社カネカ
断熱材
1か月前
東ソー株式会社
ペレット
1か月前
ユニチカ株式会社
透明シート
2か月前
ユニチカ株式会社
透明シート
3か月前
株式会社コバヤシ
成形体
2か月前
東レ株式会社
熱硬化性樹脂組成物
3か月前
東ソー株式会社
エチレン系重合体
3日前
東レ株式会社
ポリエステルフィルム
1か月前
東レ株式会社
ポリエステルフィルム
2か月前
丸住製紙株式会社
変性パルプ
2か月前
東ソー株式会社
プラスチゾル組成物
1か月前
東レ株式会社
引抜成形品の製造方法
3か月前
東ソー株式会社
ゴム用接着性改質剤
1か月前
住友精化株式会社
吸水剤の製造方法
2か月前
東ソー株式会社
樹脂組成物および蓋材
2か月前
東ソー株式会社
エチレン系重合用触媒
1か月前
東レ株式会社
ポリプロピレンフィルム
2か月前
東ソー株式会社
樹脂組成物および蓋材
2か月前
横浜ゴム株式会社
重荷重タイヤ
2か月前
UBE株式会社
衝撃吸収材
2か月前
株式会社信日康
香料を含有するポリマー
3日前
アイカ工業株式会社
光硬化性樹脂組成物
2か月前
株式会社信日康
香料を含有するポリマー
3日前
株式会社スリーボンド
硬化性樹脂組成物
2か月前
日本特殊陶業株式会社
樹脂成形体
2か月前
株式会社カネカ
硬化性組成物
3か月前
ノリタケ株式会社
担体構造体
2か月前
住友化学株式会社
樹脂組成物
2か月前
東レ株式会社
シート、硬化物、硬化接着物
3日前
三洋化成工業株式会社
熱成形用樹脂組成物
2か月前
株式会社カネカ
シーリング材
1か月前
日本特殊陶業株式会社
賦形体
19日前
続きを見る
他の特許を見る