TOP
|
特許
|
意匠
|
商標
特許ウォッチ
Twitter
他の特許を見る
10個以上の画像は省略されています。
公開番号
2025159768
公報種別
公開特許公報(A)
公開日
2025-10-22
出願番号
2024062505
出願日
2024-04-09
発明の名称
立地要件判定方法
出願人
株式会社日立パワーソリューションズ
代理人
弁理士法人信友国際特許事務所
主分類
G01W
1/00 20060101AFI20251015BHJP(測定;試験)
要約
【課題】観測地点の周辺環境に対する影響を抑えることが可能な立地要件判定方法を提供する。
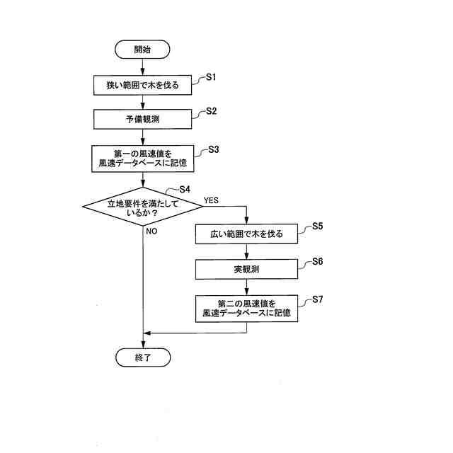
【解決手段】ドップラー効果を利用する風速観測装置を使用して、大気中の観測対象エリアの風速を観測して風力発電設備の立地要件を判定する立地要件判定方法は、所定の観測地点に風速観測装置を設置して、風速観測装置によって観測対象エリアより狭い範囲の予備観測エリアにおいて、ドップラー効果によって第一の風速値を算出する予備観測を行い、第一の風速値が、立地要件を満たすと判定した場合に、観測地点に風速観測装置を設置して、風速観測装置によって観測対象エリアにおいて、ドップラー効果によって第二の風速値を算出する実観測を行う。
【選択図】図2
特許請求の範囲
【請求項1】
ドップラー効果を利用する風速観測装置を使用して、大気中の観測対象エリアの風速を観測して風力発電設備の立地要件を判定する立地要件判定方法であって、
所定の観測地点に前記風速観測装置を設置して、前記風速観測装置によって前記観測対象エリアより狭い範囲の予備観測エリアにおいて、前記ドップラー効果によって第一の風速値を算出する予備観測を行い、
前記第一の風速値が、前記立地要件を満たすと判定した場合に、前記観測地点に前記風速観測装置を設置して、前記風速観測装置によって前記観測対象エリアにおいて、前記ドップラー効果によって第二の風速値を算出する実観測を行う
立地要件判定方法。
続きを表示(約 1,300 文字)
【請求項2】
前記予備観測において、鉛直方向に対して第一の偏光角を有する第一のプリズムを前記風速観測装置に設置し、前記風速観測装置を動作させて、前記第一のプリズムを所定の回転速度で回転しながらレーザ光を出射させて、前記観測地点を頂点とする円錐形の前記予備観測エリアを設定し、前記予備観測エリアにおいて浮遊する第一のエアロゾルからの第一の散乱光を取得する
請求項1に記載の立地要件判定方法。
【請求項3】
前記予備観測において、前記レーザ光を照射するときに前記観測地点の周辺の立木が障害とならないように、前記レーザ光を照射する前段階において、前記第一の偏光角に応じた伐採面積の範囲で前記立木を伐採する
請求項2に記載の立地要件判定方法。
【請求項4】
抽出処理において、前記第一の散乱光と前記レーザ光とを前処理部に入力し、前記第一の散乱光と前記レーザ光との周波数の差分を抽出すると共に前記差分を電気信号に変換して第一の差分信号を生成し、前記第一の差分信号を制御装置の入出力部より前記制御装置内に取り込み、A/D変換部において前記第一の差分信号をデジタル変換して予備観測データを生成し、抽出部において所定のサンプリング周期で前記予備観測データの中から前記観測地点を基準とする所定の高さ位置の前記予備観測データにFFT解析を行って周波数を算出して第一の観測データを抽出する
請求項3に記載の立地要件判定方法。
【請求項5】
演算処理において、前記第一の観測データを演算部に入力し、前記第一の観測データにsin(第一の偏光角)を乗じて第一の水平方向の信号に変換し、前記第一の水平方向の信号に前記第一の偏光角に応じた第一の定数((0.1m/s)/(0.03346MHz))を乗じて第一の風速値を算出する
請求項4に記載の立地要件判定方法。
【請求項6】
前記第一の風速値を、前記予備観測の観測日時と、前記観測地点とに紐づけて風速データベースに記憶する
請求項5に記載の立地要件判定方法。
【請求項7】
前記風速データベースから抽出した前記第一の風速値が基準値以上である場合に、前記立地要件を満たすと判定して前記実観測に移行し、前記第一の風速値が前記基準値未満である場合に、前記立地要件を満たさないと判定して前記実観測に移行せずに風速観測を終了する
請求項6に記載の立地要件判定方法。
【請求項8】
19.89度~23.89度の間を傾斜角とする、第一の斜面を有する第一の台座の前記第一の斜面に前記第一のプリズムを載置して、前記第一のプリズムを前記風速観測装置にセットする
請求項7に記載の立地要件判定方法。
【請求項9】
前記第一の偏光角を15°に設定する
請求項8に記載の立地要件判定方法。
【請求項10】
前記予備観測の前段階において前記風速観測装置のテスト使用を行い、前記観測地点を基準とする所定の高さ位置のエアロゾルの散乱光を精度よく取得できるように設定した前記回転速度で、前記第一のプリズムを回転する
請求項2に記載の立地要件判定方法。
(【請求項11】以降は省略されています)
発明の詳細な説明
【技術分野】
【0001】
本発明は、立地要件判定方法に関する。
続きを表示(約 1,900 文字)
【背景技術】
【0002】
風力発電は風力を利用して発電するものであるため、風速が継続的に一定値以上であることは、風力発電設備を設置するための条件である。このため、風力発電設備を設置するための事前調査として、観測地点における上空の風の風速を計測する気象観測等が行われていた。
【0003】
特許文献1には、「複数の方向に向けてレーザ光を発射し、所定位置の観測点において反射されたレーザ光の時間的な変化を検出することにより、その観測点を流れるエアロゾルの濃度変化を求め、次いでその濃度変化パターンの相互相関を求めて、相関するパターンが現れる各観測点の位置とその時間遅れとに基づいてエアロゾルの移動方向及び移動速度、すなわち風向及び風速を算出する」と記載されている。すなわち、特許文献1には、気象観測等のために、大気中のエアロゾルによって上空の風の風速を計測するライダー装置(ドップラーライダーに相当)について記載されている。
【先行技術文献】
【特許文献】
【0004】
特開平1-250762号公報
【発明の概要】
【発明が解決しようとする課題】
【0005】
従来、風力発電設備の観測地点において、風速計測用の設備を設置する際には、特許文献1に記載されたようなドップラーライダーを用いて風速計測が実施される。しかしながら、特許文献1には、二種類の偏角によるレーザ光を傾けて予備観測と実観測による2段階の観測を行うことは記載されていない。
【0006】
従来の観測方法では、最初から実観測を行うこととなってしまい、風力発電設備の設置場所の周辺を広い範囲で風速計測の障害となる立木を伐採することになる。立木の伐採には、人が作業するコスト、伐採した立木を設置場所から運搬するコスト等がかかる。風速計測を行った結果、観測地点が風力発電設備の立地要件を満たしていないと判定した場合は、必要以上の面積で立木を伐採したことによる、伐採に要したコストが無駄になる。また、観測地点の周辺環境にも影響を与えることとなる。
【0007】
本発明はこのような状況に鑑みて成されたものであり、予備観測と実観測の2段階で風速観測をすることで、観測地点の周辺環境に対する影響を抑えることを目的とする。
【課題を解決するための手段】
【0008】
本発明は、ドップラー効果を利用する風速観測装置を使用して、大気中の観測対象エリアの風速を観測して風力発電設備の立地要件を判定する立地要件判定方法であって、所定の観測地点に風速観測装置を設置して、風速観測装置によって観測対象エリアより狭い範囲の予備観測エリアにおいて、ドップラー効果によって第一の風速値を算出する予備観測を行い、第一の風速値が、立地要件を満たすと判定した場合に、観測地点に風速観測装置を設置して、風速観測装置によって観測対象エリアにおいて、ドップラー効果によって第二の風速値を算出する実観測を行う。
【発明の効果】
【0009】
本発明によれば、予備観測によって得られた風速値が、風力発電設備の設置要件を満たしていると判定した場合に、実観測に移行することができる。
上記した以外の課題、構成及び効果は、以下の実施形態の説明により明らかにされる。
【図面の簡単な説明】
【0010】
本発明の一実施形態に係るドップラーライダーを用いたエアロゾルの計測の様子を示す図である。
本発明の一実施形態に係る立地要件判定方法の処理の例を示すフローチャートである。
本発明の一実施形態に係る観測地点を中心とした狭い範囲を伐採範囲とする例を示す図である。
本発明の一実施形態に係る予備観測時における第一の偏光角による計測範囲の例を示す図である。
本発明の一実施形態に係るドップラーライダーの内部構成例を示すブロック図である。
本発明の一実施形態に係る予備観測の終了時に風速データベースに格納されるデータの例を示す図である。
本発明の一実施形態に係る観測地点を中心とした広い範囲を伐採範囲とする例を示す図である。
本発明の一実施形態に係る実観測時における第二の偏光角による計測範囲の例を示す図である。
本発明の一実施形態に係るドップラーライダーの内部構成例を示すブロック図である。
本発明の一実施形態に係る実観測の終了時に風速データベースに格納されるデータの例を示す図である。
【発明を実施するための形態】
(【0011】以降は省略されています)
この特許をJ-PlatPat(特許庁公式サイト)で参照する
関連特許
個人
メジャー文具
18日前
個人
アクセサリー型テスター
11日前
個人
高精度同時多点測定装置
10日前
株式会社ミツトヨ
測定器
1日前
ユニパルス株式会社
ロードセル
17日前
アズビル株式会社
電磁流量計
4日前
トヨタ自動車株式会社
監視装置
16日前
株式会社チノー
放射光測温装置
17日前
株式会社ヨコオ
ソケット
16日前
株式会社ヨコオ
ソケット
17日前
ダイキン工業株式会社
監視装置
15日前
個人
システム、装置及び実験方法
4日前
TDK株式会社
ガスセンサ
22日前
ローム株式会社
半導体装置
9日前
ローム株式会社
半導体装置
9日前
愛知時計電機株式会社
ガスメータ
1日前
TDK株式会社
ガスセンサ
17日前
TDK株式会社
磁気センサ
16日前
長崎県
形状計測方法
11日前
日本特殊陶業株式会社
センサ
15日前
日本特殊陶業株式会社
センサ
15日前
TDK株式会社
電磁波センサ
17日前
多摩川精機株式会社
冗長エンコーダ
16日前
三菱マテリアル株式会社
温度センサ
18日前
株式会社デンソー
電流センサ
9日前
日本特殊陶業株式会社
センサ
15日前
日本特殊陶業株式会社
センサ
1日前
ダイハツ工業株式会社
移動支援装置
16日前
中国電力株式会社
電柱管理システム
15日前
日本特殊陶業株式会社
センサ
15日前
トヨタ自動車株式会社
測定システム
8日前
三恵技研工業株式会社
融雪レドーム
16日前
日本特殊陶業株式会社
センサ
15日前
アンリツ株式会社
X線検査装置
1日前
コイト電工株式会社
座席濡れ検知装置
15日前
住友電気工業株式会社
分析方法
18日前
続きを見る
他の特許を見る