TOP
|
特許
|
意匠
|
商標
特許ウォッチ
Twitter
他の特許を見る
公開番号
2025159116
公報種別
公開特許公報(A)
公開日
2025-10-17
出願番号
2025134292,2024093775
出願日
2025-08-12,2018-12-20
発明の名称
作業車
出願人
株式会社クボタ
代理人
弁理士法人R&C
主分類
B60R
11/02 20060101AFI20251009BHJP(車両一般)
要約
【課題】受信装置用のハーネスを容易に配策することが可能な作業車が要望されている。
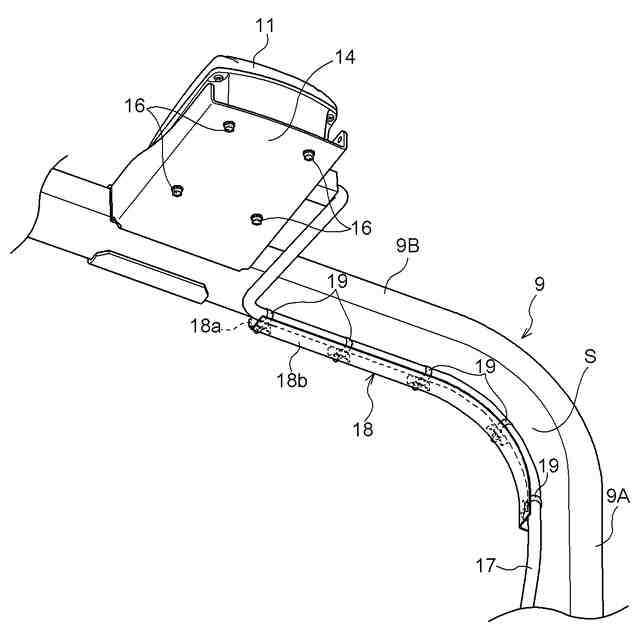
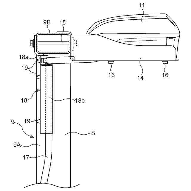
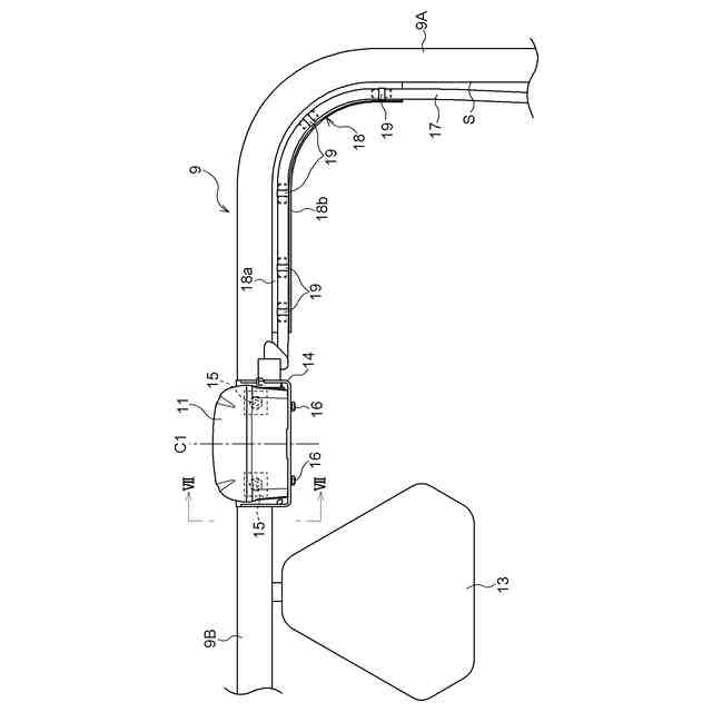
【解決手段】作業車は、運転座席の周囲に設けられ、機体左右方向に延びる軸芯周りで後方に折り畳み可能に構成されたロプス9と、ロプス9の上部に支持され、衛星からの位置情報を受信する受信装置11と、を備え、受信装置用のハーネス17が、ロプス9の外周面のうち機体内方側を向く内方側部分Sに配置された固定具19により配策されており、かつ、ロプス9の内方側部分Sからロプス9よりも後側の位置まで延ばされて受信装置11に接続されている。
【選択図】図6
特許請求の範囲
【請求項1】
運転座席の周囲に設けられ、機体左右方向に延びる軸芯周りで後方に折り畳み可能に構成されたロプスと、
前記ロプスの上部に支持され、衛星からの位置情報を受信する受信装置と、を備え、
前記受信装置用のハーネスが、前記ロプスの外周面のうち機体内方側を向く内方側部分に配置された固定具により配策されており、かつ、前記ロプスの前記内方側部分から前記ロプスよりも後側の位置まで延ばされて前記受信装置に接続されている作業車。
発明の詳細な説明
【技術分野】
【0001】
本発明は、衛星からの位置情報を受信する受信装置を備えている作業車に関する。
続きを表示(約 1,400 文字)
【背景技術】
【0002】
上記のような作業車として、例えば、特許文献1に記載の作業車が既に知られている。特許文献1に記載の作業車には、運転座席の周囲に設けられたロプス(文献では「ロプス〔26〕」)と、衛星からの位置情報を受信する受信装置(文献では「受信アンテナ〔51〕」)と、が備えられている。特許文献1に記載の作業車では、受信装置は、ロプスの上部に支持されている。
【先行技術文献】
【特許文献】
【0003】
特開2016-154501号公報
【発明の概要】
【発明が解決しようとする課題】
【0004】
特許文献1に記載の作業車では、受信装置用のハーネスを、制御装置と接続するために、ロプスの上部から下方に向かって延ばす必要がある。この場合、ハーネスを容易に配策するために、ハーネスをどのように配策するか検討の余地がある。
【0005】
上記状況に鑑み、受信装置用のハーネスを容易に配策することが可能な作業車が要望されている。
【課題を解決するための手段】
【0006】
本発明の特徴は、運転座席の周囲に設けられ、機体左右方向に延びる軸芯周りで後方に折り畳み可能に構成されたロプスと、前記ロプスの上部に支持され、衛星からの位置情報を受信する受信装置と、を備え、前記受信装置用のハーネスが、前記ロプスの外周面のうち機体内方側を向く内方側部分に配置された固定具により配策されており、かつ、前記ロプスの前記内方側部分から前記ロプスよりも後側の位置まで延ばされて前記受信装置に接続されていることにある。
また、本発明の特徴は、運転座席の周囲に設けられたロプスと、前記ロプスの上部に支持され、衛星からの位置情報を受信する受信装置と、を備え、前記受信装置用のハーネスが前記ロプスの外周面に沿って配策され、前記ハーネスを覆うカバーを備えていることにある。
【0007】
本特徴構成によれば、ハーネスをロプスの外周面に沿わせて容易に配策することができる。また、ハーネスをカバーで覆うことにより、ハーネスを保護し、かつ、ハーネスの露出を少なくして見栄えを良くすることができる。
【0008】
さらに、本発明において、前記ハーネスは、前記ロプスの外周面のうち機体内方側を向く内方側部分に沿って配策され、前記カバーは、前記ハーネスを前方及び下方から覆うように構成されていると好適である。
【0009】
本特徴構成によれば、ハーネスがロプスに対して機体内方側に位置することになる。これにより、ハーネスに対して機体外方側から他物が接触するのを防止することができる。また、ハーネスを前方及び下方からカバーで覆うことにより、運転席側へのハーネスの露出を少なくすることができる。
【0010】
さらに、本発明において、前記ロプスは、前記運転座席に対して横外側に位置し、かつ、上下方向に延びる左右一対の支柱部と、前記運転座席に対して上側に位置し、かつ、機体左右方向に延びる梁部と、を有し、前記受信装置は、前記梁部に支持され、前記ハーネスは、前記梁部と前記支柱部とに亘って配策され、前記カバーは、前記梁部と前記支柱部とに亘って延びていると好適である。
(【0011】以降は省略されています)
この特許をJ-PlatPat(特許庁公式サイト)で参照する
関連特許
株式会社クボタ
移植機
1か月前
株式会社クボタ
作業車
1か月前
株式会社クボタ
作業車
1か月前
株式会社クボタ
作業車
24日前
株式会社クボタ
作業車
23日前
株式会社クボタ
作業車
1か月前
株式会社クボタ
作業車
1か月前
株式会社クボタ
移植機
1か月前
株式会社クボタ
作業車
1か月前
株式会社クボタ
作業車
1か月前
株式会社クボタ
作業機
16日前
株式会社クボタ
作業車
29日前
株式会社クボタ
作業車
29日前
株式会社クボタ
作業車
1か月前
株式会社クボタ
作業車
1か月前
株式会社クボタ
作業車
1か月前
株式会社クボタ
作業車
10日前
株式会社クボタ
作業車
1か月前
株式会社クボタ
作業車
1か月前
株式会社クボタ
作業車
1か月前
株式会社クボタ
作業車
8日前
株式会社クボタ
作業車
8日前
株式会社クボタ
作業機
2日前
株式会社クボタ
作業車両
1か月前
株式会社クボタ
作業車両
1か月前
株式会社クボタ
作業車両
1か月前
株式会社クボタ
作業車両
29日前
株式会社クボタ
作業車両
29日前
株式会社クボタ
作業車両
1か月前
株式会社クボタ
作業車両
1か月前
株式会社クボタ
作業車両
17日前
株式会社クボタ
作業車両
8日前
株式会社クボタ
作業車両
8日前
株式会社クボタ
豆類選別機
1か月前
株式会社クボタ
多目的車両
1か月前
株式会社クボタ
多目的車両
1か月前
続きを見る
他の特許を見る