TOP
|
特許
|
意匠
|
商標
特許ウォッチ
Twitter
他の特許を見る
公開番号
2025159042
公報種別
公開特許公報(A)
公開日
2025-10-17
出願番号
2025131790,2021085849
出願日
2025-08-06,2021-05-21
発明の名称
位相差層および粘着剤層付偏光板、ならびに、該位相差層および粘着剤層付偏光板を用いた画像表示装置
出願人
日東電工株式会社
代理人
個人
主分類
G02B
5/30 20060101AFI20251009BHJP(光学)
要約
【課題】高温環境下において位相差ムラが抑制され、高温環境下において色ムラおよび光漏れが抑制された画像表示装置を実現し得る位相差層および粘着剤層付偏光板を提供すること。
【解決手段】本発明の位相差層および粘着剤層付偏光板は、偏光子を含む偏光板と、偏光板に第1の粘着剤層を介して貼り合わせられた位相差層と、位相差層の偏光板と反対側に最外層として設けられた第2の粘着剤層と、を有する。位相差層は、樹脂フィルムの延伸フィルムで構成され、Re(450)<Re(550)の関係を満足する。第1の粘着剤層の85℃および500時間の加熱試験後の糊ずれ量は900μm以下であり、第2の粘着剤層の85℃におけるクリープ値は40μm以下である。
【選択図】図1
特許請求の範囲
【請求項1】
偏光子を含む偏光板と、該偏光板に第1の粘着剤層を介して貼り合わせられた位相差層と、該位相差層の該偏光板と反対側に最外層として設けられた第2の粘着剤層と、を有し、
該位相差層が、樹脂フィルムの延伸フィルムで構成され、Re(450)<Re(550)の関係を満足し、
該第1の粘着剤層の85℃および500時間の加熱試験後の糊ずれ量が900μm以下であり、
該第2の粘着剤層の85℃におけるクリープ値が40μm以下である、
位相差層および粘着剤層付偏光板:
ここで、Re(450)およびRe(550)は、それぞれ、23℃における波長450nmおよび550nmの光で測定した面内位相差である。
発明の詳細な説明
【技術分野】
【0001】
本発明は、位相差層および粘着剤層付偏光板、ならびに、該位相差層および粘着剤層付偏光板を用いた画像表示装置に関する。
続きを表示(約 3,900 文字)
【背景技術】
【0002】
近年、液晶表示装置およびエレクトロルミネセンス(EL)表示装置(例えば、有機EL表示装置、無機EL表示装置)に代表される画像表示装置が急速に普及している。画像表示装置には、代表的には偏光板および位相差板が用いられている。実用的には、偏光板と位相差板とを一体化した位相差層付偏光板が広く用いられている(例えば、特許文献1)。しかし、位相差層付偏光板は、高温環境下において位相差ムラが発生し、その結果、高温環境下において画像表示装置に色ムラおよび光漏れが発生する場合がある。
【先行技術文献】
【特許文献】
【0003】
特許第3325560号
【発明の概要】
【発明が解決しようとする課題】
【0004】
本発明は上記従来の課題を解決するためになされたものであり、その主たる目的は、高温環境下において位相差ムラが抑制され、高温環境下において色ムラおよび光漏れが抑制された画像表示装置を実現し得る位相差層および粘着剤層付偏光板を提供することにある。
【課題を解決するための手段】
【0005】
本発明の実施形態による位相差層および粘着剤層付偏光板は、偏光子を含む偏光板と、該偏光板に第1の粘着剤層を介して貼り合わせられた位相差層と、該位相差層の該偏光板と反対側に最外層として設けられた第2の粘着剤層と、を有する。該位相差層は、樹脂フィルムの延伸フィルムで構成され、Re(450)<Re(550)の関係を満足する。該第1の粘着剤層の85℃および500時間の加熱試験後の糊ずれ量は900μm以下であり、該第2の粘着剤層の85℃におけるクリープ値は40μm以下である。ここで、Re(450)およびRe(550)は、それぞれ、23℃における波長450nmおよび550nmの光で測定した面内位相差である。
1つの実施形態においては、上記位相差層のRe(550)は100nm~200nmであり、該位相差層の遅相軸と上記偏光子の吸収軸とのなす角度は40°~50°または130°~140°である。
1つの実施形態においては、上記位相差層の厚みは15μm~60μmである。
1つの実施形態においては、上記第1の粘着剤層の85℃および500時間の加熱試験後の糊ずれ量は250μm以下である。
1つの実施形態においては、上記第2の粘着剤層を構成する粘着剤組成物は、ベースポリマー100重量部に対して架橋剤を1.5重量部以上含む。
1つの実施形態においては、上記第2の粘着剤層を構成する粘着剤組成物は、ベースポリマー100重量部に対して架橋剤を5重量部以上含む。
1つの実施形態においては、上記位相差層および粘着剤層付偏光板は、上記位相差層と上記第2の粘着剤層との間に、屈折率特性がnz>nx=nyの関係を示す別の位相差層をさらに有する。
1つの実施形態においては、上記位相差層は、カーボネート結合およびエステル結合からなる群から選択される少なくとも1つの結合基と、下記一般式(1)で表される構造単位および下記一般式(2)で表される構造単位からなる群から選択される少なくとも1つの構造単位とを含み、正の屈折率異方性を有する樹脂と;アクリル系樹脂と;を含有し、該アクリル系樹脂の含有量が0.5質量%~2.0質量%であり、該アクリル系樹脂が、メタクリル酸メチル由来の構造単位を70質量%以上含有し、その重量平均分子量Mwが10,000~200,000である:
TIFF
2025159042000002.tif
69
153
TIFF
2025159042000003.tif
52
115
一般式(1)および(2)中、R
1
~R
3
は、それぞれ独立に、直接結合、置換または非置換の炭素数1~4のアルキレン基であり、R
4
~R
9
は、それぞれ独立に、水素原子、置換または非置換の炭素数1~10のアルキル基、置換または非置換の炭素数4~10のアリール基、置換または非置換の炭素数1~10のアシル基、置換または非置換の炭素数1~10のアルコキシ基、置換または非置換の炭素数1~10のアリールオキシ基、置換または非置換のアミノ基、置換または非置換の炭素数1~10のビニル基、置換または非置換の炭素数1~10のエチニル基、置換基を有する硫黄原子、置換基を有するケイ素原子、ハロゲン原子、ニトロ基、またはシアノ基であり;ただし、R
4
~R
9
は、互いに同一であっても、異なっていてもよく、R
4
~R
9
のうち隣接する少なくとも2つの基が互いに結合して環を形成していてもよい。
1つの実施形態においては、上記位相差層は、25℃/50%RH、60℃/50%RH、60℃/85%RHの順に環境を変化させる加湿TMA試験において遅相軸方向の寸法変化率が0.28%以下である。
1つの実施形態においては、上記位相差層は、上記別の位相差層が貼り合わされた状態で、25℃/50%RH、60℃/50%RH、60℃/85%RHの順に環境を変化させる加湿TMA試験において遅相軸方向の寸法変化率が0.28%以下である。
本発明の別の局面によれば、画像表示装置が提供される。この画像表示装置は、上記の位相差層および粘着剤層付偏光板を備える。
【発明の効果】
【0006】
本発明の実施形態によれば、位相差層および粘着剤層付偏光板において、偏光子と位相差層との間の粘着剤層の糊ずれ量ならびに位相差層および粘着剤層付偏光板を画像表示セルに貼り合わせるための粘着剤層のクリープ値を組み合わせて最適化することにより、高温環境下において位相差ムラが抑制された位相差層および粘着剤層付偏光板を実現することができる。その結果、高温環境下において色ムラおよび光漏れが抑制された画像表示装置を実現することができる。
【図面の簡単な説明】
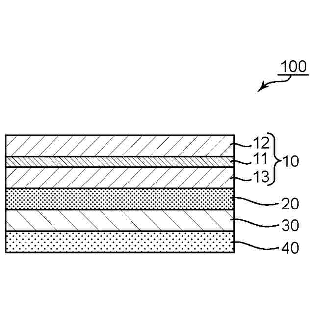
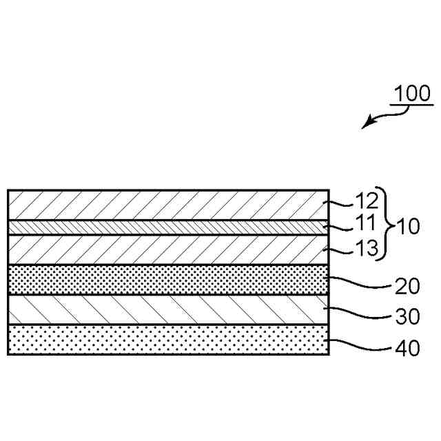
【0007】
本発明の1つの実施形態による位相差層および粘着剤層付偏光板の概略断面図である。
【発明を実施するための形態】
【0008】
以下、本発明の代表的な実施形態について説明するが、本発明はこれらの実施形態には限定されない。
【0009】
(用語および記号の定義)
本明細書における用語および記号の定義は下記の通りである。
(1)屈折率(nx、ny、nz)
「nx」は面内の屈折率が最大になる方向(すなわち、遅相軸方向)の屈折率であり、「ny」は面内で遅相軸と直交する方向(すなわち、進相軸方向)の屈折率であり、「nz」は厚み方向の屈折率である。
(2)面内位相差(Re)
「Re(λ)」は、23℃における波長λnmの光で測定したフィルムの面内位相差である。例えば、「Re(450)」は、23℃における波長450nmの光で測定したフィルムの面内位相差である。Re(λ)は、フィルムの厚みをd(nm)としたとき、式:Re=(nx-ny)×dによって求められる。
(3)厚み方向の位相差(Rth)
「Rth(λ)」は、23℃における波長λnmの光で測定したフィルムの厚み方向の位相差である。例えば、「Rth(450)」は、23℃における波長450nmの光で測定したフィルムの厚み方向の位相差である。Rth(λ)は、フィルムの厚みをd(nm)としたとき、式:Rth=(nx-nz)×dによって求められる。
(4)Nz係数
Nz係数は、Nz=Rth/Reによって求められる。
(5)角度
本明細書において角度に言及するときは、特に明記しない限り、当該角度は時計回りおよび反時計回りの両方の方向の角度を包含する。
【0010】
A.位相差層および粘着剤層付偏光板の全体構成
図1は、本発明の1つの実施形態による位相差層および粘着剤層付偏光板の概略断面図である。図示例の位相差層および粘着剤層付偏光板100は、偏光板10と、偏光板10に第1の粘着剤層20を介して貼り合わせられた位相差層30と、位相差層30の偏光板10と反対側に最外層として設けられた第2の粘着剤層40と、を有する。第2の粘着剤層40により、位相差層および粘着剤層付偏光板は、画像表示セルに貼り付け可能とされている。偏光板10は、偏光子11と、偏光子11の一方の側に配置された第1の保護層12と、偏光子11のもう一方の側に配置された第2の保護層13とを含む。目的に応じて、第1の保護層12および第2の保護層13の一方は省略されてもよい。例えば、位相差層30は偏光子11の保護層としても機能し得るので、第2の保護層13は省略されてもよい。位相差層30の遅相軸と偏光子11の吸収軸とのなす角度は、好ましくは40°~50°であり、より好ましくは42°~48°であり、さらに好ましくは44°~46°であり、特に好ましくは約45°であり;あるいは、好ましくは130°~140°であり、より好ましくは132°~138°であり、さらに好ましくは134°~136°であり、特に好ましくは約135°である。
(【0011】以降は省略されています)
この特許をJ-PlatPat(特許庁公式サイト)で参照する
関連特許
日東電工株式会社
積層体
11日前
日東電工株式会社
吸着材
17日前
日東電工株式会社
電子装置
13日前
日東電工株式会社
シート体
6日前
日東電工株式会社
照明装置
10日前
日東電工株式会社
発光装置
18日前
日東電工株式会社
光ファイバ
12日前
日東電工株式会社
光学積層体
1か月前
日東電工株式会社
粘着シート
10日前
日東電工株式会社
粘着シート
10日前
日東電工株式会社
光学積層体
1か月前
日東電工株式会社
偏光フィルム
1か月前
日東電工株式会社
複合ケーブル
1か月前
日東電工株式会社
配線回路基板
3日前
日東電工株式会社
調光フィルム
11日前
日東電工株式会社
スイッチ装置
10日前
日東電工株式会社
温度測定装置
12日前
日東電工株式会社
温度測定装置
12日前
日東電工株式会社
粘着剤組成物
12日前
日東電工株式会社
粘着剤組成物
12日前
日東電工株式会社
スイッチ装置
18日前
日東電工株式会社
光学粘着シート
19日前
日東電工株式会社
光学粘着シート
19日前
日東電工株式会社
光学粘着シート
19日前
日東電工株式会社
表面保護シート
6日前
日東電工株式会社
反射防止フィルム
17日前
日東電工株式会社
ガラス樹脂複合体
1か月前
日東電工株式会社
反射防止フィルム
17日前
日東電工株式会社
ロール体の製造方法
21日前
日東電工株式会社
調光用導電性フィルム
1か月前
日東電工株式会社
光学積層体の製造方法
18日前
日東電工株式会社
光学積層体の製造方法
18日前
日東電工株式会社
導光体、及び照明装置
10日前
日東電工株式会社
光学積層体の製造方法
1か月前
日東電工株式会社
レンズ及び内視鏡用部材
10日前
日東電工株式会社
分離機能層、及び分離膜
6日前
続きを見る
他の特許を見る