TOP
|
特許
|
意匠
|
商標
特許ウォッチ
Twitter
他の特許を見る
10個以上の画像は省略されています。
公開番号
2025159030
公報種別
公開特許公報(A)
公開日
2025-10-17
出願番号
2025131354,2022066919
出願日
2025-08-06,2022-04-14
発明の名称
ユーザ拠点装置システム、暗号通信システム、暗号通信方法
出願人
株式会社東芝
,
東芝デジタルソリューションズ株式会社
代理人
弁理士法人スズエ国際特許事務所
主分類
H04L
9/12 20060101AFI20251009BHJP(電気通信技術)
要約
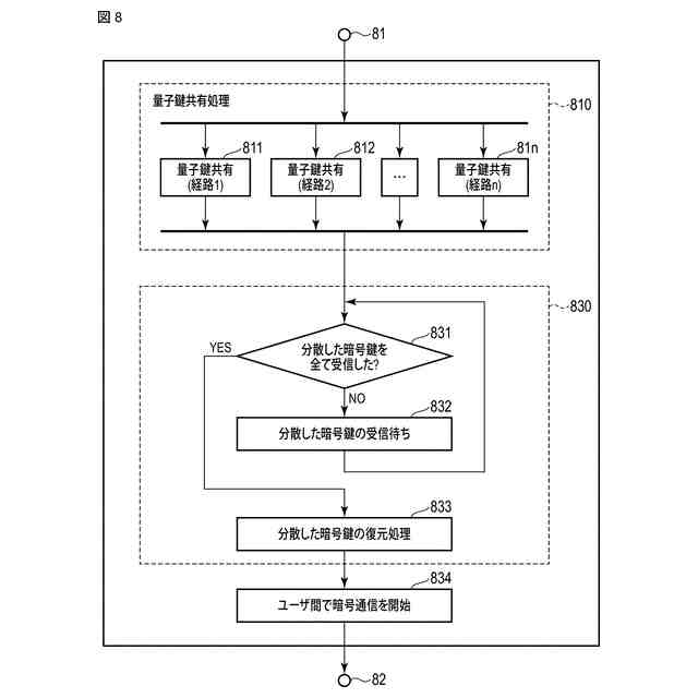
【課題】第1と第2のユーザ拠点間で共有する暗号鍵が盗聴されるの安価な手段と方法で防止し、セキュリティを向上させたユーザ拠点装置、暗号通信システム及び暗号通信方法を提供する。
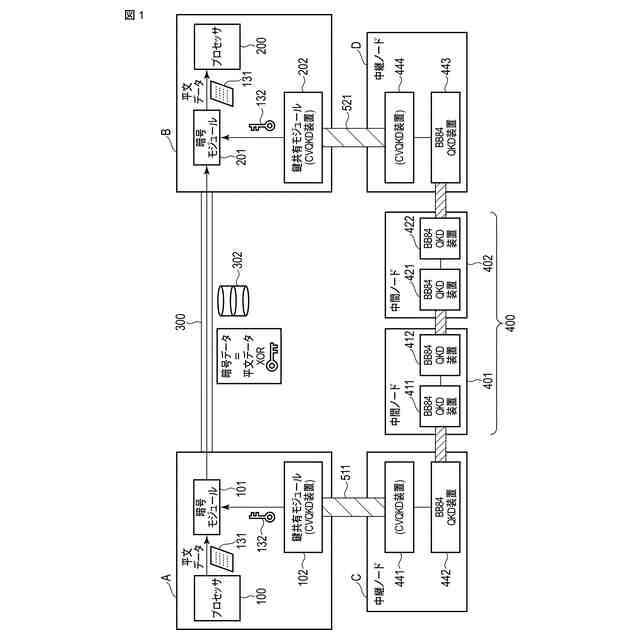
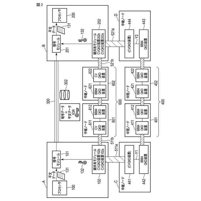
【解決手段】ユーザ拠点は、暗号データを送信するための暗号モジュールと、前記暗号データを生成するのに使用された暗号鍵を復元及び分散する機能を有した鍵共有モジュールとを備える。前記鍵共有モジュールは、前記暗号鍵を分散した複数の乱数鍵を、それぞれ異なる経路で配送するために、複数のCVQKD装置を有し、この複数のCVQKD装置は、前記異なる経路のそれぞれの設けられた中継ノード内のCVQKD装置に量子接続しており、さらに前記複数のCVQKD装置は、前記暗号鍵の分散と、分散された暗号鍵の復元を行うために、暗号鍵の分散/復元回路と接続している。
【選択図】図2
特許請求の範囲
【請求項1】
暗号データを送信するための暗号モジュールと、前記暗号データを生成するのに使用された暗号鍵を復元及び分散する機能を有した鍵共有モジュールとを備え、暗号モジュールは前記暗号鍵を用いて平文データを暗号化して暗号データをインターネットを介して出力するユーザ拠点装置システムであって、
前記鍵共有モジュールは、第1、第2の経路に対応している第1、第2のCVQKD装置を有し、
前記第1の経路を形成するために、前記第1のCVQKD装置が光ファイバを介して接続される第3のCVQKD装置を有した第1の中継ノードと、
前記第2の経路を形成するために、前記第2のCVQKD装置が光ファイバを介して接続される第4のCVQKD装置を有した第2の中継ノードと、が設けられ、
さらに前記第1、第2のCVQKD装置は、前記暗号鍵の分散と、分散された暗号鍵の復元を行うために、暗号鍵の分散/復元回路に接続されており、
前記第1の中継ノードは、さらに前記第3のCVQKD装置の出力が光結合されるBB84QKD装置を出力側に備え、
前記第2の中継ノードは、さらに前記第4のCVQKD装置の出力が光結合されるBB84QKD装置を出力側に備え、
さらに前記鍵共有モジュールで分散された第1、第2の暗号鍵は、平文データを暗号化する前記暗号モジュールに供給され、
前記暗号モジュールは、分散された前記第1の暗号鍵と前記第2の暗号鍵の排他的論理和処理を行い、さらにその結果と前記平文データとの排他的論理和処理を行い、この結果えられた前記暗号データをインターネットに向けて送信する手段を備えている、ユーザ拠点装置システム。
続きを表示(約 910 文字)
【請求項2】
前記鍵共有モジュールは、前記第1の経路と前記第2の経路に対して、秘密分散方式による、分散された暗号鍵(乱数鍵)を送出する、請求項1に記載のユーザ拠点装置システム。
【請求項3】
先の経路は、さらに複数の経路を備えており、複数のノードがメッシュ型に配置された量子暗号配信網である、請求項1に記載のユーザ拠点装置システム。
【請求項4】
先の経路は、さらに複数の経路を備えており、複数のノードがメッシュ型に配置された量子暗号配信網であり、
前記鍵共有モジュールは、前記量子暗号配信網の任意の前記ノードを指定し、分散された暗号鍵のそれぞれを配信するための進路を構築する処理手段を備える、請求項1に記載のユーザ拠点装置システム。
【請求項5】
請求項1に記載された前記ユーザ拠点装置システムを用いて、前記ユーザ拠点装置システムと対称的に同様な構成の他のユーザ拠点装置システムとの間で通信を行う、暗号通信システム。
【請求項6】
前記鍵共有モジュールは、前記第1の経路と前記第2の経路に対して、秘密分散方式による、分散された暗号鍵(乱数鍵)を送出する、請求項5に記載の暗号通信システム。
【請求項7】
先の経路は、さらに複数の経路を備えており、複数のノードがメッシュ型に配置された量子暗号配信網である、請求項5に記載の暗号通信システム。
【請求項8】
先の経路は、さらに複数の経路を備えており、複数のノードがメッシュ型に配置された量子暗号配信網である、請求項5に記載の暗号通信システム。
【請求項9】
請求項1に記載された前記ユーザ拠点装置システムを用いて、前記ユーザ拠点装置システムと対称的に同様な構成の他のユーザ拠点システムとの間で通信を行う、暗号通信方法。
【請求項10】
前記鍵共有モジュールは、前記第1の経路と前記第2の経路に対して、秘密分散方式による、分散された暗号鍵(乱数鍵)を送出する、請求項9に記載の暗号通信方法。
(【請求項11】以降は省略されています)
発明の詳細な説明
【技術分野】
【0001】
本発明は、ユーザ拠点装置システム、暗号通信システム、暗号通信方法に関する。
続きを表示(約 1,300 文字)
【背景技術】
【0002】
現在普及している公開鍵暗号方式は、既存のコンピュータ、アルゴリズムでは有効な時間内に解読できないという計算量的安全性に依拠している。将来、量子コンピュータの運用が始まると、計算量的安全性が保証されなくなり、従来の暗号方式ではセキュアな通信を担保することができなくなる。そこで、計算的安全性に依らない、情報理論的安全性をもつ暗号方式として量子暗号が期待されている。
【0003】
しかし量子暗号を利用するシステムでは光ケーブルを用いる性質上、遠隔地のユーザ同が、直接鍵を共有できる距離に制約がある。そこで、通信距離を延ばすために、中間ノード(或は中継ノード)を利用して、量子暗号鍵を中継する技術がある。この中継技術を用いると、遠隔地に離れたユーザ同士が、量子暗号鍵を共有することができる。
【0004】
しかし、量子暗号プロトコルBB84を用いたQuantum Key Distribution(以下BB84QKDと記す)装置は、高価であり、ユーザが多数を容易に所有できないという課題がある。
【0005】
このため、暗号鍵(乱数鍵)をルーティングする拠点(鍵配信サーバ)からユーザ拠点への鍵配送をインターネットで実現してコストを低減しようという考えがある。
【0006】
しかしこの方法は、インターネット上で配送中の暗号鍵(乱数鍵)を盗聴されるというリスクが発生する。このような問題は、ラストワンマイル問題と称される。
【先行技術文献】
【特許文献】
【0007】
特許第3263878号公報
特許第4304215号公報
特許第5672425号公報
特許第5685735号公報
特許第6783772号公報
【発明の概要】
【発明が解決しようとする課題】
【0008】
上記したように、暗号鍵をルーティングする拠点からユーザ拠点への鍵配送をインターネットで実現すると、上記ラストワンマイル問題が生じることになる。
【0009】
そこで本発明の目的は、ユーザ拠点と、このユーザ拠点で使用する暗号鍵(乱数鍵とも称される)を送出するための中継ノード、及び前記ユーザ拠点から当該暗号鍵を受取るための中継ノードを、比較的安価な別のQKD装置(例えばCVQKD(Continuous Variable QKD)装置)を持つノードとし、セキュリティを向上させたユーザ拠点装置、暗号通信システム及び暗号通信方法を提供することにある。
【0010】
さらにまた、暗号鍵(乱数鍵)を分散し、分散した乱数鍵を送信する、また分散されている乱数鍵を受信するために、複数の経路(ルート)を設けて、暗号鍵(乱数鍵)が、経路の途中で完全復元されるのを抑制することができる、ユーザ拠点装置、暗号通信システム及び暗号通信方法を提供することにある。
【課題を解決するための手段】
(【0011】以降は省略されています)
この特許をJ-PlatPat(特許庁公式サイト)で参照する
関連特許
株式会社東芝
センサ
1か月前
株式会社東芝
端子台
2日前
株式会社東芝
モータ
1か月前
株式会社東芝
センサ
1か月前
株式会社東芝
電子回路
11日前
株式会社東芝
金型構造
1か月前
株式会社東芝
吸音装置
1か月前
株式会社東芝
電子装置
1か月前
株式会社東芝
電子装置
15日前
株式会社東芝
半導体装置
1か月前
株式会社東芝
半導体装置
1か月前
株式会社東芝
半導体装置
11日前
株式会社東芝
半導体装置
11日前
株式会社東芝
高周波回路
11日前
株式会社東芝
半導体装置
1か月前
株式会社東芝
半導体装置
1か月前
株式会社東芝
半導体装置
18日前
株式会社東芝
半導体装置
11日前
株式会社東芝
半導体装置
11日前
株式会社東芝
半導体装置
11日前
株式会社東芝
半導体装置
1か月前
株式会社東芝
半導体装置
15日前
株式会社東芝
半導体装置
15日前
株式会社東芝
粒子加速器
1か月前
株式会社東芝
真空バルブ
10日前
株式会社東芝
半導体装置
15日前
株式会社東芝
半導体装置
16日前
株式会社東芝
半導体装置
17日前
株式会社東芝
半導体装置
17日前
株式会社東芝
半導体装置
1か月前
株式会社東芝
半導体装置
1か月前
株式会社東芝
半導体装置
1か月前
株式会社東芝
半導体装置
17日前
株式会社東芝
半導体装置
1か月前
株式会社東芝
半導体装置
17日前
株式会社東芝
真空バルブ
16日前
続きを見る
他の特許を見る