TOP
|
特許
|
意匠
|
商標
特許ウォッチ
Twitter
他の特許を見る
10個以上の画像は省略されています。
公開番号
2025159016
公報種別
公開特許公報(A)
公開日
2025-10-17
出願番号
2025130707,2023196863
出願日
2025-08-05,2010-09-16
発明の名称
半導体装置の作製方法
出願人
株式会社半導体エネルギー研究所
代理人
主分類
H10D
30/01 20250101AFI20251009BHJP()
要約
【課題】酸化物半導体膜を用いる薄膜トランジスタにおいて、安定した電気特性を有する
信頼性のよい薄膜トランジスタを提供することを課題の一つとする。
【解決手段】酸化物半導体膜を用いる薄膜トランジスタのチャネル長が1.5μm以上1
00μm以下、好ましくは3μm以上10μm以下の範囲において、室温以上180℃以
下の動作温度範囲、または、-25℃以上150℃以下の動作温度範囲で、しきい値電圧
の変動幅を3V以下、好ましくは1.5V以下とすることで、安定した電気特性を有する
半導体装置を作製することができる。特に半導体装置の一態様である表示装置において、
しきい値の変動に起因する表示むらを低減することができる。
【選択図】図1
特許請求の範囲
【請求項1】
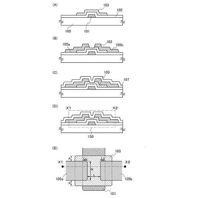
絶縁表面を有する基板上に、ゲート電極層を形成し、
前記ゲート電極層上にゲート絶縁層を形成し、
前記ゲート絶縁層上に酸化物半導体層を形成し、
前記酸化物半導体層を形成した後、第1の熱処理を行い、
前記酸化物半導体層上に、ソース電極層及びドレイン電極層を形成し、
前記ゲート絶縁層、前記酸化物半導体層、前記ソース電極層及び前記ドレイン電極層上に前記酸化物半導体層の一部と接する保護絶縁層を形成し、
前記保護絶縁層を形成した後、第2の熱処理を行い、
前記第2の熱処理は、前記第1の熱処理より低い温度で行い、
前記第1の熱処理は、350℃以上750℃以下の温度で行い、
前記第1の熱処理は、窒素雰囲気または希ガス雰囲気下で行い、
前記第2の熱処理は、100℃以上第1の熱処理温度以下で行い、
前記第2の熱処理は、大気雰囲気、酸素雰囲気、窒素雰囲気または希ガス雰囲気下で行うことを特徴とする半導体装置の作製方法。
発明の詳細な説明
【技術分野】
【0001】
酸化物半導体を用いる半導体装置およびその作製方法に関する。
続きを表示(約 1,900 文字)
【0002】
なお、本明細書中において半導体装置とは、半導体特性を利用することで機能しうる装置
全般を指し、電気光学装置、半導体回路および電子機器は全て半導体装置である。
【背景技術】
【0003】
近年、絶縁表面を有する基板上に形成された半導体薄膜(厚さ数~数百nm程度)を用い
て薄膜トランジスタ(TFT)を構成する技術が注目されている。薄膜トランジスタはI
Cや電気光学装置のような電子デバイスに広く応用され、特に画像表示装置のスイッチン
グ素子として開発が急がれている。多様な金属酸化物が存在し、さまざまな用途に用いら
れている。酸化インジウムはよく知られた材料であり、液晶ディスプレイなどで必要とさ
れる透明電極材料として用いられている。
【0004】
金属酸化物の中には半導体特性を示すものがある。半導体特性を示す金属酸化物としては
、例えば、酸化タングステン、酸化錫、酸化インジウム、酸化亜鉛などがあり、このよう
な半導体特性を示す金属酸化物をチャネル形成領域とする薄膜トランジスタが既に知られ
ている(特許文献1及び特許文献2)。
【先行技術文献】
【特許文献】
【0005】
特開2007-123861号公報
特開2007-96055号公報
【発明の概要】
【発明が解決しようとする課題】
【0006】
アクティブマトリクス型の表示装置においては、回路を構成する薄膜トランジスタの電気
特性が重要であり、この電気特性が表示装置の性能を左右する。特に、薄膜トランジスタ
の電気特性のうち、しきい値電圧(以下、しきい値もしくはVthともいう)が重要であ
る。電界効果移動度が高くともしきい値電圧値が高い、或いはしきい値電圧値がマイナス
であると、その薄膜トランジスタを含む回路は制御することが困難である。しきい値電圧
値が高く、しきい値電圧の絶対値が大きい薄膜トランジスタの場合には、駆動電圧が低い
状態ではTFTとしてのスイッチング機能を果たすことができず、負荷となる恐れがある
。また、しきい値電圧値がマイナスであると、ゲート電圧が0Vでもソース電極とドレイ
ン電極の間に電流が流れる、所謂ノーマリーオンとなりやすい。
【0007】
nチャネル型の薄膜トランジスタの場合、ゲート電圧に正の電圧を印加してはじめてチャ
ネルが形成されて、ドレイン電流が流れ出す薄膜トランジスタが望ましい。駆動電圧を高
くしないとチャネルが形成されない薄膜トランジスタや、負の電圧状態でもチャネルが形
成されてドレイン電流が流れる薄膜トランジスタは、回路に用いる薄膜トランジスタとし
ては不向きである。
【0008】
例えば、半導体装置において回路を構成する薄膜トランジスタの特性変動幅が大きい場合
、そのしきい値電圧の変動に起因する動作不良が発生する恐れがある。そこで、本発明の
一形態は、広い温度範囲で安定して動作する薄膜トランジスタ及びそれを用いた半導体装
置を提供することを目的とする。
【課題を解決するための手段】
【0009】
本明細書で開示する本発明の一態様は、絶縁表面を有する基板上に、ゲート電極層を形成
し、ゲート電極層上にゲート絶縁層を形成し、ゲート絶縁層上に酸化物半導体層を形成し
、酸化物半導体層上に、ソース電極層及びドレイン電極層を形成し、ゲート絶縁層、酸化
物半導体層、ソース電極層及びドレイン電極層上に酸化物半導体層の一部と接する絶縁層
を形成することを特徴とする半導体装置である。
【0010】
また、本明細書で開示する本発明の一態様は、絶縁表面を有する基板上に、ゲート電極層
を形成し、ゲート電極層上にゲート絶縁層を形成し、ゲート絶縁層上に酸化物半導体層を
形成し、酸化物半導体層を形成した後、第1の熱処理を行い、酸化物半導体層上に、ソー
ス電極層及びドレイン電極層を形成し、ゲート絶縁層、酸化物半導体層、ソース電極層及
びドレイン電極層上に酸化物半導体層の一部と接する絶縁層を形成し、絶縁層を形成した
後、第2の熱処理を行うことを特徴とする半導体装置の作製方法である。
(【0011】以降は省略されています)
この特許をJ-PlatPat(特許庁公式サイト)で参照する
関連特許
個人
半導体装置
17日前
東レ株式会社
太陽電池モジュール
17日前
エイブリック株式会社
半導体装置
23日前
エイブリック株式会社
縦型ホール素子
11日前
エイブリック株式会社
縦型ホール素子
11日前
ローム株式会社
抵抗チップ
2日前
富士通株式会社
半導体装置
16日前
ローム株式会社
半導体装置
18日前
三菱電機株式会社
半導体装置
16日前
株式会社半導体エネルギー研究所
表示装置
11日前
富士電機株式会社
半導体装置
8日前
日亜化学工業株式会社
発光素子
24日前
ミツミ電機株式会社
半導体装置
23日前
日亜化学工業株式会社
発光素子
16日前
TDK株式会社
圧電素子
16日前
日亜化学工業株式会社
発光装置
15日前
デクセリアルズ株式会社
受光装置
22日前
TDK株式会社
光検知装置
23日前
ローム株式会社
半導体装置
3日前
ローム株式会社
半導体装置
24日前
富士電機株式会社
半導体装置の製造方法
10日前
ローム株式会社
窒化物半導体装置
2日前
ローム株式会社
窒化物半導体装置
11日前
ローム株式会社
TVSダイオード
24日前
ローム株式会社
TVSダイオード
24日前
ローム株式会社
半導体装置
1日前
株式会社東芝
熱電変換装置
24日前
サンケン電気株式会社
半導体装置
22日前
内山工業株式会社
太陽電池
22日前
キオクシア株式会社
記憶装置
22日前
大日本印刷株式会社
太陽電池
4日前
沖電気工業株式会社
発光装置及び表示装置
17日前
株式会社カネカ
太陽電池モジュール
15日前
株式会社カネカ
太陽電池モジュール
24日前
日本電気株式会社
超伝導量子回路装置
16日前
サンケン電気株式会社
発光装置
15日前
続きを見る
他の特許を見る