TOP
|
特許
|
意匠
|
商標
特許ウォッチ
Twitter
他の特許を見る
公開番号
2025158977
公報種別
公開特許公報(A)
公開日
2025-10-17
出願番号
2025113159,2023527094
出願日
2025-07-03,2021-11-04
発明の名称
固定装置、当該固定装置を有する頭部保護具
出願人
カード・システムズ・リミテッド
代理人
個人
,
個人
,
個人
主分類
A44B
99/00 20100101AFI20251009BHJP(小間物;貴金属宝石類)
要約
【課題】機能ユニットを受容ユニットへ信頼性高く固定する固定装置を提案すること。
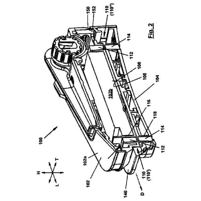
【解決手段】機能ユニット102を連結方向に受容ユニット104へ解放可能に固定する固定装置100が提供される。前記機能ユニット102および前記受容ユニット104はそれぞれ、縦方向L、横方向T、および高さ方向Hを有する。前記固定装置100は、少なくとも一対の磁石110を備え、少なくとも1つの機能ユニット磁石112が、機能ユニット当接面106に、またはそれに近接して配置され、少なくとも1つの受容ユニット磁石114が、受容ユニット当接面108に、またはそれに近接して配置される。前記少なくとも一対の磁石110の前記磁石112、114は、互いに引力を発揮する。さらに別の態様によれば、そのような固定装置100の機能ユニット102および受容ユニット104との組合せ、ならびに頭部保護具と固定装置100との組合せが提供される。
【選択図】図2
特許請求の範囲
【請求項1】
機能ユニットを連結方向に受容ユニットへ解放可能に固定する固定装置であって、
通信装置および機能ユニット当接面を備える機能ユニットと;
受容ユニット当接面を備える受容ユニットであって、前記機能ユニット当接面と前記受容ユニット当接面とが、連結状態では相互に当接するように構成されている、受容ユニットと;
前記機能ユニット当接面に、または前記機能ユニット当接面の近傍内に配置された少なくとも1つの機能ユニット磁石と、前記受容ユニット当接面に、または前記受容ユニット当接面の近傍内に配置された少なくとも1つの受容ユニット磁石と、を備える少なくとも一対の磁石であって、前記少なくとも一対の磁石の前記少なくとも1つの機能ユニット磁石および前記少なくとも1つの受容ユニット磁石が、相互に引力を発揮する、少なくとも一対の磁石と;
前記機能ユニットの外面に位置決めされた第1の係止要素と、前記受容ユニットの外面に位置決めされた第2の係止要素と、を備える少なくとも1つのスナップロックユニットであって、前記第1の係止要素または前記第2の係止要素の一方が、曲げ方向に曲げることが可能なキャッチ要素を備え、前記第1の係止要素または前記第2の係止要素の他方が、トラップ要素を備え、前記キャッチ要素が、前記機能ユニットを前記受容ユニットに係止するために前記トラップ要素と係合するように構成される、少なくとも1つのスナップロックユニットと;
取付位置と解放位置との間で移動可能な取付要素であって、前記取付要素が、(i)前記取付位置にある間に、前記受容ユニットに対する前記機能ユニットの取外し方向での移動を防止し、(ii)前記解放位置にある間に、前記受容ユニットに対する前記機能ユニットの前記取外し方向での前記移動を可能にするように構成される、取付要素と;
を備えることを特徴とする、固定装置。
続きを表示(約 1,200 文字)
【請求項2】
前記機能ユニットおよび前記受容ユニットが、縦方向、横方向および高さ方向をそれぞれ有し、前記連結方向が、前記高さ方向と平行に延在し、前記曲げ方向が、前記横方向と平行に延在し、前記取外し方向が、前記縦方向と平行である、
請求項1に記載の固定装置。
【請求項3】
前記機能ユニットおよび前記受容ユニットが、縦方向、横方向および高さ方向をそれぞれ有し、前記連結方向が、前記高さ方向と平行に延在し、前記曲げ方向が、前記縦方向と平行に延在し、前記取外し方向が、前記横方向と平行である、
請求項1に記載の固定装置。
【請求項4】
前記機能ユニット磁石または前記受容ユニット磁石の少なくとも一方が、能動磁石である、
請求項1に記載の固定装置。
【請求項5】
前記連結状態における前記少なくとも1つの機能ユニット磁石の位置と前記少なくとも1つの受容ユニット磁石の位置とが、連結方向で見たとき、少なくとも部分的に重なり合う、
請求項1に記載の固定装置。
【請求項6】
前記機能ユニットが、ハウジングと、前記ハウジング内の前記通信装置と、を備え、
前記固定装置が、前記通信装置の外側に配置された少なくとも二対の磁石を備える、
請求項1に記載の固定装置。
【請求項7】
前記機能ユニット当接面が、少なくとも1つの傾斜した機能ユニット当接面部分を備え、
前記受容ユニット当接面が、少なくとも1つの傾斜した受容ユニット当接面部分を備え、
前記少なくとも1つの傾斜した受容ユニット当接面部分が、前記機能ユニットと前記受容ユニットとの前記連結状態において、前記少なくとも1つの傾斜した機能ユニット当接面部分と少なくとも部分的に整列される、
請求項1に記載の固定装置。
【請求項8】
前記少なくとも1つのスナップロックユニットが、前記機能ユニットおよび前記受容ユニットの各側面に少なくとも1つのスナップロックユニットを備える、
請求項1に記載の固定装置。
【請求項9】
前記トラップ要素が、トラップ摺動面を備え、
前記キャッチ要素が、キャッチ摺動面を備え、
前記トラップ摺動面と前記キャッチ摺動面とが、互いに沿って摺動すると、前記キャッチ要素のキャッチ端部を係止準備位置へ弾性的に曲げる、
請求項1に記載の固定装置。
【請求項10】
前記キャッチ要素が、前記キャッチ端部をそれぞれの配置ユニットに連結する弾性ウェブを備え、前記それぞれの配置ユニットが、前記受容ユニットまたは前記機能ユニットを備える、
請求項9に記載の固定装置。
(【請求項11】以降は省略されています)
発明の詳細な説明
【技術分野】
【0001】
本発明は、機能ユニットを連結方向に受容ユニットへ解放可能に固定する固定装置であって、前記機能ユニットおよび前記受容ユニットが、それぞれ、縦方向、横方向、および高さ方向を有し、前記機能ユニットが、機能ユニット当接面をさらに有し、前記受容ユニットが、受容ユニット当接面をさらに有し、前記機能ユニット当接面と前記受容ユニット当接面とが、連結状態では相互に当接するように適合されている、固定装置に関する。
続きを表示(約 1,700 文字)
【背景技術】
【0002】
通信ユニットが、本発明の文脈において使用される機能ユニットの例であり得ることを、既にこの時点で留意されたい。さらに別の例は、カメラユニットであり得る。さらに別の例は、スマートヘルメットに関する任意のセンサ、たとえば衝突検出センサであり得る。さらに別の例は、振動を介して音を伝達することが可能なものを含む外部スピーカ、または騒音相殺用のマイクロフォンなど、音響ユニットであり得る。さらに、機能ユニットは、複数の前述のユニットおよび/またはセンサの組合せを含み得る。さらに、機能は、必ずしも技術的機能である必要はないことに留意されたい。逆に、機能ユニットは、たとえば美観的機能など、非技術的機能もまた果たすことができる。
【0003】
前述のタイプの固定装置は、たとえば、特許文献1によって知られている。
【先行技術文献】
【特許文献】
【0004】
国際公開第2012/100061号パンフレット
【発明の概要】
【発明が解決しようとする課題】
【0005】
特許文献1を考慮して、本発明の目的は、機能ユニットを受容ユニットへ信頼性高く固定する固定装置を提案することである。
【課題を解決するための手段】
【0006】
本発明によれば、この目的は、前述のタイプの固定装置であって、少なくとも一対の磁石をさらに備え、少なくとも1つの機能ユニット磁石が、機能ユニット当接面に、または機能ユニット当接面に近接して配置され、少なくとも1つの受容ユニット磁石が、受容ユニット当接面に、または受容ユニット当接面に近接して配置され、前記少なくとも一対の磁石の前記磁石が相互に引力を発揮する、固定装置によって達成される。
【0007】
少なくとも1つの機能ユニット磁石と少なくとも1つの受容ユニット磁石とが合わさって、前記少なくとも一対の磁石に関する一対の磁石を構成することに留意されたい。
【0008】
一実施形態によれば、前記機能ユニットと前記受容ユニットとの連結状態における前記機能ユニットおよび前記受容ユニットの高さ方向は、好ましくは、連結方向に実質的に平行に延在し得る。
【0009】
磁石同士は、互いに近接して配置されているとき、たとえば単にハウジング材料の薄いシートによって離されているときにのみ極めて強い引力を発揮するのでなく、互いにさらに離されていてもかなりの強さの引力を発揮する。したがって、少なくとも一対の磁石を使用することによって、磁石が互いに引き付け合い、それによって機能ユニットを受容ユニットに対して正しい位置に引き寄せるので、使用者が、機能ユニットを受容ユニットへ近づけるとき、機能ユニットと受容ユニットとの正しい相対位置決めを確実に見いだすことをサポートする。言い換えれば、磁石は、自動調心効果を発揮する。この自動調心効果は、たとえ機能ユニットが、たとえば使用者が手袋を着用している(ユニット同士を、指で正確に取り付けるのではなく、互いに近づける方が容易である)という理由で、かつ/または頭部保護具を被った使用者がユニットを見ることができないので、ユニットを互いに近づけて保持するしかないという理由で、受容ユニットからある程度の距離で手放されても、機能ユニットと受容ユニットとを確実に連結する。さらに、機能ユニットと受容ユニットとが連結状態にあるとき、強い引力が、受容ユニットに取り付けられた機能ユニットを確実に保持する。言い換えれば、磁石は、二重の形で確実な固定をサポートする。
【0010】
強い引力を得るために、機能ユニット磁石および受容ユニット磁石のうちの少なくとも一方が、能動磁石、たとえば永久磁石または電磁石であり得る。能動磁石は、受動磁石とは対照的に、外部磁場によって影響されなくても、磁場を形成する。一実施形態によれば、希土類磁石、好ましくはサマリウムコバルト磁石、より好ましくはネオジムサマリウムコバルト磁石が、たとえば、永久磁石として使用され得る。
(【0011】以降は省略されています)
この特許をJ-PlatPat(特許庁公式サイト)で参照する
関連特許
個人
装飾体
10か月前
個人
名札留め
8か月前
個人
指輪
3か月前
個人
装身具
4か月前
個人
ベルト等の留め具
29日前
個人
装身具
3か月前
個人
ネイルアクセサリー
9か月前
個人
スナップファスナー
6か月前
個人
名札の取付構造
11か月前
合同会社川畑
ベルト
9か月前
個人
爪装着具および爪装身具
6か月前
モリト株式会社
バックル
6か月前
個人
荷物運搬軽減補助バックル
6か月前
株式会社セベル・ピコ
イヤリング
9か月前
個人
身の回り品の係止構造
11か月前
個人
装飾用部材、及び装飾品
11日前
個人
缶製品及び缶製品作成方法
29日前
YKK株式会社
ファスナー用引手
3か月前
株式会社トップジュエリー
装身具
4か月前
個人
縫わずにプッチンと取付けるボタン
7か月前
株式会社ニフコ
帯状体用アクセサリー
13日前
個人
腕時計のベルトの長さの採寸治具
1か月前
株式会社Lin
裸石入れ替え式ペンダント石枠
1か月前
YKK株式会社
スライダー及びファスナー
3か月前
株式会社B.L.S.
固定構造および宝飾品
7か月前
YKK株式会社
スライダー
6か月前
株式会社クロスフォー
指輪、及びその製造方法
5か月前
株式会社クロスフォー
宝石支持体および装飾具
11か月前
株式会社円樹
装身具
25日前
高笙工業有限公司
ロープ締付装置
10か月前
アイティーボタン株式会社
ボタン
10か月前
株式会社G-STARS
クリップ止め器具
6か月前
川北商店株式会社
がま口の金具装着用挟み止め具
7か月前
株式会社クロスフォー
装身具用のポスト及び装身具
1か月前
YKK株式会社
バックル
6か月前
モリト株式会社
テープ状ストラップ及びその取付け具
4か月前
続きを見る
他の特許を見る