TOP
|
特許
|
意匠
|
商標
特許ウォッチ
Twitter
他の特許を見る
公開番号
2025130289
公報種別
公開特許公報(A)
公開日
2025-09-08
出願番号
2024027373
出願日
2024-02-27
発明の名称
装身具用のポスト及び装身具
出願人
株式会社クロスフォー
代理人
個人
主分類
A44C
7/00 20060101AFI20250901BHJP(小間物;貴金属宝石類)
要約
【課題】変形による装飾体の脱落を生じ難くすることができるポストと、そのようなポストを備えた装身具を提供する。
【解決手段】装身具1は、身体に開けた孔に挿入されるポスト3と、ポスト3に取り付けられる装飾体5とを有する。ポスト3は、セラミックスにより形成された柱状のポスト本体10と、ポスト本体10に設けられ、ポスト本体10の長手方向に対して垂直な方向に突出した突出部20とを有する。ポスト本体10の端部15が、身体に開けた孔に挿入される。ポスト本体10の端部11から突出部20までの部分(取り付け部12)が、装身具1の装飾体5に取り付けられる。
【選択図】図1
特許請求の範囲
【請求項1】
身体に開けた孔に挿入される装身具用のポストであって、
セラミックスにより形成された柱状のポスト本体と、
前記ポスト本体に設けられ、前記ポスト本体の長手方向に対して垂直な方向に突出した突出部とを有し、
前記ポスト本体の一端が、身体に開けた孔に挿入され、
前記ポスト本体の他端から前記突出部までの部分が、装身具の装飾体に取り付けられる、
ポスト。
続きを表示(約 970 文字)
【請求項2】
前記ポスト本体と前記突出部とがセラミックスにより一体に成形されている、
請求項1に記載のポスト。
【請求項3】
前記突出部は、前記長手方向に対して垂直であり、前記ポスト本体の周囲を囲み、前記ポスト本体の前記他端側を向いた平面である第1端面を有する、
請求項1に記載のポスト。
【請求項4】
前記長手方向に対して平行な方向から見て、前記ポスト本体の外形と前記第1端面の外形とが同心円をなしており、
前記ポスト本体の外形の直径R1と前記第1端面の外形の直径R2との比R2/R1が1.5~2.5である、
請求項3に記載のポスト。
【請求項5】
前記突出部は、
前記長手方向に対して垂直であり、前記ポスト本体の周囲を囲み、前記ポスト本体の前記一端側を向いた平面である第2端面と、
前記第1端面と前記第2端面とに接しており、前記ポスト本体の周囲を囲んだ側面とを有する、
請求項3に記載のポスト。
【請求項6】
前記第1端面の外形と前記第2端面の外形とが合同であり、
前記突出部の前記側面は、前記長手方向に対して平行に伸びている、
請求項5に記載のポスト。
【請求項7】
前記長手方向に平行な方向から見て、前記第1端面の外形及び前記第2端面の外形が、それぞれ前記ポスト本体の外形と同心円をなす、
請求項6に記載のポスト。
【請求項8】
前記突出部は、前記長手方向に対して垂直な断面が円であり、前記ポスト本体の前記他端に向かうにつれて当該断面の径が連続的に小さくなる縮径部を含む、
請求項3に記載のポスト。
【請求項9】
前記ポスト本体における前記一端と前記突出部との間に設けられ、前記長手方向に対して交差する方向に延びた溝を有する、
請求項1に記載のポスト。
【請求項10】
前記突出部は、前記ポスト本体の前記一端側に向かって窪み、前記ポスト本体の周囲を囲み、前記ポスト本体の前記他端側を向いた曲面である第1端面を有する、
請求項2に記載のポスト。
(【請求項11】以降は省略されています)
発明の詳細な説明
【技術分野】
【0001】
本発明は、装身具に用いられるポスト及び装身具に関するものである。
続きを表示(約 1,900 文字)
【背景技術】
【0002】
ピアスは、身体(耳たぶ等)に開けた孔に装着される装身具の一種である。ピアスにおいて身体に開けた孔に挿入される柱状の部品はポストと呼ばれる。ポストの端部には、宝石等の装飾体が取り付けられる。
【発明の概要】
【発明が解決しようとする課題】
【0003】
装飾体に設けられた孔に貴金属のポストの一部を挿入し、その孔の中で接着剤により装飾体とポストを固定する場合がある。この場合、ポストに強い力が加わると、装飾体の孔の入口付近でポストが折れ曲がるように変形し、装飾体の孔から引き抜く方向の力がポストに作用するため、装飾体とポストとの接着が剥がれ易くなる。そこで、一般的な貴金属のポストには、装飾体に接着固定される柱状部分の根元にフランジ状の部分が設けられている。このフランジ状の部分を装飾体の外面に接着剤で接着することにより、装飾体の孔の入り口付近におけるポストの変形が生じ難くなり、ポストに対する装飾体の脱落が回避され易くなる。
【0004】
しかしながら、ポストの変形を抑えるために大きなフランジ状の部分を設けると、貴金属の使用量が多くなるため材料コストが上昇するという問題がある。
【0005】
本発明はかかる事情に鑑みてなされたものであり、その目的は、変形による装飾体の脱落を生じ難くすることができるポストと、そのようなポストを備えた装身具を提供することである。
【課題を解決するための手段】
【0006】
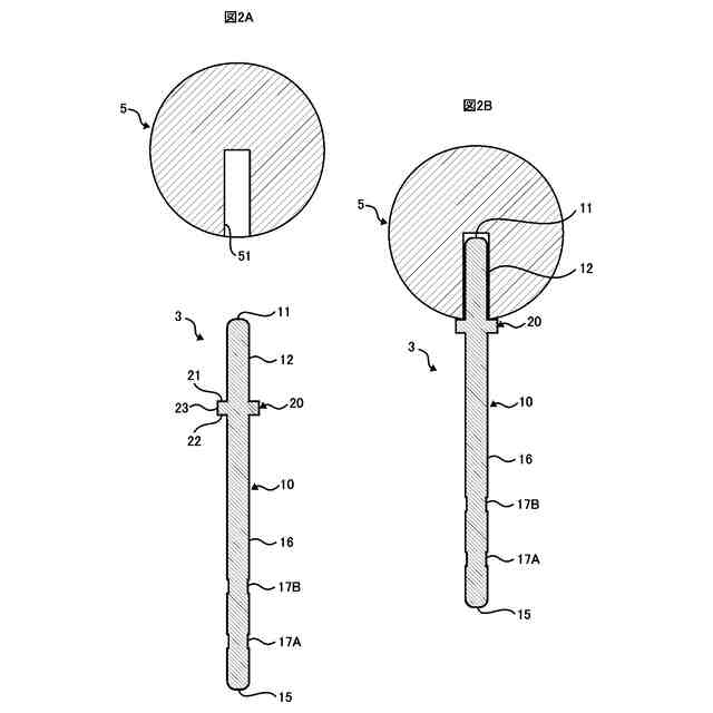
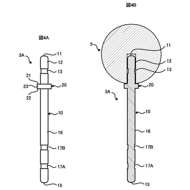
本発明の第1の態様は、身体に開けた孔に挿入される装身具用のポストであって、セラミックスにより形成された柱状のポスト本体と、ポスト本体に設けられ、ポスト本体の長手方向に対して垂直な方向に突出した突出部とを有し、ポスト本体の一端が、身体に開けた孔に挿入され、ポスト本体の他端から突出部までの部分が、装身具の装飾体に取り付けられる。
この構成によれば、貴金属よりも硬いセラミックスによってポスト本体が形成されるため、ポスト本体に対して強い力が加わっても、ポスト本体が変形し難い。例えば、装飾体に設けられた孔にポスト本体の他端から突出部までの部分を挿入して接着剤により固定する場合、ポスト本体に強い力が加わっても、装飾体の孔の入り口付近におけるポスト本体の変形がほとんど生じないため、装飾体とポストとの接着が維持され易くなる。従って、ポスト本体の変形による装飾体の脱落が生じ難くなる。
また、この構成によれば、ポスト本体に突出部が設けられているため、ポスト本体において装飾体に取り付けられる部分(例えば、装飾体に設けられた孔に挿入される部分)が、ポスト本体の他端から突出部までの部分に限定される。これにより、ポスト本体において身体の孔に挿入される部分として、一定の長さの部分を確保することが可能になる。
【0007】
好適には、ポスト本体と突出部とがセラミックスにより一体に成形されている。
これにより、ポスト本体と突出部との組み立てが不要になり、製造工程が簡易になる。
【0008】
好適には、突出部は、長手方向に対して垂直であり、ポスト本体の周囲を囲み、ポスト本体の他端側を向いた平面である第1端面を有する。
これにより、装飾体に設けられた孔にポスト本体の他端から突出部までの部分を挿入して固定する場合、装飾体の孔を突出部の第1端面により塞ぐことが可能となる。
【0009】
好適には、長手方向に対して平行な方向から見て、ポスト本体の外形と第1端面の外形とが同心円をなしており、ポスト本体の外形の直径R1と第1端面の外形の直径R2との比R2/R1が1.5~2.5である。
これにより、装飾体に設けられた孔にポスト本体の他端から突出部までの部分を挿入して固定する場合において、装飾体の孔を塞ぐことが可能な第1端面を確保し易くなる。また、ポスト本体の他端が固定された状態で第1端面の端縁に力が加えられた場合において、第1端面とポスト本体との接続部分に作用する力が過大にならず、適切な範囲に制限され易くなる。
【0010】
好適には、突出部は、長手方向に対して垂直であり、ポスト本体の周囲を囲み、ポスト本体の一端側を向いた平面である第2端面と、第1端面と第2端面とに接しており、ポスト本体の周囲を囲んだ側面とを有する。
これにより、ポスト本体の一端から突出部の第2端面までの部分が、身体に開けた孔に挿入される部分として確保される。
(【0011】以降は省略されています)
この特許をJ-PlatPat(特許庁公式サイト)で参照する
関連特許
個人
装飾体
10か月前
個人
名札留め
8か月前
個人
指輪
3か月前
個人
装身具
4か月前
個人
ベルト等の留め具
29日前
個人
装身具
3か月前
個人
ネイルアクセサリー
9か月前
個人
スナップファスナー
6か月前
個人
名札の取付構造
11か月前
合同会社川畑
ベルト
9か月前
個人
爪装着具および爪装身具
6か月前
モリト株式会社
バックル
6か月前
個人
荷物運搬軽減補助バックル
6か月前
株式会社セベル・ピコ
イヤリング
9か月前
個人
身の回り品の係止構造
11か月前
個人
装飾用部材、及び装飾品
11日前
個人
缶製品及び缶製品作成方法
29日前
YKK株式会社
ファスナー用引手
3か月前
株式会社トップジュエリー
装身具
4か月前
個人
縫わずにプッチンと取付けるボタン
7か月前
株式会社ニフコ
帯状体用アクセサリー
13日前
個人
腕時計のベルトの長さの採寸治具
1か月前
株式会社Lin
裸石入れ替え式ペンダント石枠
1か月前
YKK株式会社
スライダー及びファスナー
3か月前
株式会社B.L.S.
固定構造および宝飾品
7か月前
YKK株式会社
スライダー
6か月前
株式会社クロスフォー
指輪、及びその製造方法
5か月前
株式会社クロスフォー
宝石支持体および装飾具
11か月前
株式会社円樹
装身具
25日前
高笙工業有限公司
ロープ締付装置
10か月前
アイティーボタン株式会社
ボタン
10か月前
株式会社G-STARS
クリップ止め器具
6か月前
川北商店株式会社
がま口の金具装着用挟み止め具
7か月前
株式会社クロスフォー
装身具用のポスト及び装身具
1か月前
YKK株式会社
バックル
6か月前
モリト株式会社
テープ状ストラップ及びその取付け具
4か月前
続きを見る
他の特許を見る