TOP
|
特許
|
意匠
|
商標
特許ウォッチ
Twitter
他の特許を見る
公開番号
2025158962
公報種別
公開特許公報(A)
公開日
2025-10-17
出願番号
2025062375
出願日
2025-04-04
発明の名称
電力半導体モジュール用放熱基板及びこれを含む電力変換装置
出願人
エルエックス セミコン カンパニー, リミティド
代理人
弁理士法人鷲田国際特許事務所
主分類
H01L
23/36 20060101AFI20251009BHJP(基本的電気素子)
要約
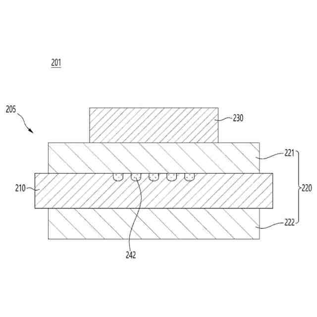
【課題】放熱基板の放熱性能を向上させる放熱基板用セラミック基板、電力半導体モジュール用放熱基板、該基板を含む電力半導体モジュール、該モジュールを含む電力変換装置及びその製造方法を提供する。
【解決手段】電力半導体モジュール200において、放熱基板205は、絶縁基板210と、絶縁基板210上に配置される第1メタルプレート221と、絶縁基板210の下に配置される第2メタルプレート222と、絶縁基板210内に配置される第1フィラー241と、を含み、第1フィラー241は、第1メタルプレート221の下面に接し、第2メタルプレートの上面には接しなくてもよい。
【選択図】図4
特許請求の範囲
【請求項1】
絶縁基板と、
前記絶縁基板上に配置される第1メタルプレートと、
前記絶縁基板の下に配置される第2メタルプレートと、
前記絶縁基板内に配置されるフィラーと、を含み、
前記フィラーは、前記第1メタルプレートの下面に配置され、
前記第2メタルプレートの上面に接しない、電力半導体モジュール用放熱基板。
続きを表示(約 1,200 文字)
【請求項2】
前記フィラーは、複数個を含み、互いに離隔して配置される、請求項1に記載の電力半導体モジュール用放熱基板。
【請求項3】
前記フィラーは、下の方向に延長されて配置される、請求項1に記載の電力半導体モジュール用放熱基板。
【請求項4】
前記第1メタルプレートと前記絶縁基板の間に配置される接合金属層及び拡散金属層を含み、
前記第1メタルプレートと前記フィラーが接する、請求項1に記載の電力半導体モジュール用放熱基板。
【請求項5】
前記フィラーは、円柱形態を含む、請求項1に記載の電力半導体モジュール用放熱基板。
【請求項6】
絶縁基板と、
前記絶縁基板上に配置される第1メタルプレートと、
前記絶縁基板の下に配置される第2メタルプレートと、
前記絶縁基板内に配置されるフィラーと、を含み、
前記フィラーは、複数の第1フィラー及び複数の第2フィラーを含み、
前記複数の第1フィラーは、前記第1メタルプレートの下面に接し、
前記複数の第2フィラーは、前記第2メタルプレートの上面に接し、
前記複数の第2フィラーの水平幅は、前記複数の第1フィラーの水平幅より大きく、
前記第1フィラーは、前記第2メタルプレートと接しない、電力半導体モジュール用放熱基板。
【請求項7】
前記第2フィラーは、前記第1フィラーと接しない、請求項6に記載の電力半導体モジュール用放熱基板。
【請求項8】
絶縁基板と、
前記絶縁基板上に配置される第1メタルプレートと、
前記絶縁基板の下に配置される第2メタルプレートと、
前記絶縁基板内に配置されるフィラーと、を含み、
前記フィラーは、前記第1メタルプレートの下面に接する1つ以上の第1フィラーと、前記第2メタルプレートの上面に接する1つ以上の第2フィラーを含み、
前記第1フィラーまたは前記第2フィラーの垂直方向の長さは、前記絶縁基板の厚さの1/2以上である、電力半導体モジュール用放熱基板。
【請求項9】
前記第1フィラーと前記第2フィラーは、垂直方向に交互に配置され、水平方向には離隔するとともに重なるように配置される、請求項8に記載の電力半導体モジュール用放熱基板。
【請求項10】
絶縁基板と、
前記絶縁基板上に配置される第1メタルプレートと、
前記絶縁基板の下に配置される第2メタルプレートと、
前記絶縁基板内に配置されるフィラーと、を含み、
第2フィラーは、下に膨らむ形態を有し、
前記第2フィラーの上面は、前記第1メタルプレートの下面に接する、電力半導体モジュール用放熱基板。
発明の詳細な説明
【技術分野】
【0001】
実施例は、放熱基板用セラミック基板と、電力半導体モジュール用放熱基板と、これを含む電力半導体モジュール、これを含む電力変換装置及びこれの製造方法に関するものである。
続きを表示(約 1,400 文字)
【背景技術】
【0002】
電力変換モジュールは、電力変換(AC→DC、DC→AC)、電力変圧(降圧、昇圧)、電力分配または電力制御の機能をする装置として、電力の伝達及び制御過程でエネルギー効率を向上させ、電圧変化を制御してシステム安定性と信頼性を提供する機能をする核心部品であり、電力モジュールまたは電力システムと称される。
【0003】
電力変換モジュールは、電力半導体素子、放熱基板と、ベースプレート、モールディングシリコン、ケースとカバー、ターミナル(Terminal)などのように多様な部品を含む。
【0004】
最近、化石燃料基盤の内燃機関自動車の代わりに電気や水素基盤のエコ自動車が脚光を浴びており、このようなエコ自動車には数多い電力半導体素子が使用される。エコ自動車は、ハイブリッド自動車(HEV)、プラグインハイブリッド自動車(PHEV)、電気自動車(EV)、燃料電池自動車(PCEV)などを含む。
【0005】
また、電力半導体は、エコ自動車以外に電気自動車充電器、エネルギー貯蔵装置、電源供給装置または鉄道など多様な電気、電子装置に活用されている。
【0006】
従来では、シリコン(Silicon;Si)電力半導体素子が広く使用されてきたが、Si電力半導体が物理的限界に到達しており、これを代替するための炭化ケイ素(Silicon Carbide;SiC)または窒化ガリウム(Gallium Nitride;GaN)などのWBG(Wide Bandgap)電力半導体に対する研究が活発に行われている。
【0007】
WBG電力半導体素子は、Si電力半導体素子に比べて約3倍のバンドギャップエネルギーを有し、Si電力半導体素子に比べて約10倍高い絶縁破壊電界を有し、またSi電力半導体素子に比べて約3倍以上の高い熱伝導性を有する。このような優れる特性により高温、高電圧環境で動作することができ、高いスイッチング速度を有するとともに、スイッチング損失は低い長所を有する。
【0008】
例えば、従来電気自動車、ハイブリッド電気自動車などで電力の変換(DC⇔AC)モータ駆動のスイッチング、制御などを行うために使用されるSi基盤の電力半導体モジュールは、約150℃内外の温度環境で駆動したが、最近スイッチング性能及び電力密度増加要求により約300℃以上の使用温度、例えば約300~700℃で作動が可能なSiCまたはGaNのような広いバンドギャップ(WBG)基盤の電力半導体素子に対する研究が活発に行われている。
【0009】
一方、電力半導体で発生した熱は、電力半導体モジュールの各部分の熱-機械的応力を発生させ、接合部の熱疲労により接合部及び電力半導体素子の寿命が劣化する。従って、電力半導体素子で発生する熱を放熱基板を介して適切に放出して、電力半導体素子の接合部温度(junction temperature)を適正温度以下に維持する電力半導体モジュールの信頼性設計は非常に重要である。
【0010】
一方、電力半導体用放熱基板は、電力半導体素子の動作時に発生する熱を外部に伝達する機能だけではなく、その放熱基板の一面上には回路パターンが形成されて電力半導体素子を電気的に連結する重要な機能をする。
(【0011】以降は省略されています)
この特許をJ-PlatPat(特許庁公式サイト)で参照する
関連特許
APB株式会社
蓄電セル
8日前
東ソー株式会社
絶縁電線
10日前
個人
フレキシブル電気化学素子
22日前
ローム株式会社
半導体装置
9日前
株式会社ユーシン
操作装置
22日前
ローム株式会社
半導体装置
24日前
日新イオン機器株式会社
イオン源
18日前
株式会社東芝
端子台
2日前
マクセル株式会社
電源装置
2日前
株式会社GSユアサ
蓄電設備
22日前
オムロン株式会社
電磁継電器
23日前
株式会社GSユアサ
蓄電装置
3日前
株式会社ホロン
冷陰極電子源
16日前
太陽誘電株式会社
コイル部品
22日前
株式会社GSユアサ
蓄電設備
22日前
株式会社GSユアサ
蓄電装置
3日前
トヨタ自動車株式会社
冷却構造
10日前
ノリタケ株式会社
熱伝導シート
22日前
トヨタ自動車株式会社
バッテリ
8日前
トヨタ自動車株式会社
蓄電装置
22日前
北道電設株式会社
配電具カバー
8日前
トヨタ自動車株式会社
バッテリ
23日前
トヨタ自動車株式会社
蓄電装置
3日前
日新イオン機器株式会社
基板処理装置
5日前
日東電工株式会社
積層体
23日前
サクサ株式会社
電池の固定構造
22日前
日本特殊陶業株式会社
保持装置
11日前
ローム株式会社
半導体装置
24日前
住友電装株式会社
コネクタ
10日前
ローム株式会社
半導体装置
23日前
ローム株式会社
半導体装置
24日前
トヨタ自動車株式会社
電池パック
15日前
トヨタ自動車株式会社
電池パック
15日前
日東電工株式会社
電子装置
25日前
古河電気工業株式会社
端子
22日前
株式会社ダイヘン
搬送装置
22日前
続きを見る
他の特許を見る