TOP
|
特許
|
意匠
|
商標
特許ウォッチ
Twitter
他の特許を見る
公開番号
2025158942
公報種別
公開特許公報(A)
公開日
2025-10-17
出願番号
2025060892
出願日
2025-04-02
発明の名称
部分放電監視システムを同期させるためのデバイス
出願人
ジーイー・ベルノバ・テクノロジー・ゲーエムベーハー
,
GE Vernova Technology GmbH
代理人
個人
,
個人
,
個人
主分類
G01R
31/12 20200101AFI20251009BHJP(測定;試験)
要約
【課題】GIS内の部分放電を識別するための同期信号を生成および提供するための新しいデバイスおよび方法を提供すること。
【解決手段】本発明は、
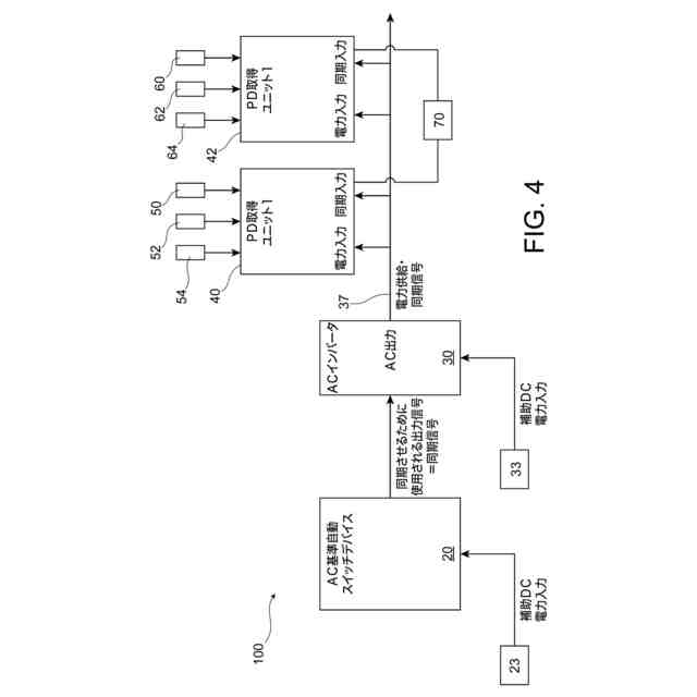
-複数のセンサから複数の同期信号を入力するための複数の入力を備えるAC基準スイッチデバイス(20)であって、該スイッチデバイスが、同期信号の存在に基づいて該複数の入力の中から入力を選択するための手段を備える、AC基準スイッチデバイス(20)、
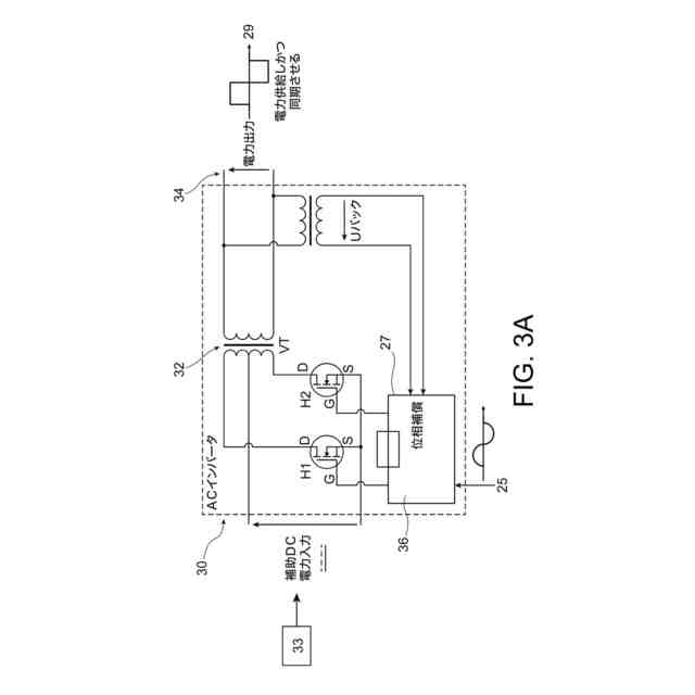
-該AC基準スイッチデバイス(20)によって提供された該同期信号に基づいて、電力・同期信号を提供するためのACインバータ(30)
を備える、GIS内の部分放電を識別するための同期信号を提供するためのデバイス(100)に関する。
【選択図】図4
特許請求の範囲
【請求項1】
-少なくとも1つの測定デバイスから複数の同期信号(10
i
、12
i
、14
i
)を入力するための複数の入力を備えるAC基準スイッチデバイス(20)であって、前記スイッチデバイスが、同期信号の存在に基づいて前記複数の入力の中から入力を選択するための手段(22)を備える、AC基準スイッチデバイス(20)、
-少なくとも前記AC基準スイッチデバイス(20)によって提供された前記同期信号に基づいて、電力・同期信号(29)を提供するためのACインバータ(30)
を備える、GIS内の部分放電を識別するための同期信号(25)を提供するためのデバイス(100)。
続きを表示(約 950 文字)
【請求項2】
前記ACインバータ(30)が、変圧器(32)を備える、請求項1に記載のデバイス(100)。
【請求項3】
前記ACインバータ(30)が、マイクロコントローラ(36)を備える、請求項1または2に記載のデバイス(100)。
【請求項4】
前記ACインバータ(30)が、位相補償手段(36)を備える、請求項1乃至3のいずれか1項に記載のデバイス(100)。
【請求項5】
前記AC基準スイッチデバイス(20)が、試験信号入力(10
i
)を備える、請求項1乃至4のいずれか1項に記載のデバイス(100)。
【請求項6】
前記AC基準スイッチデバイス(20)の電源(23)を備える、請求項1乃至5のいずれか1項に記載のデバイス(100)。
【請求項7】
前記ACインバータ(30)の電源(33)を備え、前記ACインバータ(30)が、前記AC基準スイッチデバイス(20)によって提供された前記同期信号、および前記電源(33)に基づいて、電力・同期信号を提供する、請求項1乃至6のいずれか1項に記載のデバイス(100)。
【請求項8】
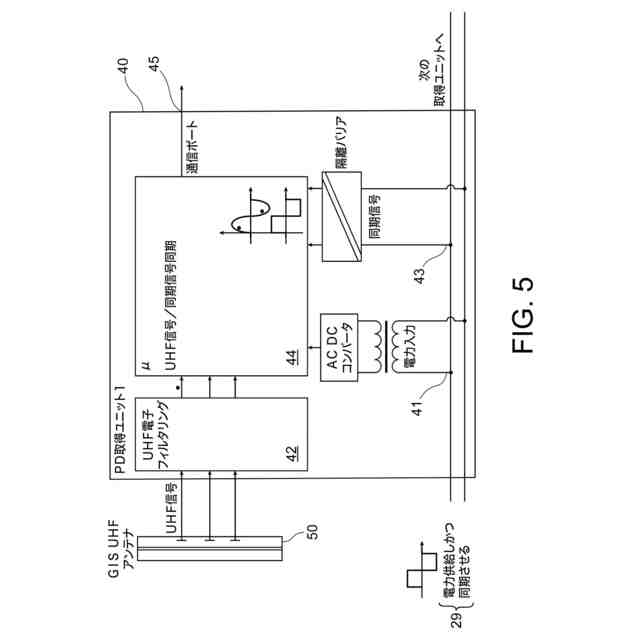
-請求項1乃至7のいずれか1項に記載の、同期信号を提供するためのデバイス(100)、
-各々1つが、前記ACインバータ(30)の出力に両方とも接続された電力入力(41)および同期入力(43)と、1つ以上の部分放電センサから1つ以上の信号を受信するための1つ以上の信号入力と、を備える、複数の部分放電取得ユニット(40、42)
を備える、GIS内の部分放電を識別するためのシステム。
【請求項9】
前記部分放電取得ユニット(40、42)のうちの1つ以上が、1つ以上の部分放電センサ(50~54、60~64)に接続されている、請求項8に記載のシステム(100)。
【請求項10】
前記部分放電センサ(50~54、60~64)のうちの前記1つ以上が、1つ以上の光センサおよび/または音響センサおよび/またはUHFセンサを含む、請求項9に記載のシステム(100)。
(【請求項11】以降は省略されています)
発明の詳細な説明
【技術分野】
【0001】
本発明は、ガス絶縁ステーション(GIS)などの高電圧機器内の部分放電の検出の同期に関する。
続きを表示(約 900 文字)
【背景技術】
【0002】
GISの損傷は、様々な起源、例えば、突起および/もしくは粒子の存在ならびに/またはGISの内面上もしくは内面内の任意の種類の不均一性から生じ得る部分放電によって引き起こされ得る。
【0003】
そのような部分放電は、様々なデバイスによって、例えば、光または音響または超高周波(UHF)デバイスによって検出され得る。
【0004】
すべてのこれらの検出では、欠陥の性質の識別を可能にするために高電圧(通常は50Hzまたは60Hz)との同期が必要である。しかしながら、そのような同期は常に利用可能であるとは限らない。
【0005】
UHFベースの方法に含まれる部分放電の検出の同期の改善に関する解決すべき技術的問題がある。特に、GIS内の任意の部分放電の識別を可能にする同期を提供する方法およびデバイスを見出すという問題がある。
【0006】
さらに、部分放電の検出のための同期システムは複雑であり、例えば、UHF部分放電検出器は電力信号および取得信号を必要とする。両方の信号を生成することは複雑であり、接続数を増加させる。
【0007】
したがって、UHFベースの方法による部分放電の検出の同期のための単純化されたシステムおよび方法を見出すことに関連する、解決すべき別の技術的問題がある。
【0008】
別の問題は、任意の同期が基づく一次電圧源が複数の場所で測定され得るということである。これに使用されるセンサは、特性が異なる場合があり、かつ長い信号リンクと互換性がない場合がある。
【0009】
したがって、複数の場所での検出に基づく同期を可能にする単純化されたシステムおよび方法を見出すことに関する、解決すべき別の技術的問題がある。
【0010】
本発明では、これらの複数の電圧源を管理し、それらを部分放電監視システムに安全に分配するための新しいデバイスが提案される。
【発明の概要】
(【0011】以降は省略されています)
この特許をJ-PlatPat(特許庁公式サイト)で参照する
関連特許
個人
メジャー文具
24日前
個人
採尿及び採便具
1日前
個人
高精度同時多点測定装置
16日前
個人
アクセサリー型テスター
17日前
ユニパルス株式会社
ロードセル
23日前
株式会社ミツトヨ
測定器
7日前
アズビル株式会社
電磁流量計
10日前
株式会社チノー
放射光測温装置
23日前
トヨタ自動車株式会社
監視装置
22日前
ダイキン工業株式会社
監視装置
21日前
株式会社ヨコオ
ソケット
22日前
株式会社ヨコオ
ソケット
23日前
エイブリック株式会社
磁気センサ回路
29日前
個人
システム、装置及び実験方法
10日前
大和製衡株式会社
組合せ計量装置
4日前
TDK株式会社
磁気センサ
22日前
愛知時計電機株式会社
ガスメータ
7日前
長崎県
形状計測方法
17日前
TDK株式会社
ガスセンサ
23日前
TDK株式会社
ガスセンサ
28日前
株式会社東芝
重量測定装置
28日前
愛知電機株式会社
軸部材の外観検査装置
4日前
ローム株式会社
半導体装置
15日前
ローム株式会社
半導体装置
15日前
大和製衡株式会社
組合せ計量装置
4日前
中国電力株式会社
電柱管理システム
21日前
日本特殊陶業株式会社
センサ
21日前
日本特殊陶業株式会社
センサ
21日前
日本特殊陶業株式会社
センサ
21日前
三恵技研工業株式会社
融雪レドーム
22日前
日本特殊陶業株式会社
センサ
21日前
日本特殊陶業株式会社
センサ
7日前
TDK株式会社
電磁波センサ
23日前
多摩川精機株式会社
冗長エンコーダ
22日前
日本特殊陶業株式会社
センサ
21日前
ダイハツ工業株式会社
移動支援装置
22日前
続きを見る
他の特許を見る