TOP
|
特許
|
意匠
|
商標
特許ウォッチ
Twitter
他の特許を見る
10個以上の画像は省略されています。
公開番号
2025158928
公報種別
公開特許公報(A)
公開日
2025-10-17
出願番号
2025043002
出願日
2025-03-18
発明の名称
半導体装置
出願人
サムスン エレクトロニクス カンパニー リミテッド
代理人
弁理士法人ITOH
主分類
H10D
84/85 20250101AFI20251009BHJP()
要約
【課題】設計自由度及び集積度が向上した裏面電源供給ネットワークを含む半導体装置を提供する。
【解決手段】第1~第3単位セル領域及びタップセル領域を含む半導体装置であって、単位セル領域UCは、互いに反対側となる第1・第2面を含む基板、第1面上にて第1・第3単位セル領域に接続されるビット線BL、第1・第3単位セル領域に接続される相補ビット線/BL、第2面上にて第1・第2単位セル領域に接続されるワード線WLを含み、単位セル領域(UC)は、ラッチ回路を構成する第1インバータINV1及び第2インバータINV2と、第1インバータの出力ノードとビット線を接続する第1パストランジスタPS1と、第2インバータの出力ノードと相補ビット線を接続する第2パストランジスタPS2と、を含み、タップセル領域は、第1パストランジスタ及び第2パストランジスタのゲート並びにワード線を電気的に接続する。
【選択図】図2
特許請求の範囲
【請求項1】
互いに反対側となる第1面および第2面を含む基板と、
前記第1面上の、第1方向に並んで延びる第1および第2活性パターンと、
前記第1および第2活性パターン上の、前記第1方向に沿って順に配列され、前記第1方向と交差する第2方向に並んで延びる第1ないし第4ゲート構造体と、
前記第1ゲート構造体と前記第2ゲート構造体の間の、前記第1活性パターンと前記第2活性パターンを接続する第1ソース/ドレインコンタクトと、
前記第3ゲート構造体と前記第4ゲート構造体の間の、前記第1活性パターンと前記第2活性パターンを接続する第2ソース/ドレインコンタクトと、
第3ソース/ドレインコンタクトであって、前記第1ソース/ドレインコンタクトとの間には前記第1ゲート構造体が介在され、前記第3ソース/ドレインコンタクトは、前記第1活性パターンと接続される、第3ソース/ドレインコンタクトと、
第4ソース/ドレインコンタクトであって、前記第2ソース/ドレインコンタクトとの間には前記第4ゲート構造体が介在され、前記第4ソース/ドレインコンタクトは、前記第1活性パターンと接続される、第4ソース/ドレインコンタクトと、
前記第1面上の、前記第1方向に延び、前記第3ソース/ドレインコンタクトと接続される第1前面配線パターンと、
前記第1面上の、前記第1方向に延び、前記第2ゲート構造体と前記第2ソース/ドレインコンタクトを接続する第2前面配線パターンと、
前記第1面上の、前記第1方向に延び、前記第3ゲート構造体と前記第1ソース/ドレインコンタクトを接続する第3前面配線パターンと、
前記第1面上の、前記第1方向に延び、前記第4ソース/ドレインコンタクトと接続される第4前面配線パターンと、
前記第2面上の、前記第1方向に延び、前記第2ゲート構造体と前記第3ゲート構造体の間の前記第1活性パターンと接続される第1裏面配線パターンと、
前記第2面上の、前記第1方向に延び、前記第2ゲート構造体と前記第3ゲート構造体の間の前記第2活性パターンと接続される第2裏面配線パターンと、
前記第2面上の、前記第2方向に延び、前記第1ゲート構造体および前記第4ゲート構造体に共通に接続される第3裏面配線パターンと、
を含む、半導体装置。
続きを表示(約 1,000 文字)
【請求項2】
前記第1面上の、前記第1方向に延び、前記第1ゲート構造体と前記第4ゲート構造体を接続する第5前面配線パターンと、
前記第1ゲート構造体と前記第4ゲート構造体の間の、前記基板を貫通して前記第3裏面配線パターンと前記第5前面配線パターンを接続する貫通コンタクトをさらに含む、請求項1に記載の半導体装置。
【請求項3】
前記貫通コンタクトは、前記第1方向で前記第2ゲート構造体および前記第3ゲート構造体と重ならない、請求項2に記載の半導体装置。
【請求項4】
前記基板は、前記第2方向に沿って配列される第1領域および第2領域を含み、
前記第1および第2活性パターンは、前記第1領域上に配置され、
前記第5前面配線パターンは、前記第2領域上に配置され、
前記第1ゲート構造体および前記第4ゲート構造体は、前記第1領域および前記第2領域にわたって前記第2方向に延びる、請求項2に記載の半導体装置。
【請求項5】
前記基板を貫通して、前記第2ゲート構造体と前記第3ゲート構造体の間の前記第1活性パターンと前記第1裏面配線パターンを接続する第1裏面ソース/ドレインコンタクトと、
前記基板を貫通して、前記第2ゲート構造体と前記第3ゲート構造体の間の前記第2活性パターンと前記第2裏面配線パターンを接続する第2裏面ソース/ドレインコンタクトをさらに含む、請求項1に記載の半導体装置。
【請求項6】
前記第1ないし第4前面配線パターンは、互いに同じレベルに配置される、請求項1に記載の半導体装置。
【請求項7】
前記第1ないし第4前面配線パターンは、前記第2方向に沿って順に配列される、請求項6に記載の半導体装置。
【請求項8】
前記第1および第2裏面配線パターンは、互いに同じレベルに配置される、請求項1に記載の半導体装置。
【請求項9】
前記第3裏面配線パターンは、前記第1および第2裏面配線パターンよりも前記第2面から離隔される、請求項8に記載の半導体装置。
【請求項10】
前記第1裏面配線パターンに第1電源電圧が印加され、
前記第2裏面配線パターンに前記第1電源電圧と異なる第2電源電圧が印加される、請求項1に記載の半導体装置。
(【請求項11】以降は省略されています)
発明の詳細な説明
【技術分野】
【0001】
本発明は半導体装置に関する。より具体的には、本発明は、裏面電源供給ネットワーク(Backside Power Delivery Network;BSPDN)を含む半導体装置に関する。
続きを表示(約 3,100 文字)
【背景技術】
【0002】
半導体装置は、小型化、多機能化および/または低い製造単価などの特性により、電子産業において重要な要素として脚光を浴びている。半導体装置は、ロジックデータを保存する半導体記憶装置、ロジックデータを演算処理する半導体ロジック装置、および記憶素子とロジック素子とを含むハイブリッド(hybrid)半導体装置などに区分することができる。
【0003】
電子産業が高度に発展するにつれ、半導体装置の特性に対する要求がますます増加している。例えば、半導体装置に対する高信頼性、高速化および/または多機能化などへの要求がますます高まっている。このような要求される特性を満たすために、半導体装置内の構造が複雑化され、高集積化されつつある。
【発明の概要】
【発明が解決しようとする課題】
【0004】
本発明が解決しようとする技術的課題は、設計自由度および集積度が向上した半導体装置を提供することにある。
【0005】
本発明の技術的課題は以上に述べた技術的課題に制限されず、言及されていない、および他の技術的課題は、以下の記載から当業者に明確に理解される。
【課題を解決するための手段】
【0006】
前記技術的課題を達成するためのいくつかの実施形態による半導体装置は、互いに反対側となる第1面および第2面を含む基板、第1面上に、第1方向に並んで延びる第1および第2活性パターン、第1および第2活性パターン上の、第1方向に沿って順に配列され、第1方向と交差する第2方向に並んで延びる第1ないし第4ゲート構造体、第1ゲート構造体と第2ゲート構造体の間の、第1活性パターンと第2活性パターンを接続する第1ソース/ドレインコンタクト、第3ゲート構造体と第4ゲート構造体の間の、第1活性パターンと第2活性パターンを接続する第2ソース/ドレインコンタクト、第3ソース/ドレインコンタクトであって、第1ソース/ドレインコンタクトとの間には第1ゲート構造体が介在し、前記第3ソース/ドレインコンタクトは、第1活性パターンと接続される、第3ソース/ドレインコンタクト、第4ソース/ドレインコンタクトであって、第2ソース/ドレインコンタクトとの間には第4ゲート構造体が介在し、前記第4ソース/ドレインコンタクトは、第1活性パターンと接続される、第4ソース/ドレインコンタクト、第1面上の、第1方向に延び、第3ソース/ドレインコンタクトと接続される第1前面配線パターン、第1面上の、第1方向に延び、第2ゲート構造体と第2ソース/ドレインコンタクトを接続する第2前面配線パターン、第1面上の、第1方向に延び、第3ゲート構造体と第1ソース/ドレインコンタクトを接続する第3前面配線パターン、第1面上の、第1方向に延び、第4ソース/ドレインコンタクトと接続される第4前面配線パターン、第2面上の、第1方向に延び、第2ゲート構造体と第3ゲート構造体の間の第1活性パターンと接続される第1裏面配線パターン、第2面上の、第1方向に延び、第2ゲート構造体と第3ゲート構造体の間の第2活性パターンと接続される第2裏面配線パターン、ならびに第2面上の、第2方向に延び、第1ゲート構造体および第4ゲート構造体に共通に接続される第3裏面配線パターンを含む。
【0007】
前記技術的課題を達成するためのいくつかの実施形態による半導体装置は、第1方向に沿って配列される第1領域および第2領域を含む半導体装置であって、互いに反対側となる第1面および第2面を含む基板、第1領域の第1面上の、第1方向と交差する第2方向に並んで延びる第1および第2活性パターン、第1および第2活性パターン上の、第2方向に沿って順に配列され、第1方向に並んで延びる第1ないし第4ゲート構造体、第1領域の第1面上の、第2方向に延び、第1ゲート構造体の一側上の第1活性パターンと接続される第1前面配線パターン、第1領域の第1面上の、第2方向に延び、第4ゲート構造体の一側上の第1活性パターンと接続される第2前面配線パターン、第2領域の第1面上の、第2方向に延び、第1ゲート構造体と第4ゲート構造体を接続する第3前面配線パターン、第1領域の第2面上の、第2方向に延び、第2ゲート構造体と第3ゲート構造体の間の第1活性パターンと接続される第1裏面配線パターン、第1領域の第2面上の、第2方向に延び、第2ゲート構造体と第3ゲート構造体の間の第2活性パターンと接続される第2裏面配線パターン、第1領域および第2領域の第2面上の、第1方向に延びる第3裏面配線パターン、ならびに第2領域の基板を貫通して、第3前面配線パターンと第3裏面配線パターンを接続する貫通コンタクトを含む。
【0008】
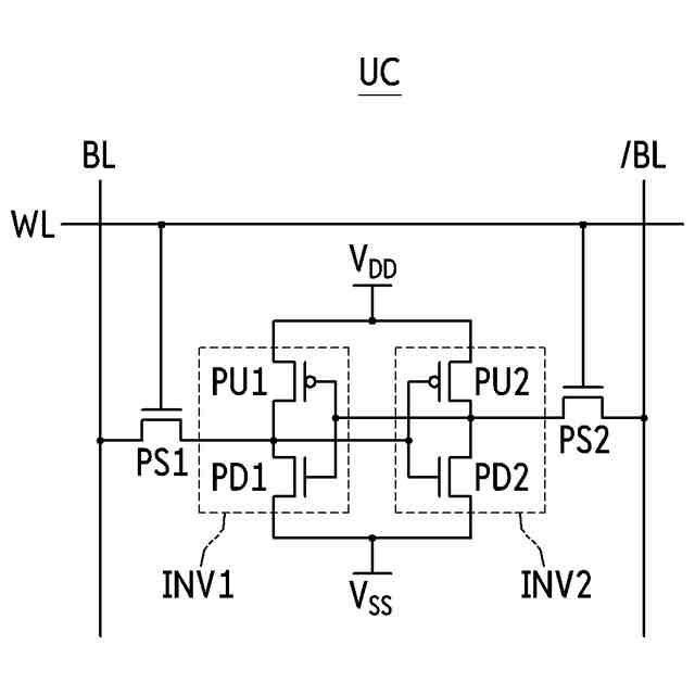
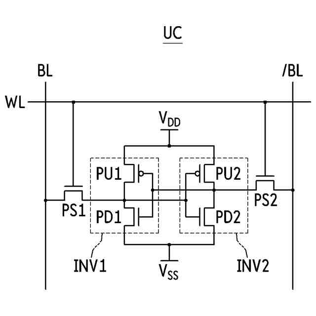
前記技術的課題を達成するためのいくつかの実施形態による半導体装置は、第1単位セル領域と、第1方向で第1単位セル領域に隣接する第2単位セル領域と、第1方向と交差する第2方向で第1単位セル領域に隣接する第3単位セル領域と、第1単位セル領域と第1方向に沿って配列されるタップセル領域と、を含む半導体装置であって、互いに反対側となる第1面および第2面を含む基板、第1面上の、第2方向に延び、第1および第3単位セル領域に共通に接続されるビット線、第1面上の、第2方向に延び、第1および第3単位セル領域に共通に接続される相補ビット線、ならびに第2面上の、第1方向に延び、第1および第2単位セル領域に共通に接続されるワード線を含み、それぞれの第1ないし第3単位セル領域は、一つのラッチ回路を構成する第1および第2インバータと、第1インバータの出力ノードとビット線を接続する第1パストランジスタと、第2インバータの出力ノードと相補ビット線を接続する第2パストランジスタと、を含み、タップセル領域は、第1パストランジスタのゲート、第2パストランジスタのゲートおよびワード線を電気的に接続する。
【0009】
その他実施形態の具体的な内容は詳細な説明および図面に含まれている。
【図面の簡単な説明】
【0010】
いくつかの実施形態による半導体装置を説明するための例示的なブロック図である。
いくつかの実施形態による半導体装置の単位セル領域を説明するための回路図である。
いくつかの実施形態による半導体装置の単位セル領域を説明するための例示的なレイアウト図である。
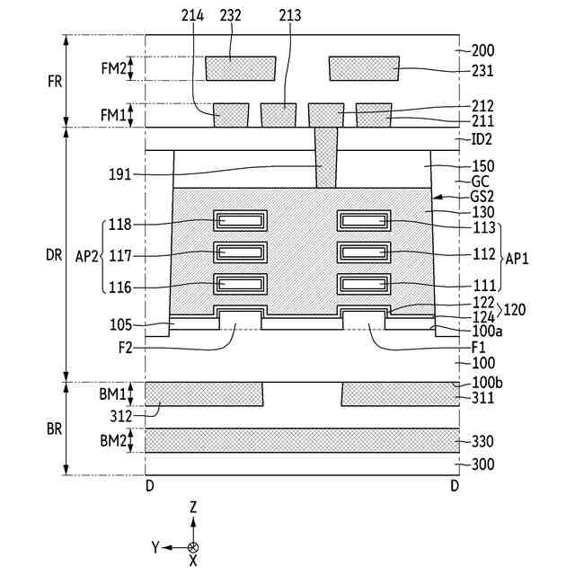
図3のA-Aに沿って切断した概略的な断面図である。
図3のB-Bに沿って切断した概略的な断面図である。
図3のC-Cに沿って切断した概略的な断面図である。
図3のD-Dに沿って切断した概略的な断面図である。
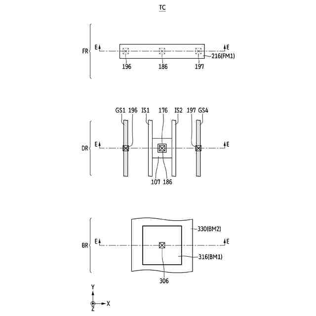
いくつかの実施形態による半導体装置のタップセル領域を説明するための例示的なレイアウト図である。
図8のE-Eに沿って切断した概略的な断面図である。
いくつかの実施形態による半導体装置の単位セル領域を説明するための例示的なレイアウト図である。
いくつかの実施形態による半導体装置を説明するための例示的なブロック図である。
いくつかの実施形態による半導体装置を説明するための回路図である。
図12の半導体装置を説明するための例示的なレイアウトである。
図12の半導体装置を説明するための例示的なレイアウトである。
【発明を実施するための形態】
(【0011】以降は省略されています)
この特許をJ-PlatPat(特許庁公式サイト)で参照する
関連特許
個人
半導体装置
24日前
東レ株式会社
太陽電池モジュール
24日前
旭化成株式会社
発光素子
4日前
エイブリック株式会社
縦型ホール素子
18日前
エイブリック株式会社
縦型ホール素子
18日前
ローム株式会社
抵抗チップ
9日前
富士通株式会社
半導体装置
23日前
ローム株式会社
半導体装置
25日前
三菱電機株式会社
半導体装置
3日前
富士電機株式会社
半導体装置
15日前
株式会社半導体エネルギー研究所
表示装置
18日前
三菱電機株式会社
半導体装置
23日前
TDK株式会社
圧電素子
23日前
日亜化学工業株式会社
発光素子
23日前
日亜化学工業株式会社
発光装置
4日前
日亜化学工業株式会社
発光装置
22日前
ローム株式会社
半導体集積回路
3日前
デクセリアルズ株式会社
受光装置
29日前
ローム株式会社
半導体装置
8日前
ローム株式会社
窒化物半導体装置
18日前
ローム株式会社
半導体装置
10日前
サンケン電気株式会社
半導体装置
29日前
富士電機株式会社
半導体装置の製造方法
17日前
株式会社半導体エネルギー研究所
発光デバイス
2日前
ローム株式会社
窒化物半導体装置
9日前
株式会社カネカ
太陽電池モジュール
22日前
大日本印刷株式会社
太陽電池
11日前
内山工業株式会社
太陽電池
29日前
沖電気工業株式会社
発光装置及び表示装置
24日前
キオクシア株式会社
記憶装置
29日前
株式会社MARUWA
発光装置及び照明器具
22日前
日本電気株式会社
超伝導量子回路装置
23日前
サンケン電気株式会社
発光装置
22日前
ローム株式会社
RAM
22日前
今泉工業株式会社
光発電装置及びその製造方法
8日前
一般財団法人電力中央研究所
熱化学電池
24日前
続きを見る
他の特許を見る