TOP
|
特許
|
意匠
|
商標
特許ウォッチ
Twitter
他の特許を見る
10個以上の画像は省略されています。
公開番号
2025158852
公報種別
公開特許公報(A)
公開日
2025-10-17
出願番号
2024061780
出願日
2024-04-05
発明の名称
輸送用冷凍機械
出願人
三菱重工サーマルシステムズ株式会社
代理人
個人
,
個人
,
個人
,
個人
,
個人
主分類
F25B
49/02 20060101AFI20251009BHJP(冷凍または冷却;加熱と冷凍との組み合わせシステム;ヒートポンプシステム;氷の製造または貯蔵;気体の液化または固体化)
要約
【課題】バッテリーユニットとの干渉を避けつつ、高い自由度でレイアウトすることが可能な輸送用冷凍機械を提供する。
【解決手段】輸送用冷凍機械は、シャーシ、及びコンテナを有する車両に設けられた輸送用冷凍機械であって、高電圧回路を含む高電圧回路ユニットと、低電圧回路を含む低電圧回路ユニットと、圧縮機を含む圧縮機ユニットと、凝縮器を含む凝縮器ユニットと、を備え、高電圧回路ユニット、低電圧回路ユニット、圧縮機ユニット、及び凝縮器ユニットは、シャーシの下方、及びコンテナにおける前方を向く前壁の少なくとも一方に分散して配置されている。
【選択図】図1
特許請求の範囲
【請求項1】
シャーシ、及び該シャーシに搭載可能なコンテナを有する車両に設けられた輸送用冷凍機械であって、
バッテリーユニットからの電力を変換して圧縮機に供給するインバータ、及び補器を駆動するための直流電流を生成する直流コンバータを有する高電圧回路を含む高電圧回路ユニットと、
前記バッテリーユニットからの電力に基づいて前記補器を駆動するための直流電流を生成又は制御する低電圧回路を含む低電圧回路ユニットと、
冷媒を圧縮する圧縮機を含む圧縮機ユニットと、
前記冷媒を凝縮する凝縮器を含む凝縮器ユニットと、
を備え、
前記高電圧回路ユニット、前記低電圧回路ユニット、前記圧縮機ユニット、及び前記凝縮器ユニットは、前記シャーシの下方、及び前記コンテナにおける前方を向く前壁の少なくとも一方に分散して配置されている輸送用冷凍機械。
続きを表示(約 1,000 文字)
【請求項2】
前記高電圧回路ユニット、前記低電圧回路ユニット、前記圧縮機ユニット、及び前記凝縮器ユニットは、それぞれ前記シャーシの下方、及び前記前壁の双方に分散して配置されている請求項1に記載の輸送用冷凍機械。
【請求項3】
前記高電圧回路ユニット、及び前記低電圧回路ユニットは前記前壁に配置され、前記圧縮機ユニット、及び前記凝縮器ユニットは前記シャーシの下方に配置されている請求項2に記載の輸送用冷凍機械。
【請求項4】
前記高電圧回路ユニット、前記低電圧回路ユニット、前記圧縮機ユニット、及び前記凝縮器ユニットは、それぞれ前記前壁上で分散して配置されている請求項1に記載の輸送用冷凍機械。
【請求項5】
前記高電圧回路ユニット、及び前記低電圧回路ユニットは前記前壁の下部に配置され、前記圧縮機ユニット、及び前記凝縮器ユニットは前記前壁の上部に配置されている請求項4に記載の輸送用冷凍機械。
【請求項6】
前記バッテリーユニットは、前記シャーシの下方に分散して複数配置され、
前記高電圧回路ユニット、前記低電圧回路ユニット、前記圧縮機ユニット、及び前記凝縮器ユニットのうちの少なくとも1つは、前記バッテリーユニット同士の間の空間に配置されている請求項1から3のいずれか一項に記載の輸送用冷凍機械。
【請求項7】
前記高電圧回路ユニット、前記低電圧回路ユニット、前記圧縮機ユニット、及び前記凝縮器ユニットは、前記シャーシの下方、及び前記前壁に対して固定可能な被固定部を有する請求項1から5のいずれか一項に記載の輸送用冷凍機械。
【請求項8】
前記高電圧回路ユニット、前記低電圧回路ユニット、前記圧縮機ユニット、及び前記凝縮器ユニットは、それぞれ天面、底面、一対の側面、正面、及び背面を有する直方体状をなし、前記被固定部は、前記天面、及び前記背面にそれぞれ設けられている請求項7に記載の輸送用冷凍機械。
【請求項9】
前記高電圧回路ユニットの前記背面には、前記正面側に向かって凹む凹部が形成され、該凹部にはヒートシンクが収容されている請求項8に記載の輸送用冷凍機械。
【請求項10】
前記凹部は、前記背面上で、前記一対の側面同士を結ぶ方向に貫通している請求項9に記載の輸送用冷凍機械。
(【請求項11】以降は省略されています)
発明の詳細な説明
【技術分野】
【0001】
本開示は、輸送用冷凍機械に関する。
続きを表示(約 1,800 文字)
【背景技術】
【0002】
例えば冷凍トラックのように、貨物を低温状態で輸送するための車両には輸送用冷凍機械が設けられている。輸送用冷凍機械は、主として圧縮機、凝縮器、膨張弁、及び蒸発器を有する冷凍サイクル装置を備えている。従来、これら冷凍サイクル装置を構成する各機器は、車両の床下、即ちシャーシの下方に配置されることが一般的であった(例えば下記特許文献1参照)。
【0003】
ここで、近年は、バッテリーユニット(蓄電池)によって走行用の電力を賄う電気自動車の実用化が進んでいる。この種のバッテリーユニットは走行距離を確保するために、寸法体格が大きくなる傾向にある。このため、バッテリーユニットは車両のシャーシの下方に収容・固定されることが一般的である。
【先行技術文献】
【特許文献】
【0004】
特表2004-526120号公報
【発明の概要】
【発明が解決しようとする課題】
【0005】
しかしながら、上記のようにバッテリーユニットが大型化すると、シャーシ下方に冷凍サイクル装置を収容するための十分なスペースを確保できなくなる可能性がある。
【0006】
本開示は上記課題を解決するためになされたものであって、バッテリーユニットとの干渉を避けつつ、高い自由度でレイアウトすることが可能な輸送用冷凍機械を提供することを目的とする。
【課題を解決するための手段】
【0007】
上記課題を解決するために、本開示に係る輸送用冷凍機械は、シャーシ、及び該シャーシに搭載可能なコンテナを有する車両に設けられた輸送用冷凍機械であって、バッテリーユニットからの電力を変換して圧縮機に供給するインバータ、及び補器を駆動するための直流電流を生成する直流コンバータを有する高電圧回路を含む高電圧回路ユニットと、前記バッテリーユニットからの電力に基づいて前記補器を駆動するための直流電流を生成又は制御する低電圧回路を含む低電圧回路ユニットと、冷媒を圧縮する圧縮機を含む圧縮機ユニットと、前記冷媒を凝縮する凝縮器を含む凝縮器ユニットと、を備え、前記高電圧回路ユニット、前記低電圧回路ユニット、前記圧縮機ユニット、及び前記凝縮器ユニットは、前記シャーシの下方、及び前記コンテナにおける前方を向く前壁の少なくとも一方に分散して配置されている。
【発明の効果】
【0008】
本開示によれば、バッテリーユニットとの干渉を避けつつ、高い自由度でレイアウトすることが可能な輸送用冷凍機械を提供することができる。
【図面の簡単な説明】
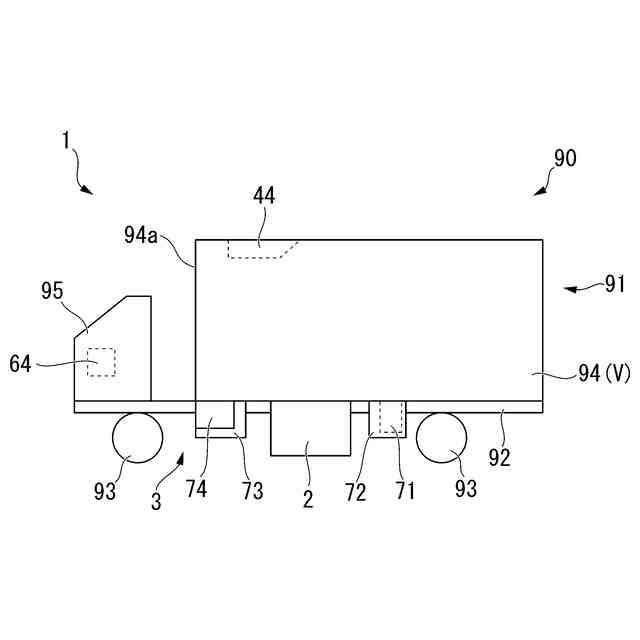
【0009】
本開示の第一実施形態に係る車両、及び輸送用冷凍機械の構成を示す模式図である。
本開示の第一実施形態に係る車両におけるシャーシ下方の構成を示す透過平面図である。
本開示の第一実施形態に係る圧縮機ユニットの構成を示す斜視図である。
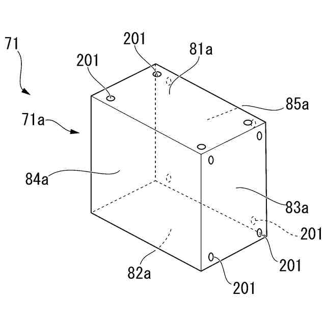
本開示の第一実施形態に係る高電圧回路ユニットの構成を示す斜視図である。
本開示の第一実施形態に係る高電圧回路ユニットの構成を示す背面図である。
本開示の第一実施形態に係る低電圧回路ユニットの構成を示す斜視図である。
本開示の第一実施形態に係る凝縮器ユニットの構成を示す斜視図である。
本開示の第一実施形態に係る凝縮器ユニットの構成を示す横断面図である。
本開示の第一実施形態に係る冷凍サイクル装置の構成を示す冷媒回路図である。
本開示の第一実施形態に係る輸送用冷凍機械の電気系統を示す電気回路図である。
本開示の第二実施形態に係る車両、及び輸送用冷凍機械の構成を示す模式図である。
本開示の第二実施形態に係る車両におけるシャーシ下方の構成を示す透過平面図である。
本開示の第三実施形態に係る車両、及び輸送用冷凍機械の構成を示す模式図である。
図13のA-A線における矢視図である。
【発明を実施するための形態】
【0010】
<第一実施形態>
以下、本開示の第一実施形態に係る輸送用冷凍機械1について、図1から図10を参照して説明する。
(【0011】以降は省略されています)
この特許をJ-PlatPat(特許庁公式サイト)で参照する
関連特許
株式会社不二工機
膨張弁
7日前
株式会社不二工機
膨張弁
7日前
タニコー株式会社
貯水槽
1か月前
アクア株式会社
冷蔵庫
1か月前
ホシザキ株式会社
製氷機
1か月前
個人
ヒートポンプ型空気調和機
1か月前
富士電機株式会社
冷却装置
2か月前
フクシマガリレイ株式会社
断熱扉
8日前
富士電機株式会社
冷却装置
2か月前
富士電機株式会社
冷却装置
1か月前
ホシザキ株式会社
冷凍装置
12日前
富士電機株式会社
自動販売機
6日前
ダイキン工業株式会社
冷凍装置
19日前
シャープ株式会社
冷蔵庫
2か月前
富士ベンダーサービス株式会社
保管庫
1か月前
フクシマガリレイ株式会社
冷却貯蔵庫
12日前
個人
液体窒素凝縮による冷凍サイクル
2か月前
富士電機株式会社
冷却システム
1か月前
フクシマガリレイ株式会社
冷却貯蔵庫
1日前
シャープ株式会社
冷却装置
2か月前
三菱重工冷熱株式会社
低温冷水供給装置
1か月前
フクシマガリレイ株式会社
ショーケース
21日前
アクア株式会社
冷蔵庫
27日前
ダイキン工業株式会社
冷媒充填方法
19日前
シャープ株式会社
冷蔵庫
1か月前
ホシザキ株式会社
液体凍結装置
1か月前
シャープ株式会社
冷蔵庫
1か月前
FrostiX株式会社
急速冷凍装置
2か月前
フクシマガリレイ株式会社
商品販売システム
14日前
島田工業株式会社
製氷装置及び製氷方法
27日前
株式会社アイシン
冷暖房システム
26日前
株式会社オカムラ
故障予知システム
1か月前
タキゲン製造株式会社
冷蔵庫の庫内気圧調整装置
1か月前
株式会社前川製作所
冷却装置
19日前
東芝ライフスタイル株式会社
冷蔵庫
2か月前
株式会社富士通ゼネラル
冷凍サイクル装置
20日前
続きを見る
他の特許を見る