TOP
|
特許
|
意匠
|
商標
特許ウォッチ
Twitter
他の特許を見る
公開番号
2025158212
公報種別
公開特許公報(A)
公開日
2025-10-17
出願番号
2024060532
出願日
2024-04-04
発明の名称
出力システム
出願人
いすゞ自動車株式会社
代理人
弁理士法人創光国際特許事務所
主分類
G01M
17/007 20060101AFI20251009BHJP(測定;試験)
要約
【課題】異常が生じた箇所を特定しやすくする。
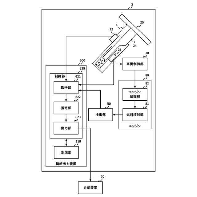
【解決手段】出力システムSは、第1センサ21が検出したアクセルペダル20の第1踏込量に応じて車両の速度を制御する指示値をBMS40に出力する車両制御部30を介して取得された第1踏込量と、第1センサ21と異なる方法でアクセルペダル20の第2踏込量を検出する第2センサ22から直接取得された第2踏込量が異なる場合に第1報知情報を外部装置70に出力し、指示値に対してBMS40が実際に出力した出力値と指示値に対応する推定値が異なる場合に第2報知情報を外部装置70に出力する。
【選択図】図1
特許請求の範囲
【請求項1】
車両の速度を制御するための操作部の操作量を検出する第1センサと、
前記第1センサと異なる方法で前記操作量を検出する第2センサと、
前記第1センサが検出した前記操作量である第1操作量に応じて、前記車両の速度を制御する指示値を、前記速度を制御する制御装置に出力する車両制御部と、
前記車両制御部を介して取得された前記第1操作量と、前記第2センサから取得された前記操作量である第2操作量との第1差が第1閾値以上の場合に第1報知情報を外部装置に出力する出力部と、
を有する出力システム。
続きを表示(約 1,400 文字)
【請求項2】
前記操作部は、運転者の足の操作により前記速度を制御するためのペダルであり、
前記第1センサは、前記ペダルに連動して動作する可変抵抗に流れる電流の電圧に応じた前記ペダルの踏込量を前記第1操作量として検出し、
前記第2センサは、前記ペダルと前記第2センサとの距離を検出する光学式センサであり、検出した前記距離に応じた前記踏込量を前記第2操作量として検出する、
請求項1に記載の出力システム。
【請求項3】
前記指示値に対して前記制御装置が実際に出力した出力値を検出する検出部と、
前記指示値に対する前記制御装置の出力値の推定値を、前記指示値に基づいて推定する推定部と、
をさらに備え、
前記出力部は、前記出力値と前記推定値との第2差が第2閾値以上の場合に前記第1報知情報と異なる第2報知情報を前記外部装置に出力する、
請求項1又は2に記載の出力システム。
【請求項4】
前記第1報知情報は、前記車両制御部を介して取得された前記第1操作量と前記第2センサから取得された前記第2操作量とが異なること示す情報であり、
前記第2報知情報は、前記出力値と前記推定値とが異なることを示す情報である、
請求項3に記載の出力システム。
【請求項5】
前記検出部は、前記制御装置が前記車両のモータに前記指示値に対して実際に出力した電流の電流値を前記出力値として検出する、
請求項4に記載の出力システム。
【請求項6】
前記検出部は、前記制御装置が前記車両のエンジンに前記指示値に対して実際に供給した燃料の供給量を前記出力値として検出する、
請求項4に記載の出力システム。
【請求項7】
前記出力部は、前記車両の速度が前記操作量に応じた速度でなく、かつ前記第1センサから直接取得された前記第1操作量と前記第2操作量との第3差が前記第1閾値以上の場合、前記第1センサが異常であることを示す第3報知情報を前記外部装置に出力する、
請求項1に記載の出力システム。
【請求項8】
前記出力部は、前記第3差が前記第1閾値未満であり、かつ前記第1差が前記第1閾値以上の場合、前記車両制御部が異常であることを示す情報を含む前記第1報知情報を前記外部装置に出力する、
請求項7に記載の出力システム。
【請求項9】
前記指示値に対して前記制御装置が実際に出力した出力値を検出する検出部と、
前記指示値に対する前記制御装置の出力値の推定値を、前記指示値に基づいて推定する推定部と、
前記出力部は、
前記出力値と前記推定値との第2差が第2閾値以上の場合に前記第1報知情報と異なる第2報知情報を前記外部装置に出力し、
前記第1差及び前記第3差が前記第1閾値未満であり、かつ前記第2差が前記第2閾値以上の場合、前記制御装置が異常であることを示す情報を前記外部装置に出力する、
請求項8記載の出力システム。
【請求項10】
前記出力部は、前記第1差及び前記第3差が前記第1閾値未満であり、前記第2差が前記第2閾値未満である場合、前記車両を駆動させる動力を発生させる動力部が異常であることを示す情報を前記外部装置に出力する、
請求項9記載の出力システム。
(【請求項11】以降は省略されています)
発明の詳細な説明
【技術分野】
【0001】
本発明は、車両に関する情報を出力する出力システムに関する。
続きを表示(約 1,300 文字)
【背景技術】
【0002】
車両の操作部の操作量に応じて車両を制御する技術が知られている。例えば、特許文献1には、車両のアクセルペダルに設けられたセンサが検出したアクセルペダルの踏込量に基づいて、車両を駆動するモータに電圧を印加する電源の出力やモータの回転数を制御する技術が開示されている。
【先行技術文献】
【特許文献】
【0003】
特開2020-182287号公報
【発明の概要】
【発明が解決しようとする課題】
【0004】
ところで、アクセルペダルの踏込量に基づいて車両が適切に制御されない異常が生じた場合に、センサ、モータ、及びセンサの検出値に基づいて電源の出力やモータの回転数を制御する装置のいずれに異常があるのかわからないことがあった。
【0005】
そこで、本発明はこれらの点に鑑みてなされたものであり、異常が生じた箇所を特定しやすくすることを目的とする。
【課題を解決するための手段】
【0006】
本発明の態様においては、車両の速度を制御するための操作部の操作量を検出する第1センサと、前記第1センサと異なる方法で前記操作量を検出する第2センサと、前記第1センサが検出した前記操作量である第1操作量に応じて、前記車両の速度を制御する指示値を、前記速度を制御する制御装置に出力する車両制御部と、前記車両制御部を介して取得された前記第1操作量と、前記第2センサから取得された前記操作量である第2操作量との第1差が第1閾値以上の場合に第1報知情報を外部装置に出力する出力部と、を有する出力システムを提供する。
【0007】
前記操作部は、運転者の足の操作により前記速度を制御するためのペダルであり、前記第1センサは、前記ペダルに連動して動作する可変抵抗に流れる電流の電圧に応じた前記ペダルの踏込量を前記第1操作量として検出し、前記第2センサは、前記ペダルと前記第2センサとの距離を検出する光学式センサであり、検出した前記距離に応じた前記踏込量を前記第2操作量として検出してもよい。
【0008】
前記指示値に対して前記制御装置が実際に出力した出力値を検出する検出部と、前記指示値に対する前記制御装置の出力値の推定値を、前記指示値に基づいて推定する推定部と、をさらに備え、前記出力部は、前記出力値と前記推定値との第2差が第2閾値以上の場合に前記第1報知情報と異なる第2報知情報を前記外部装置に出力してもよい。
【0009】
前記第1報知情報は、前記車両制御部を介して取得された前記第1操作量と前記第2センサから取得された前記第2操作量とが異なること示す情報であり、前記第2報知情報は、前記出力値と前記推定値とが異なることを示す情報であってもよい。
【0010】
前記検出部は、前記制御装置が前記車両のモータに前記指示値に対して実際に出力した電流の電流値を前記出力値として検出してもよい。
(【0011】以降は省略されています)
この特許をJ-PlatPat(特許庁公式サイト)で参照する
関連特許
個人
メジャー文具
25日前
個人
採尿及び採便具
2日前
個人
高精度同時多点測定装置
17日前
個人
アクセサリー型テスター
18日前
ユニパルス株式会社
ロードセル
24日前
株式会社ミツトヨ
測定器
8日前
アズビル株式会社
電磁流量計
11日前
株式会社ヨコオ
ソケット
23日前
株式会社ヨコオ
ソケット
24日前
トヨタ自動車株式会社
監視装置
23日前
ダイキン工業株式会社
監視装置
22日前
株式会社チノー
放射光測温装置
24日前
愛知電機株式会社
軸部材の外観検査装置
5日前
長崎県
形状計測方法
18日前
大和製衡株式会社
組合せ計量装置
5日前
大和製衡株式会社
組合せ計量装置
5日前
ローム株式会社
半導体装置
16日前
愛知時計電機株式会社
ガスメータ
8日前
TDK株式会社
磁気センサ
23日前
個人
システム、装置及び実験方法
11日前
ローム株式会社
半導体装置
16日前
TDK株式会社
ガスセンサ
24日前
日本特殊陶業株式会社
センサ
8日前
トヨタ自動車株式会社
測定システム
15日前
ダイハツ工業株式会社
移動支援装置
23日前
三恵技研工業株式会社
融雪レドーム
23日前
株式会社デンソー
電流センサ
16日前
多摩川精機株式会社
冗長エンコーダ
23日前
三菱マテリアル株式会社
温度センサ
25日前
日本特殊陶業株式会社
センサ
22日前
TDK株式会社
電磁波センサ
24日前
日本特殊陶業株式会社
センサ
22日前
日本特殊陶業株式会社
センサ
22日前
中国電力株式会社
電柱管理システム
22日前
日本特殊陶業株式会社
センサ
22日前
日本特殊陶業株式会社
センサ
22日前
続きを見る
他の特許を見る