TOP
|
特許
|
意匠
|
商標
特許ウォッチ
Twitter
他の特許を見る
公開番号
2025158199
公報種別
公開特許公報(A)
公開日
2025-10-17
出願番号
2024060508
出願日
2024-04-04
発明の名称
包装材、包装物及び包装方法
出願人
日本製紙株式会社
,
国永紙業株式会社
代理人
個人
主分類
B65D
5/04 20060101AFI20251009BHJP(運搬;包装;貯蔵;薄板状または線条材料の取扱い)
要約
【課題】 開封容易化、低コスト化及び省資源化を実現することができる包装材を提供する。
【解決手段】 包装紙により包装された紙の束を複数個重ねた被包装物を包囲する包装材であって、前記紙の束を重ねた方向を縦、前記被包装物の短辺を横、及び前記被包装物の長辺を奥行としたとき、包囲前の展開状態において、前記包装材は、前記被包装物の奥行の辺を含む四面を包囲する矩形状の包囲部、並びに前記包囲部の短手方向の一端にのりしろ部を有し、包囲後の包装状態において、前記のりしろ部は前記包囲部の前記短手方向の他端部に糊付され、前記包囲部の長手方向の両端は前記被包装物の横の辺及び縦の辺に位置する。
【選択図】図1
特許請求の範囲
【請求項1】
包装紙により包装された紙の束を複数個重ねた被包装物を包囲する包装材であって、
前記紙の束を重ねた方向を縦、前記被包装物の短辺を横、及び前記被包装物の長辺を奥行としたとき、
包囲前の展開状態において、前記包装材は、前記被包装物の奥行の辺を含む四面を包囲する矩形状の包囲部、及び前記包囲部の短手方向の一端にのりしろ部を有し、
包囲後の包装状態において、前記のりしろ部は前記包囲部の前記短手方向の他端部に糊付され、前記包囲部の長手方向の両端は前記被包装物の横の辺及び縦の辺に位置することを特徴とする包装材。
続きを表示(約 1,200 文字)
【請求項2】
前記包囲部の前記短手方向の長さは、前記被包装物の奥行の長さの-100mm以上+20mm未満であることを特徴とする請求項1記載の包装材。
【請求項3】
前記被包装物は、2個以上10個以下の前記紙の束を重ねたものであることを特徴とする請求項1または請求項2記載の包装材。
【請求項4】
前記被包装物は、複数個の前記紙の束を重ねたものを2列並べたものである請求項1または請求項2記載の包装材。
【請求項5】
包装紙により包装された紙の束を複数個重ねた被包装物を包装材により包囲して包装した包装物であって、
前記紙の束を重ねた方向を縦、前記被包装物の短辺を横、及び前記被包装物の長辺を奥行としたとき、
前記被包装物の奥行の辺を含む四面を包囲する矩形状の包囲部、並びに前記包囲部の短手方向の一端にのりしろ部を有する前記包装材を用いて、前記包囲部の長手方向の両端が前記被包装物の横の辺及び縦の辺に位置するように前記被包装材を包囲し、前記のりしろ部を前記包囲部の前記短手方向の他端部に糊付することによって前記被包装物を包装した包装物。
【請求項6】
前記包囲部の前記短手方向の長さは、前記被包装物の奥行の長さの-100mm以上+20mm未満であることを特徴とする請求項5記載の包装物。
【請求項7】
前記包囲部の前記短手方向の前記他端部は、複数の前記包装物を積み重ねた際、前記被包装物の奥行の二底辺のいずれかに位置することを特徴とする請求項5または請求項6記載の包装物。
【請求項8】
前記被包装物は、2個以上10個以下の前記紙の束を重ねたものであることを特徴とする請求項5または請求項6記載の包装物。
【請求項9】
前記被包装物は、複数個の前記紙の束を重ねたものを2列並べたものである請求項5または請求項6記載の包装物。
【請求項10】
包装機を用いて、包装紙により包装された紙の束を複数個重ねた被包装物を包囲することにより包装する包装方法であって、
前記紙の束を重ねた方向を縦、前記被包装物の短辺を横、及び前記被包装物の長辺を奥行としたとき、
前記包装機の包装材搬送部が、前記被包装物の奥行の辺を含む四面を包囲する矩形状の包囲部、並びに前記包囲部の短手方向の一端にのりしろ部を有する包装材を前記包装機の包装部に搬送する搬送工程と、
前記包装機の被包装物搬送部が、前記被包装物の横の二底辺それぞれが前記包囲部の前記長手方向の両端それぞれに位置するように、前記被包装物を前記包装材の上に載置する載置工程と、
前記包装機の前記包装部が、前記包装材を折り曲げて前記被包装物を前記包装材により包囲する包囲工程と、
前記包装機の前記包装部が、前記のりしろ部を前記包囲部の前記短手方向の他端部に糊付する糊付工程と、
を含むことを特徴とする包装方法。
(【請求項11】以降は省略されています)
発明の詳細な説明
【技術分野】
【0001】
本発明は、包装紙により包装された紙の束を複数個重ねた被包装物を包囲するための包装材、該包装材により包装された包装物、及び該包装材により被包装物を包装する包装方法に関する。
続きを表示(約 3,000 文字)
【背景技術】
【0002】
業務用のコピー用紙や上質紙、フォーム用紙等は、包装紙で包装された数百枚の束を更に複数個重ねた状態で段ボールケースに梱包され、輸送される。段ボールケースは、包装紙や包装紙で包装されたコピー用紙等の輸送中における破損及び損傷を防ぐ目的で使用されている(例えば、特許文献1参照)。
【先行技術文献】
【特許文献】
【0003】
特開2009-083931号公報
【発明の概要】
【発明が解決しようとする課題】
【0004】
しかしながら、上述の段ボールケース(包装材)は複数個のコピー用紙等の束を重ねた被包装物の全面を覆うものであることから、包装材の開封に手間及び時間がかかり、輸送時のみに使用されるものでありながら包装材のコストもかかり、ゴミも増える。よって、簡易に開封でき、低コスト且つ省資源な包装材を望む声があった。
【0005】
本発明の目的は、開封容易化、低コスト化及び省資源化を実現することができる包装材、該包装材により包装された包装物、及び該包装材により被包装物を包装する包装方法を提供することである。
【課題を解決するための手段】
【0006】
本発明者らは、上記の課題を解決するべく本発明を完成させた。本発明は、以下を提供する。
【0007】
(1) 包装紙により包装された紙の束を複数個重ねた被包装物を包囲する包装材であって、前記紙の束を重ねた方向を縦、前記被包装物の短辺を横、及び前記被包装物の長辺を奥行としたとき、包囲前の展開状態において、前記包装材は、前記被包装物の奥行の辺を含む四面を包囲する矩形状の包囲部、及び前記包囲部の短手方向の一端にのりしろ部を有し、包囲後の包装状態において、前記のりしろ部は前記包囲部の前記短手方向の他端部に糊付され、前記包囲部の長手方向の両端は前記被包装物の横の辺及び縦の辺に位置することを特徴とする包装材。
(2) 前記包囲部の前記短手方向の長さは、前記被包装物の奥行の長さの-100mm以上+20mm未満であることを特徴とする(1)記載の包装材。
(3) 前記被包装物は、2個以上10個以下の前記紙の束を重ねたものであることを特徴とする(1)または(2)記載の包装材。
(4) 前記被包装物は、複数個の前記紙の束を重ねたものを2列並べたものである(1)または(2)記載の包装材。
(5) 包装紙により包装された紙の束を複数個重ねた被包装物を包装材により包囲して包装した包装物であって、前記紙の束を重ねた方向を縦、前記被包装物の短辺を横、及び前記被包装物の長辺を奥行としたとき、前記被包装物の奥行の辺を含む四面を包囲する矩形状の包囲部、並びに前記包囲部の短手方向の一端にのりしろ部を有する前記包装材を用いて、前記包囲部の長手方向の両端が前記被包装物の横の辺及び縦の辺に位置するように前記被包装材を包囲し、前記のりしろ部を前記包囲部の前記短手方向の他端部に糊付することによって前記被包装物を包装した包装物。
(6) 前記包囲部の前記短手方向の長さは、前記被包装物の奥行の長さの-100mm以上+20mm未満である(5)記載の包装物。
(7) 前記包囲部の前記短手方向の前記他端部は、複数の前記包装物を積み重ねた際、前記被包装物の奥行の二底辺のいずれかに位置することを特徴とする(5)または(6)記載の包装物。
(8) 前記被包装物は、2個以上10個以下の前記紙の束を重ねたものであることを特徴とする(5)または(6)記載の包装物。
(9) 前記被包装物は、複数個の前記紙の束を重ねたものを2列並べたものである(5)または(6)記載の包装物。
(10) 包装機を用いて、包装紙により包装された紙の束を複数個重ねた被包装物を包囲することにより包装する包装方法であって、前記紙の束を重ねた方向を縦、前記被包装物の短辺を横、及び前記被包装物の長辺を奥行としたとき、前記包装機の包装材搬送部が、前記被包装物の奥行の辺を含む四面を包囲する矩形状の包囲部、並びに前記包囲部の短手方向の一端にのりしろ部を有する包装材を前記包装機の包装部に搬送する搬送工程と、前記包装機の被包装物搬送部が、前記被包装物の横の二底辺それぞれが前記包囲部の前記長手方向の両端それぞれに位置するように、前記被包装物を前記包装材の上に載置する載置工程と、前記包装機の前記包装部が、前記包装材を折り曲げて前記被包装物を前記包装材により包囲する包囲工程と、前記包装機の前記包装部が、前記のりしろ部を前記包囲部の前記短手方向の他端部に糊付する糊付工程とを含むことを特徴とする包装方法。
(11) 前記搬送工程は、前記包囲部の前記短手方向の長さが前記被包装物の奥行の長さの-100mm以上+20mm未満である前記包装材を搬送することを特徴とする(10)記載の包装方法。
(12) 前記載置工程は、前記包囲部の前記短手方向の前記他端部が前記被包装物の奥行の二底辺のいずれかに位置するように、前記被包装物を前記包装材の上に載置することを特徴とする(10)または(11)記載の包装方法。
(13) 前記載置工程は、2個以上10個以下の前記紙の束を重ねた前記被包装物を前記包装材の上に載置することを特徴とする(10)または(11)記載の包装方法。
(14)前記載置工程は、複数個の前記紙の束を重ねたものを2列並べた前記被包装物を前記包装材の上に載置することを特徴とする(10)または(11)記載の包装方法。
【発明の効果】
【0008】
本発明によれば、開封容易化、低コスト化及び省資源化を実現することができる包装材、該包装材により包装された包装物、及び該包装材により被包装物を包装する包装方法を提供することができる。
【図面の簡単な説明】
【0009】
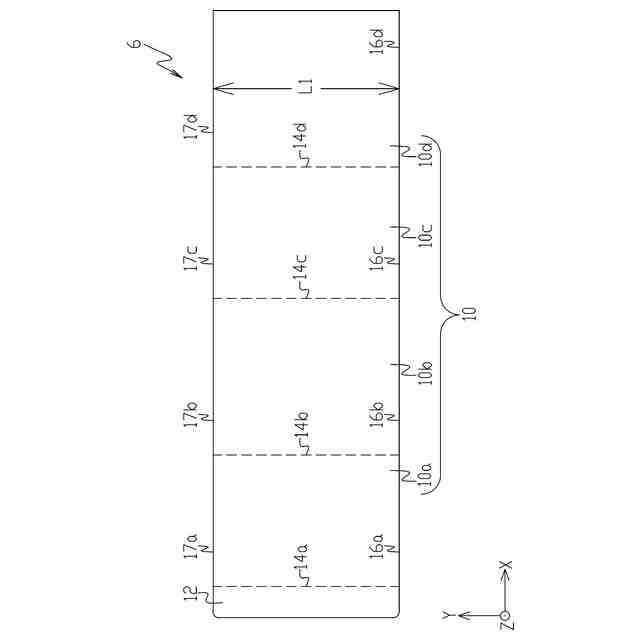
実施の形態に係る包装材の構成を示す展開図である。
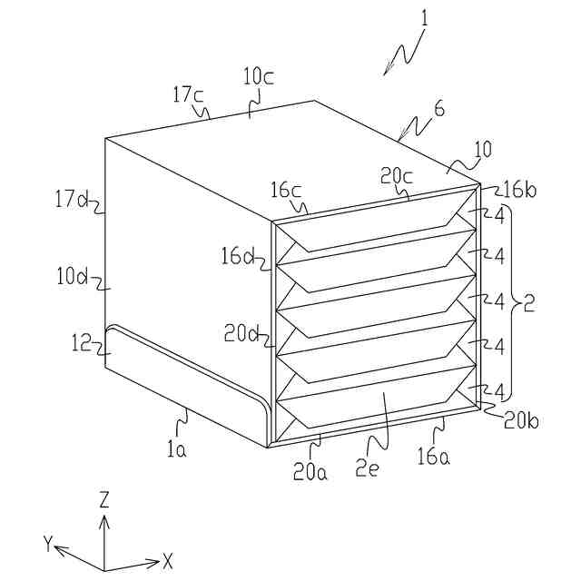
実施の形態に係る包装物の構成を示す斜視図である。
実施の形態に係る包装材及び被包装物の構成を示す斜視図である。
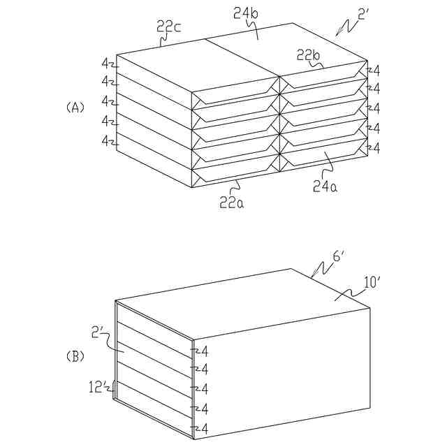
(A)他の実施の形態に係る被包装物の構成を示す斜視図、(B)他の実施の形態に係る包装物の構成を示す斜視図である。
【発明を実施するための形態】
【0010】
以下、図面を参照して、本発明の実施の形態に係る包装材、該包装材により包装された包装物、及び該包装材により被包装物を包装する包装方法について説明する。図1はこの実施の形態に係る包装材の構成を示す展開図、図2はこの実施の形態に係る包装材により被包装物を包装した包装物の構成を示す斜視図、図3はこの実施の形態に係る包装材及び該包装材により包装される被包装物の構成を示す斜視図である。なお、以下において、図1に示すXYZ直交座標系を設定し、この直交座標系を参照しつつ各部の位置関係等について説明する。X軸を図1の紙面左右方向、Y軸を図1の紙面上下方向、Z軸を図1の紙面に直交する方向に設定する。
(【0011】以降は省略されています)
この特許をJ-PlatPat(特許庁公式サイト)で参照する
関連特許
日本製紙株式会社
耐雪紙
10日前
日本製紙株式会社
圧着紙
9日前
日本製紙株式会社
測定装置
4日前
日本製紙株式会社
風船玩具
20日前
日本製紙株式会社
消臭性板紙
5日前
日本製紙株式会社
ヘアケア製品
1か月前
日本製紙株式会社
分散剤組成物
16日前
日本製紙株式会社
農薬用添加剤
1か月前
日本製紙株式会社
印刷用塗工紙
5日前
日本製紙株式会社
導電性フィルム
10日前
日本製紙株式会社
導電性フィルム
10日前
日本製紙株式会社
樹皮率の予測方法
23日前
日本製紙株式会社
菓子用スポンジ生地
20日前
日本製紙株式会社
ハードコートフィルム
4日前
日本製紙株式会社
包装材、包装物及び包装方法
2日前
日本製紙株式会社
全固体電池用電極および全固体電池
18日前
日本製紙株式会社
記録紙
5日前
UBE株式会社
ポリアミド樹脂強化用セルロース系繊維
12日前
日本製紙株式会社
光アップコンバージョン組成物、フィルム及び光アップコンバージョン方法
11日前
国立大学法人信州大学
複合材料の製造方法及び複合材料
10日前
日本製紙株式会社
紙製容器用プルトップ、該プルトップを有する紙製容器、及び紙製容器の製造方法
11日前
日本製紙株式会社
包装用基材、包装用材料、包装用材料の製造方法
1か月前
日本製紙株式会社
非水電解質二次電池電極用結合剤、非水電解質二次電池用電極組成物、非水電解質二次電池用電極および非水電解質二次電池
20日前
個人
収容箱
3か月前
個人
コンベア
4か月前
個人
段ボール箱
6か月前
個人
ゴミ収集器
6か月前
個人
容器
9か月前
個人
段ボール箱
6か月前
個人
土嚢運搬器具
8か月前
個人
楽ちんハンド
4か月前
個人
バンド
1か月前
個人
宅配システム
6か月前
個人
角筒状構造体
5か月前
個人
コード類収納具
8か月前
個人
お薬の締結装置
5か月前
続きを見る
他の特許を見る