TOP
|
特許
|
意匠
|
商標
特許ウォッチ
Twitter
他の特許を見る
公開番号
2025156785
公報種別
公開特許公報(A)
公開日
2025-10-15
出願番号
2024059447
出願日
2024-04-02
発明の名称
測定装置
出願人
日本製紙株式会社
代理人
個人
主分類
D21F
7/00 20060101AFI20251007BHJP(製紙;セルロースの製造)
要約
【課題】 センサーの清掃頻度を低減させることができる測定装置を提供する。
【解決手段】 抄紙機に設置され、前記抄紙機により抄かれた紙の品質を測定する測定装置であって、移動する前記紙の少なくとも一面に接触するセンサーと、前記センサーを搭載し、前記センサーを前記紙の移動方向と交差する方向に走査させるヘッド部と、前記ヘッド部が前記紙の幅方向両端部の外側を移動中に、前記センサーにエアーを噴射するエアー噴射部とを備える。
【選択図】図1
特許請求の範囲
【請求項1】
抄紙機に設置され、前記抄紙機により抄かれた紙の品質を測定する測定装置であって、
移動する前記紙の少なくとも一面に接触するセンサーと、
前記センサーを搭載し、前記センサーを前記紙の移動方向と交差する方向に走査させるヘッド部と、
前記ヘッド部が前記紙の幅方向両端部の外側を移動中に、前記センサーにエアーを噴射するエアー噴射部と、
を備えることを特徴とする測定装置。
続きを表示(約 290 文字)
【請求項2】
前記エアー噴射部は、前記紙の幅方向両端部の外側に設置されることを特徴とする請求項1記載の測定装置。
【請求項3】
前記エアー噴射部による前記エアーの噴射方向は、前記紙の移動方向と反対方向であって、前記紙の移動方向と平行な方向または前記紙の幅方向両端部から外側に向かう方向であることを特徴とする請求項1または請求項2記載の測定装置。
【請求項4】
前記エアー噴射部の先端に取り付けられ、前記エアー噴射部から噴射される前記エアーの噴射方向をガイドするガイドバーを備えることを特徴とする請求項1または請求項2記載の測定装置。
発明の詳細な説明
【技術分野】
【0001】
本発明は、抄紙機により抄かれた紙の品質を測定する測定装置に関する。
続きを表示(約 1,900 文字)
【背景技術】
【0002】
抄紙機により抄かれた紙の坪量、水分、灰分、厚さ等の品質をオンラインで測定する測定装置として、抄紙機に設置されたBM計(Basis Weight & Moisture Measurement System)が用いられている。BM計は、抄紙工程において、キャリパー(紙厚)センサー等の各種センサーを搭載したヘッド部を紙の幅方向にスキャンさせながら紙厚等を連続的に測定する(例えば、特許文献1参照)。
【先行技術文献】
【特許文献】
【0003】
特開平2-287245号公報
【発明の概要】
【発明が解決しようとする課題】
【0004】
しかしながら、上述のBM計(測定装置)のキャリパーセンサーにおいては、紙面に接触する紙面接触部に粘着異物であるピッチが多く付着し、これら付着物が剥落することにより損紙及び継手(継目)が発生するという問題があった。
【0005】
したがって、ピッチを除去するための清掃を通常約8時間間隔で行うが、紙の種類によっては短時間に多くのピッチが付着するため10~20分間隔で清掃する必要があった。清掃中はBM計によるスキャニングができないため、測定回数が不十分となり、結果、紙厚プロファイルの異常の発見を逸するおそれがあった。
【0006】
本発明の目的は、センサーの清掃頻度を低減させることができる測定装置を提供することである。
【課題を解決するための手段】
【0007】
本発明者らは、上記の課題を解決するべく本発明を完成させた。本発明は、以下を提供する。
(1) 抄紙機に設置され、前記抄紙機により抄かれた紙の品質を測定する測定装置であって、移動する前記紙の少なくとも一面に接触するセンサーと、前記センサーを搭載し、前記センサーを前記紙の移動方向と交差する方向に走査させるヘッド部と、前記ヘッド部が前記紙の幅方向両端部の外側を移動中に、前記センサーにエアーを噴射するエアー噴射部とを備えることを特徴とする測定装置。
(2) 前記エアー噴射部は、前記紙の幅方向両端部の外側に設置されることを特徴とする(1)記載の測定装置。
(3) 前記エアー噴射部による前記エアーの噴射方向は、前記紙の移動方向と反対方向であって、前記紙の移動方向と平行な方向または前記紙の幅方向両端部から外側に向かう方向であることを特徴とする(1)または(2)記載の測定装置。
(4) 前記エアー噴射部の先端に取り付けられ、前記エアー噴射部から噴射される前記エアーの噴射方向をガイドするガイドバーを備えることを特徴とする(1)または(2)記載の測定装置。
【発明の効果】
【0008】
本発明によれば、センサーの清掃頻度を低減させることができる測定装置を提供することができる。
【図面の簡単な説明】
【0009】
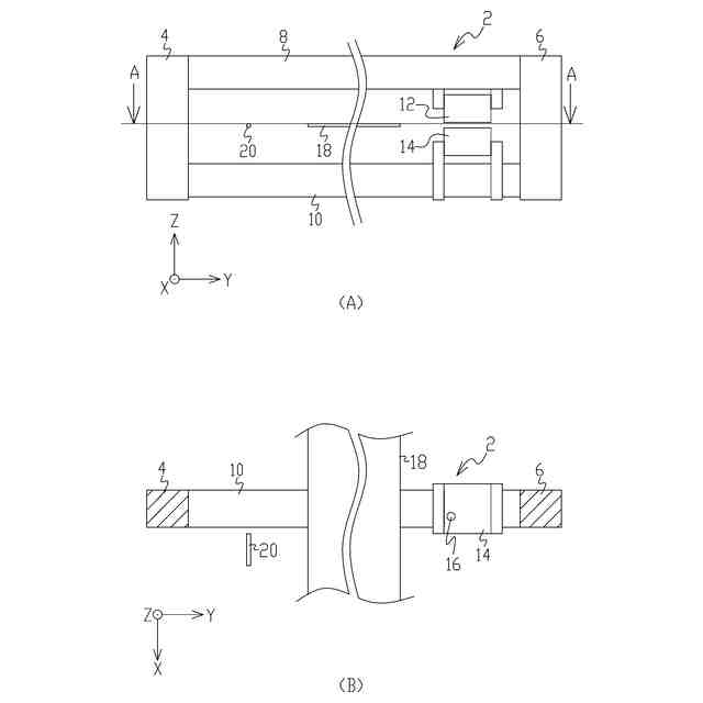
(A)は実施の形態に係る測定装置の構成を示す正面図、(B)は実施の形態に係る測定装置の構成を示す断面図である。
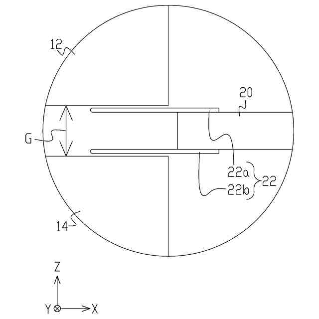
実施の形態に係るエアー噴射部がエアーを噴射する噴射エリアについて説明するための図である。
実施の形態に係る上部ヘッド部及び下部ヘッド部とエアー噴射部との位置関係について説明するための図である。
実施の形態に係る上部ヘッド部及び下部ヘッド部とガイド部との位置関係について説明するための図である。
他の実施の形態に係るエアー噴射部がエアーを噴射する噴射エリアについて説明するための図である。
【発明を実施するための形態】
【0010】
以下、図面を参照して、本発明の実施の形態に係る測定装置について説明する。この実施の形態に係る測定装置は、例えば抄紙機に設置されるBM計(Basis Weight & Moisture Measurement System)であって、抄紙機により抄かれた紙の坪量、水分、灰分、厚さ等の品質をオンラインで測定する。図1(A)はこの実施の形態に係る測定装置の構成を示す正面図、図1(B)は図1(A)のA-A断面図である。なお、以下において、図1に示すXYZ直交座標系を設定し、この直交座標系を参照しつつ各部の位置関係等について説明する。X軸を図1(A)の紙面に直交する方向、Y軸を図1(A)の紙面左右方向、Z軸を図1(A)の紙面上下方向に設定する。
(【0011】以降は省略されています)
この特許をJ-PlatPat(特許庁公式サイト)で参照する
関連特許
日本製紙株式会社
耐雪紙
8日前
日本製紙株式会社
圧着紙
7日前
日本製紙株式会社
測定装置
2日前
日本製紙株式会社
風船玩具
18日前
日本製紙株式会社
消臭性板紙
3日前
日本製紙株式会社
ヘアケア製品
1か月前
日本製紙株式会社
分散剤組成物
14日前
日本製紙株式会社
農薬用添加剤
28日前
日本製紙株式会社
印刷用塗工紙
3日前
日本製紙株式会社
導電性フィルム
8日前
日本製紙株式会社
導電性フィルム
8日前
日本製紙株式会社
樹皮率の予測方法
21日前
日本製紙株式会社
菓子用スポンジ生地
18日前
日本製紙株式会社
ハードコートフィルム
2日前
日本製紙株式会社
包装材、包装物及び包装方法
今日
日本製紙株式会社
全固体電池用電極および全固体電池
16日前
日本製紙株式会社
記録紙
3日前
UBE株式会社
ポリアミド樹脂強化用セルロース系繊維
10日前
日本製紙株式会社
光アップコンバージョン組成物、フィルム及び光アップコンバージョン方法
9日前
国立大学法人信州大学
複合材料の製造方法及び複合材料
8日前
日本製紙株式会社
紙製容器用プルトップ、該プルトップを有する紙製容器、及び紙製容器の製造方法
9日前
日本製紙株式会社
包装用基材、包装用材料、包装用材料の製造方法
1か月前
日本製紙株式会社
非水電解質二次電池電極用結合剤、非水電解質二次電池用電極組成物、非水電解質二次電池用電極および非水電解質二次電池
18日前
アイカ工業株式会社
紙透明化剤
10日前
日本製紙株式会社
測定装置
2日前
三菱製紙株式会社
両艶クラフト紙
5か月前
日本製紙株式会社
耐雪紙
8日前
オリベスト株式会社
ガラス繊維不織布
10日前
東洋アルミニウム株式会社
積層体
2か月前
株式会社大善
色管理システム
5か月前
日本製紙株式会社
消臭性板紙
3日前
CHEMIPAZ株式会社
紙用柔軟剤及び紙
3か月前
独立行政法人 国立印刷局
コーナーロール機構
8日前
ダイキン工業株式会社
組成物
3か月前
ダイキン工業株式会社
組成物
3か月前
ダイキン工業株式会社
組成物
3か月前
続きを見る
他の特許を見る