TOP
|
特許
|
意匠
|
商標
特許ウォッチ
Twitter
他の特許を見る
10個以上の画像は省略されています。
公開番号
2025150085
公報種別
公開特許公報(A)
公開日
2025-10-09
出願番号
2024050785
出願日
2024-03-27
発明の名称
コーナーロール機構
出願人
独立行政法人 国立印刷局
代理人
主分類
D21F
7/00 20060101AFI20251002BHJP(製紙;セルロースの製造)
要約
【課題】
本発明は、シートを作製する抄紙機において、コーナーロールの直径を自由に変動することで、しわの発生が軽減される抄紙機用のコーナーロール機構を提供する。
【解決手段】
本発明は、準備部、ワイヤー部、プレス部、乾燥部、カレンダ部及びリール部を少なくとも備えた抄紙機において、プレス部からリール部までのシートを搬送する過程の中で、シートの搬送角度を変更させるため、平行に配置された複数本の小径ロールが、中心から放射状に切り抜かれた溝を備えた小径ロール取付板により両端で固定されており、所望する小径ロールの位置にスプリングの伸縮を用いて溝内を変動可能としたコーナーロール機構である。
【選択図】図3
特許請求の範囲
【請求項1】
シートの原料である繊維を水に分散させる準備部、繊維の分散を促し、湿潤状態のシートを形成するワイヤー部、前記シートに圧力をかけて脱水するプレス部、脱水後の前記シートを乾燥させる乾燥部、前記シートの表面を平滑にするとともに紙厚の調整を行うカレンダ部及び前記シートを巻き取るリール部を少なくとも備えた抄紙機において、
前記プレス部から前記リール部までの前記シートを搬送する過程で、前記シートの搬送角度を変更させるためのコーナーロール機構であって、
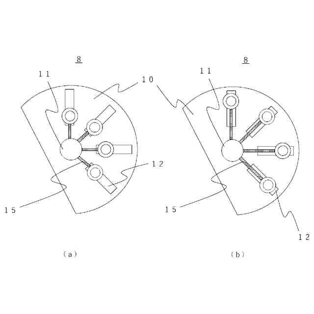
前記コーナーロール機構は、平行に配置された複数本の小径ロールと、前記複数本の小径ロールの両端に位置し、前記小径ロールを所定の位置に固定するための小径ロール取付板と、前記小径ロール取付板を前記抄紙機に結合するための小径ロール取付板シャフトと、前記小径ロール取付板シャフトと前記小径ロールを繋ぐスプリングと、前記小径ロール取付板上において、前記小径ロールを挟んで前記スプリングとは反対側に小径ロールと隣接して設けられた小径ロール位置調整板と、前記小径ロール位置調整板を挟んで前記小径ロールと反対側に、モータの駆動により回転して前記小径ロール位置調整板の位置を変動する調整ネジとを備えて成り、
前記小径ロール取付板は、前記小径ロール取付板シャフトから放射状かつ略長方形に切り抜かれた複数の溝が形成され、
前記小径ロールの固定位置を、前記調整ネジの回転により前記小径ロール位置調整板の位置を変動させることで、前記溝内を前記スプリングの伸縮により前記小径ロールを変動可能としたことを特徴とするコーナーロール機構。
続きを表示(約 260 文字)
【請求項2】
前記小径ロール取付板は扇状又は円形状の形状を有し、前記複数本の小径ロールが、前記小径ロール取付板の前記小径ロール取付板シャフトを中心に円弧状に固定されていることを特徴とする請求項1記載のコーナーロール機構。
【請求項3】
前記小径ロールは、前記小径ロール取付板が円形状の形状を有している場合、前記小径ロール取付板シャフトが回転可能に設けられ、前記シートの搬送に伴い前記小径ロール取付板と一緒に前記小径ロール取付板シャフトを中心に回転することを特徴とする請求項2記載のコーナーロール機構。
発明の詳細な説明
【技術分野】
【0001】
本発明は、用紙を作製する抄紙機における、用紙の搬送路に配置するコーナーロールに関する。
続きを表示(約 880 文字)
【背景技術】
【0002】
まず、例として長網抄紙機(M)における抄造工程を図1に示す。長網抄紙機(M)は、大きく分けて、準備部(1)、ワイヤー部(2)、プレス部(3)、乾燥部(4)、カレンダ部(5)、リール部(6)から成る。
【0003】
準備部(1)は、用紙の原料であり、紙層を形成する繊維が水に分散した溶液であるシート(P)のもつれ又は固まり等の大きな異物を除去し、繊維を分散させる。
【0004】
ワイヤー部(2)については、準備部(1)から供給されたシート(P)を、ワイヤー(2a)の上面に供給したのち、ワイヤー(2a)の幅方向の坪量バランス及び繊維の分散を促し、湿潤状態のシート(P)を形成する。
【0005】
プレス部(3)については、シート(P)に対して圧力をかけて脱水する。
【0006】
乾燥部(4)については、脱水後のシート(P)を乾燥させるとともに、用紙伸縮の調整も行う。
【0007】
カレンダ部(5)については、カレンダロール(5a)の間を通し、圧力をかけることで乾燥後のシートの表面を平滑にするとともに、紙厚の調整を行う。
【0008】
リール部(6)については、完成したシート(P)を巻き取り、次工程に送付する。
【0009】
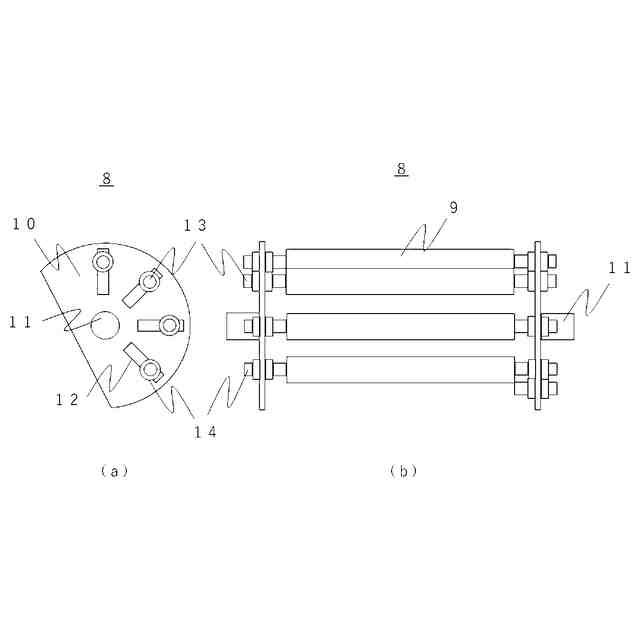
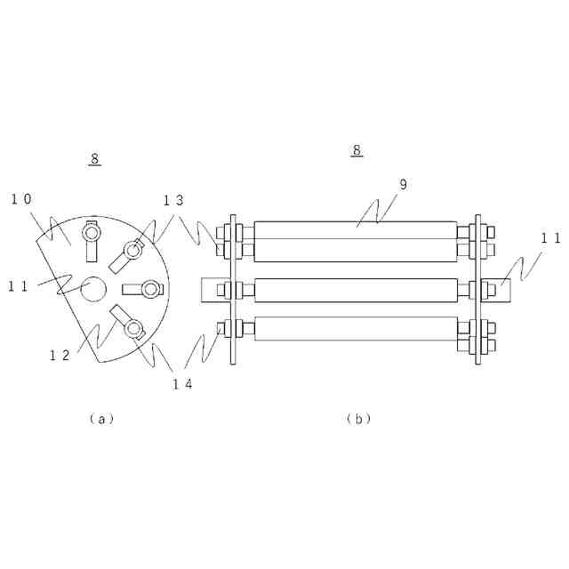
長網抄紙機(M)には、コーナーロール(8)によってシート(P)の搬送方向を変えているが、コーナーロール(8)のうちの一部は、シート(P)の搬送方向が急激に変わるコーナーロール(8)が存在する。
【0010】
そのシート(P)搬送方向が急激に変わるコーナーロール(8)におけるシート(P)には、大きな力が作用するため、しわが発生し易い(図2参照)。しわが発生した場合、長網抄紙機(M)のシート(P)の引張力等を調整することでシート(P)のしわを伸ばしているが、一時的な対策であって、抄造条件が変われば、しわが再発していた。
(【0011】以降は省略されています)
この特許をJ-PlatPat(特許庁公式サイト)で参照する
関連特許
アイカ工業株式会社
紙透明化剤
7日前
三菱製紙株式会社
両艶クラフト紙
5か月前
日本製紙株式会社
耐雪紙
5日前
オリベスト株式会社
ガラス繊維不織布
7日前
東洋アルミニウム株式会社
積層体
2か月前
株式会社大善
色管理システム
5か月前
CHEMIPAZ株式会社
紙用柔軟剤及び紙
3か月前
独立行政法人 国立印刷局
コーナーロール機構
5日前
ダイキン工業株式会社
組成物
3か月前
ダイキン工業株式会社
組成物
3か月前
ダイキン工業株式会社
組成物
3か月前
花王株式会社
古紙のパルプ化処理方法
2か月前
独立行政法人 国立印刷局
ふるい分け残量算出方法
5日前
丸住製紙株式会社
水解紙及び水解紙の製造方法
3か月前
特種東海製紙株式会社
軟包装材用原紙および軟包装材
6日前
ダイキン工業株式会社
パルプ組成物
4か月前
ダイキン工業株式会社
パルプ組成物
5か月前
リンテック株式会社
耐油紙
6か月前
リンテック株式会社
透明紙
6か月前
ダイキン工業株式会社
パルプ組成物
5か月前
日本製紙株式会社
非塗工紙及び非塗工紙の製造方法
4か月前
ダイキン工業株式会社
パルプ用耐油剤
2か月前
株式会社マーケットヴィジョン
機能性紙製品
6か月前
セイコーエプソン株式会社
微細化装置
12日前
花王株式会社
水解性シート
2か月前
リンテック株式会社
剥離紙原紙
4か月前
独立行政法人 国立印刷局
抄紙機における光沢部の安全機構
1か月前
大王製紙株式会社
段ボール用ライナ
25日前
日本フエルト株式会社
製紙用織物
3か月前
日本製紙クレシア株式会社
キッチンタオルロール
6か月前
レンゴー株式会社
白板紙
6か月前
ダイキン工業株式会社
パルプ製品の製造方法
6か月前
大王製紙株式会社
印刷用塗工紙
6か月前
有限会社バースケア
機能性和紙シートおよびその製造方法
6か月前
日本フエルト株式会社
製紙用2層織物
1か月前
日本製紙株式会社
包装用基材
4か月前
続きを見る
他の特許を見る