TOP
|
特許
|
意匠
|
商標
特許ウォッチ
Twitter
他の特許を見る
公開番号
2025143805
公報種別
公開特許公報(A)
公開日
2025-10-02
出願番号
2024043244
出願日
2024-03-19
発明の名称
微細化装置
出願人
セイコーエプソン株式会社
代理人
個人
,
個人
,
個人
主分類
D21B
1/08 20060101AFI20250925BHJP(製紙;セルロースの製造)
要約
【課題】原料の微細化を効率よく行うことができる微細化装置を提供すること。
【解決手段】原料の投入口および排出口を有するケーシングと、ケーシング内に収納され、ブレードを有し、回転軸回りに回転して原料を微細化するローターと、ケーシング内の、ローターよりも投入口側の空間に空気を噴出する少なくとも1つのノズルを有する空気噴出部と、を備えることを特徴とする微細化装置。また、ノズルは、ケーシングの壁部に、ローターの周方向に沿って互いに離間して複数配置されている。
【選択図】図2
特許請求の範囲
【請求項1】
原料の投入口および排出口を有するケーシングと、
前記ケーシング内に収納され、ブレードを有し、回転軸回りに回転して前記原料を微細化するローターと、
前記ケーシング内の、前記ローターよりも前記投入口側の空間に空気を噴出する少なくとも1つのノズルを有する空気噴出部と、を備えることを特徴とする微細化装置。
続きを表示(約 760 文字)
【請求項2】
前記ノズルは、前記ケーシングの壁部に、前記ローターの周方向に沿って互いに離間して複数配置されている請求項1に記載の微細化装置。
【請求項3】
前記ノズルは、前記ローターの回転方向に対して逆方向に空気を噴出する請求項1に記載の微細化装置。
【請求項4】
前記空気噴出部は、前記ノズルの単位時間当たりの空気の噴出量を調整する噴出量調整部を有する請求項1ないし3のいずれか1項に記載の微細化装置。
【請求項5】
前記噴出量調整部は、前記ノズルが間欠的に空気を噴出するよう前記ノズルへの流路の開閉を制御する開閉弁を有する請求項4に記載の微細化装置。
【請求項6】
前記空気噴出部は、前記ノズルの空気の噴出方向を調整する噴出方向調整部を有する請求項1ないし3のいずれか1項に記載の微細化装置。
【請求項7】
前記空気噴出部は、前記ノズルの前記ローターの周方向における位置を調整するノズル位置調整部を有する請求項1ないし3のいずれか1項に記載の微細化装置。
【請求項8】
前記ケーシングの内周面に設置されたライナーを有し、前記ローターの回転により前記ライナーと前記ブレードとの間に前記原料が移行して微細化され、
前記ノズルは、前記ケーシングの壁部に、前記ローターの周方向に沿って互いに離間して複数配置され、前記ローターの回転方向に対して逆方向に空気を噴出するものであり、
前記空気噴出部は、前記ノズルの単位時間当たりの空気の噴出量を調整する噴出量調整部を有し、
前記噴出量調整部は、前記ノズルが間欠的に空気を噴出するよう前記ノズルへの流路の開閉を制御する開閉弁を有する請求項1に記載の微細化装置。
発明の詳細な説明
【技術分野】
【0001】
本発明は、微細化装置に関する。
続きを表示(約 1,700 文字)
【背景技術】
【0002】
古紙を粗砕する粗砕部、粗砕部で得られた粗砕片を解繊する解繊部、解繊部で得られた解繊物を平面上に堆積させる堆積部、堆積したウェブを加熱、加圧する加熱加圧部、加熱加圧部で得られたシートを所定の形状に裁断する裁断部、および得られたシートを回収するシート回収部を備えたシート製造装置が知られている。
【0003】
上記解繊部としては、例えば、特許文献1に記載されているようなターボ式微粉砕機を用いることができる。特許文献1のターボ式微粉砕機は、原料入口部および粉砕製品出口部を有するケーシングと、ケーシングの内面に設けられたライナーと、ケーシング内で回転しブレード(刃)を備えたローターとを有する。回転しているローターの刃先とライナーとの間を原料が通過する際、原料が粉砕され、粉砕物が粉砕製品出口部から排出される。
【先行技術文献】
【特許文献】
【0004】
特開平11-276916号公報
【発明の概要】
【発明が解決しようとする課題】
【0005】
しかしながら、特許文献1に記載されているターボ式微粉砕機では、ローターが有するブレードの刃先とライナーとの間の隙間は、比較的狭く、原料の大きさや投入量によっては、原料がローターとライナーとの間に順調に入っていかず、ローターの手前側で原料が滞留してしまうことがある。この滞留が生じてしまうと、原料の微粉砕を良好に継続して行うことができない。
【課題を解決するための手段】
【0006】
本発明の微細化装置は、原料の投入口および排出口を有するケーシングと、
前記ケーシング内に収納され、ブレードを有し、回転軸回りに回転して前記原料を微細化するローターと、
前記ケーシング内の、前記ローターよりも前記投入口側の空間に空気を噴出する少なくとも1つのノズルを有する空気噴出部と、を備える。
【図面の簡単な説明】
【0007】
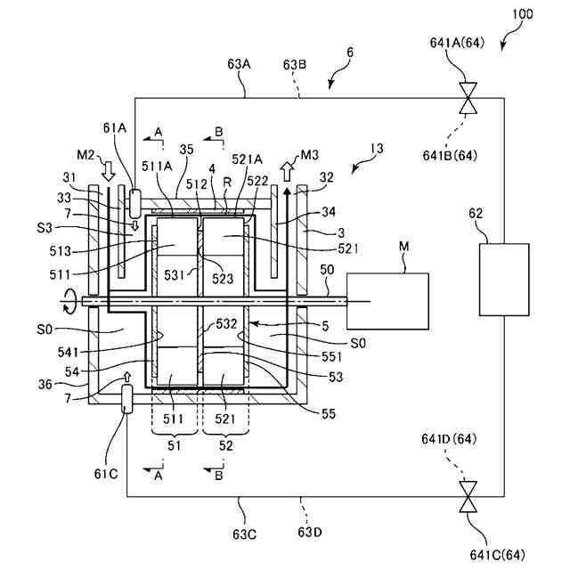
図1は、本発明の第1実施形態に係る微細化装置を備えるシート製造装置の概略を示す構成図である。
図2は、図1に示す微細化装置の縦断面図である。
図3は、図2中のA-A線断面図である。
図4は、図2中のB-B線断面図である。
図5は、図2に示す空気噴出部が空気を噴出するタイミングのパターンの一例を示すタイムチャートである。
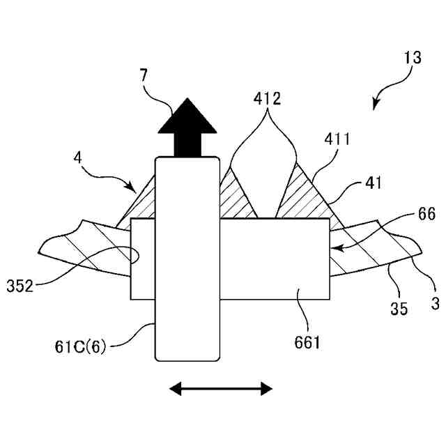
図6は、本発明の微細化装置の第2実施形態が備える噴出方向調整部を示す断面図である。
図7は、本発明の微細化装置の第3実施形態が備えるノズル位置調整部を示す断面図である。
【発明を実施するための形態】
【0008】
以下、本発明の微細化装置を添付図面に示す好適な実施形態に基づいて詳細に説明する。
【0009】
<第1実施形態>
図1は、本発明の第1実施形態に係る微細化装置を備えるシート製造装置の概略を示す構成図である。図2は、図1に示す微細化装置の縦断面図である。図3は、図2中のA-A線断面図である。図4は、図2中のB-B線断面図である。図5は、図2に示す空気噴出部が空気を噴出するタイミングのパターンの一例を示すタイムチャートである。
【0010】
なお、以下では、図1の上側を「上」または「上方」、下側を「下」または「下方」と言うことがある。また、図2の左側を「左」または「左側」、右側を「右」または「右側」と言うことがある。また、図1は、概略構成図であり、シート製造装置100の各部の位置関係、向き、大きさ等は、図示のものに限定されない。また、図1において、粗砕片M2、解繊物M3、第1選別物M4-1、第2選別物M4-2、第1ウェブM5、細分体M6、混合物M7、第2ウェブM8、再生紙Sが搬送される方向、すなわち、矢印で示す方向を搬送方向とも言う。また、図1中の矢印の先端側を搬送方向における「下流側」、図1中の矢印の基端側を搬送方向における「上流側」とも言う。
(【0011】以降は省略されています)
この特許をJ-PlatPat(特許庁公式サイト)で参照する
関連特許
セイコーエプソン株式会社
記録装置
1日前
セイコーエプソン株式会社
慣性センサーモジュール
1日前
セイコーエプソン株式会社
液体吐出システム、液体吐出システムの制御方法
1日前
セイコーエプソン株式会社
記録装置及び記録方法
1日前
アイカ工業株式会社
紙透明化剤
1か月前
日本製紙株式会社
測定装置
22日前
三菱製紙株式会社
両艶クラフト紙
6か月前
丸住製紙株式会社
変性パルプ
10日前
オリベスト株式会社
ガラス繊維不織布
1か月前
日本製紙株式会社
耐雪紙
28日前
東洋アルミニウム株式会社
積層体
3か月前
株式会社大善
色管理システム
6か月前
日本製紙株式会社
消臭性板紙
23日前
CHEMIPAZ株式会社
紙用柔軟剤及び紙
4か月前
独立行政法人 国立印刷局
コーナーロール機構
28日前
ダイキン工業株式会社
組成物
4か月前
ダイキン工業株式会社
組成物
4か月前
ダイキン工業株式会社
組成物
4か月前
独立行政法人 国立印刷局
ふるい分け残量算出方法
28日前
花王株式会社
古紙のパルプ化処理方法
3か月前
特種東海製紙株式会社
軟包装材用原紙および軟包装材
29日前
丸住製紙株式会社
水解紙及び水解紙の製造方法
4か月前
ダイキン工業株式会社
パルプ組成物
5か月前
ダイキン工業株式会社
パルプ組成物
5か月前
ダイキン工業株式会社
パルプ組成物
7か月前
ダイキン工業株式会社
パルプ組成物
5か月前
リンテック株式会社
透明紙
7か月前
リンテック株式会社
耐油紙
7か月前
セイコーエプソン株式会社
微細化装置
1か月前
日本製紙株式会社
非塗工紙及び非塗工紙の製造方法
5か月前
東レ株式会社
湿式不織布、および固体電解質用補強シート
1日前
株式会社マーケットヴィジョン
機能性紙製品
7か月前
日本製紙株式会社
印刷用塗工紙
23日前
ダイキン工業株式会社
パルプ用耐油剤
2か月前
花王株式会社
水解性シート
3か月前
独立行政法人 国立印刷局
抄紙機における光沢部の安全機構
2か月前
続きを見る
他の特許を見る