TOP
|
特許
|
意匠
|
商標
特許ウォッチ
Twitter
他の特許を見る
10個以上の画像は省略されています。
公開番号
2025157963
公報種別
公開特許公報(A)
公開日
2025-10-16
出願番号
2024060350
出願日
2024-04-03
発明の名称
漏電判定装置、回路遮断器、分電盤、及びプログラム
出願人
パナソニックIPマネジメント株式会社
代理人
弁理士法人北斗特許事務所
主分類
G01R
31/52 20200101AFI20251008BHJP(測定;試験)
要約
【課題】漏電を判定するために電流を測定する複数のコイルの各々におけるセンサ特性を容易に合わせることができる漏電判定装置、回路遮断器、分電盤、及びプログラムを提供すること。
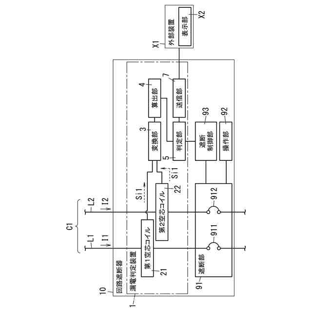
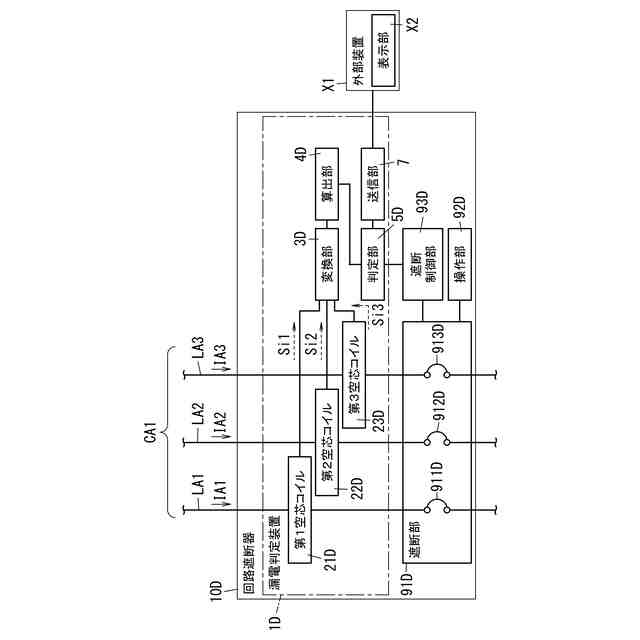
【解決手段】漏電判定装置1は、第1空芯コイル21と、第2空芯コイル22と、算出部4と、判定部5と、を備える。第1空芯コイル21は、第1電路L1に流れる電流である第1電流I1を計測する。第2空芯コイル22は、第2電路L2に流れる電流である第2電流I2を計測する。算出部4は、第1電流I1と第2電流I2との差分を算出する。判定部5は、差分に基づいて、漏電が発生しているか否かを判定する。
【選択図】図1
特許請求の範囲
【請求項1】
少なくとも第1電路及び第2電路を有する単相式の回路において漏電が発生しているか否かを判定する漏電判定装置であって、
前記第1電路に流れる電流である第1電流を計測する第1空芯コイルと、
前記第2電路に流れる電流である第2電流を計測する第2空芯コイルと、
前記第1電流と前記第2電流との差分を算出する算出部と、
前記差分に基づいて、前記漏電が発生しているか否かを判定する判定部と、を備える、
漏電判定装置。
続きを表示(約 1,400 文字)
【請求項2】
入力されたアナログ信号をデジタル変換する変換部を更に備え、
前記第1空芯コイルは、前記第1電流の計測結果を含むアナログ信号である第1計測信号を前記変換部に出力し、
前記第2空芯コイルは、前記第2電流の計測結果を含むアナログ信号である第2計測信号を前記変換部に出力し、
前記変換部は、前記第1計測信号及び前記第2計測信号の各々をデジタル変換し、
前記算出部は、前記変換部によってデジタル変換された前記第1計測信号及び前記第2計測信号に基づいて、前記差分を算出する、
請求項1に記載の漏電判定装置。
【請求項3】
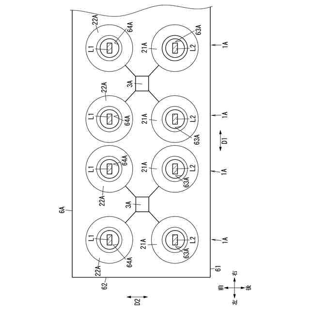
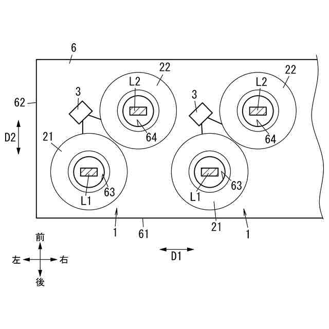
前記第1空芯コイル及び前記第2空芯コイルが設けられている基板を更に備える、
請求項1に記載の漏電判定装置。
【請求項4】
前記基板を複数備え、
前記複数の前記基板は、前記複数の前記基板の各々の厚さ方向に沿って重ねて配置され、
前記複数の前記基板の各々における前記第1空芯コイルは、前記厚さ方向に沿って並んでおり、
前記複数の前記基板の各々における前記第2空芯コイルは、前記厚さ方向に沿って並んでいる、
請求項3に記載の漏電判定装置。
【請求項5】
前記基板は、第1方向に沿う第1辺と、前記第1方向と交差する第2方向に沿う第2辺と、を有し、
前記第1空芯コイルの中心と、前記第2空芯コイルの中心と、は、前記第1方向及び前記第2方向の各々から見て互いに異なる位置に配置されている、
請求項3に記載の漏電判定装置。
【請求項6】
前記第1空芯コイルの正極と前記第2空芯コイルの正極とが電気的に接続されており、
前記第1空芯コイルの負極と前記第2空芯コイルの負極とが電気的に接続されている、
請求項1に記載の漏電判定装置。
【請求項7】
前記回路は、単相2線式であり、
前記第1電路は、前記単相2線式の電圧線であり、
前記第2電路は、前記単相2線式の中性線である、
請求項1に記載の漏電判定装置。
【請求項8】
前記回路は、単相3線式であり、
前記第1電路は、前記単相3線式の中性線であり、
前記第2電路は、前記単相3線式の2つの電圧線のうち一方の電圧線である、
請求項1に記載の漏電判定装置。
【請求項9】
前記回路は、単相3線式であり、
前記第1電路は、前記単相3線式の2つの電圧線のうち一方の電圧線であり、
前記第2電路は、前記2つの電圧線のうち残りの電圧線である、
請求項1に記載の漏電判定装置。
【請求項10】
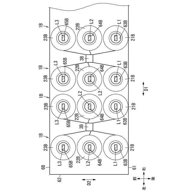
第1電路、第2電路、及び第3電路を有する三相式の回路において漏電が発生しているか否かを判定する漏電判定装置であって、
前記第1電路に流れる電流である第1電流を計測する第1空芯コイルと、
前記第2電路に流れる電流である第2電流を計測する第2空芯コイルと、
前記第3電路に流れる電流である第3電流を計測する第3空芯コイルと、
前記第1電流と前記第2電流と前記第3電流とにおける合算値を算出する算出部と、
前記合算値に基づいて、前記漏電が発生しているか否かを判定する判定部と、を備える、
漏電判定装置。
(【請求項11】以降は省略されています)
発明の詳細な説明
【技術分野】
【0001】
本開示は、一般に、漏電判定装置、回路遮断器、分電盤、及びプログラムに関する。より詳細には、本開示は、漏電を判定する漏電判定装置、回路遮断器、分電盤、及びプログラムに関する。
続きを表示(約 1,500 文字)
【背景技術】
【0002】
特許文献1には、環状のコアと、コアに巻回されるコイル巻線と、ヒューズと、を備える漏電検出装置が開示されている。環状のコアは、単相二線式又は三相三線式の二本又は三本の電線を囲繞する。ヒューズは、コイル巻線に直列接続され、二本又は三本の電線を流れる電流の差分電流が発生した場合、差分電流に基づく誘導電流がコイル巻線を流れることにより遮断される。
【先行技術文献】
【特許文献】
【0003】
特開2007-263663号公報
【発明の概要】
【発明が解決しようとする課題】
【0004】
ところで、特許文献1に記載されている漏電検出装置のような漏電判定装置において、回路が有する複数の電線の各々に流れる電流を異なるコイルで計測した結果に基づいて、上記の回路の漏電を判定する場合がある。この場合、漏電を判定するためには、電流を測定する複数のコイルにおけるセンサ特性を合わせる必要がある。
【0005】
本開示の目的とするところは、漏電を判定するために電流を測定する複数のコイルの各々におけるセンサ特性を容易に合わせることができる漏電判定装置、回路遮断器、分電盤、及びプログラムを提供することにある。
【課題を解決するための手段】
【0006】
本開示の一態様に係る漏電判定装置は、少なくとも第1電路及び第2電路を有する単相式の回路において漏電が発生しているか否かを判定する漏電判定装置である。本開示の一態様に係る漏電判定装置は、第1空芯コイルと、第2空芯コイルと、算出部と、判定部と、を備える。前記第1空芯コイルは、前記第1電路に流れる電流である第1電流を計測する。前記第2空芯コイルは、前記第2電路に流れる電流である第2電流を計測する。前記算出部は、前記第1電流と前記第2電流との差分を算出する。前記判定部は、前記差分に基づいて、前記漏電が発生しているか否かを判定する。
【0007】
本開示の一態様に係る漏電判定装置は、第1電路、第2電路、及び第3電路を有する三相式の回路において漏電が発生しているか否かを判定する漏電判定装置である。本開示の一態様に係る漏電判定装置は、第1空芯コイルと、第2空芯コイルと、第3空芯コイルと、算出部と、判定部と、を備える。前記第1空芯コイルは、前記第1電路に流れる電流である第1電流を計測する。前記第2空芯コイルは、前記第2電路に流れる電流である第2電流を計測する。前記第3空芯コイルは、前記第3電路に流れる電流である第3電流を計測する。前記算出部は、前記第1電流と前記第2電流と前記第3電流とにおける合算値を算出する。前記判定部は、前記合算値に基づいて、前記漏電が発生しているか否かを判定する。
【0008】
本開示の一態様に係る回路遮断器は、上記の漏電判定装置と、遮断部と、を備える。前記遮断部は、前記漏電が発生していると前記判定部が判定した場合に、前記回路を遮断する。
【0009】
本開示の一態様に係る分電盤は、主幹ブレーカと、複数の分岐ブレーカと、上記の漏電判定装置と、を備える。前記複数の分岐ブレーカは、前記主幹ブレーカの二次側端子に電気的に接続される。前記漏電判定装置は、前記主幹ブレーカ及び前記複数の分岐ブレーカの少なくともいずれかが有する前記回路において漏電が発生しているか否かを判定する。
【0010】
本開示の一態様に係るプログラムは、コンピュータシステムの1以上のプロセッサに、上記の漏電判定装置の機能を実現させる。
【発明の効果】
(【0011】以降は省略されています)
この特許をJ-PlatPat(特許庁公式サイト)で参照する
関連特許
個人
メジャー文具
18日前
個人
高精度同時多点測定装置
10日前
個人
アクセサリー型テスター
11日前
日本精機株式会社
位置検出装置
24日前
日本精機株式会社
位置検出装置
24日前
日本精機株式会社
位置検出装置
24日前
ユニパルス株式会社
ロードセル
17日前
株式会社ミツトヨ
測定器
1日前
アズビル株式会社
電磁流量計
4日前
アズビル株式会社
圧力センサ
23日前
ダイキン工業株式会社
監視装置
15日前
トヨタ自動車株式会社
監視装置
16日前
株式会社チノー
放射光測温装置
17日前
株式会社ヨコオ
ソケット
17日前
エイブリック株式会社
磁気センサ回路
23日前
株式会社ヨコオ
ソケット
16日前
TDK株式会社
ガスセンサ
17日前
愛知時計電機株式会社
ガスメータ
1日前
個人
システム、装置及び実験方法
4日前
長崎県
形状計測方法
11日前
TDK株式会社
ガスセンサ
23日前
株式会社東芝
重量測定装置
22日前
ローム株式会社
半導体装置
9日前
TDK株式会社
ガスセンサ
22日前
ローム株式会社
半導体装置
9日前
TDK株式会社
磁気センサ
16日前
中国電力株式会社
電柱管理システム
15日前
TDK株式会社
電磁波センサ
17日前
株式会社デンソー
電流センサ
9日前
日本特殊陶業株式会社
センサ
15日前
日本特殊陶業株式会社
センサ
15日前
日本特殊陶業株式会社
センサ
15日前
日本特殊陶業株式会社
センサ
15日前
三恵技研工業株式会社
融雪レドーム
16日前
株式会社熊谷組
RI計測装置
24日前
ダイハツ工業株式会社
移動支援装置
16日前
続きを見る
他の特許を見る