TOP
|
特許
|
意匠
|
商標
特許ウォッチ
Twitter
他の特許を見る
10個以上の画像は省略されています。
公開番号
2025157155
公報種別
公開特許公報(A)
公開日
2025-10-15
出願番号
2025043791
出願日
2025-03-18
発明の名称
内燃機関の排気弁
出願人
エヴァレンス,フィリアル・アフ・エヴァレンス・エスイー,ティスクランド
,
Everllence, Filial af Everllence SE, Tyskland
代理人
個人
,
個人
,
個人
主分類
F01L
3/02 20060101AFI20251007BHJP(機械または機関一般;機関設備一般;蒸気機関)
要約
【課題】排気弁全体を同じ材料で作成する必要なしに、高い延性および高い硬度も有する均質な材料で作成される改善された排気弁を提供すること。
【解決手段】本発明は、内燃機関の排気弁であって、全体が1つとして作成されたシャフト部分およびディスク部分を有する排気弁スピンドルであって、ディスク部分は、シャフト部分から離れる方を向く端面と、ディスク部分の上側の弁座領域とを有し、排気弁スピンドルは、ディスク部分の少なくとも一部に層を形成する堆積合金を含み、層は、質量パーセント(%)で、Cr:32%~50%、Al:0.5%~10.0%、および残部として、任意の元素を含んでもよいほか、不可避不純物およびNiを含み、層は、10%未満のバスケットウィーブ構造およびいくらかのラメラ構造を含む微細構造を有する、内燃機関の排気弁に関する。さらに、本発明は、排気弁を有する内燃機関、および内燃機関用の排気弁を処理する方法にも関する。
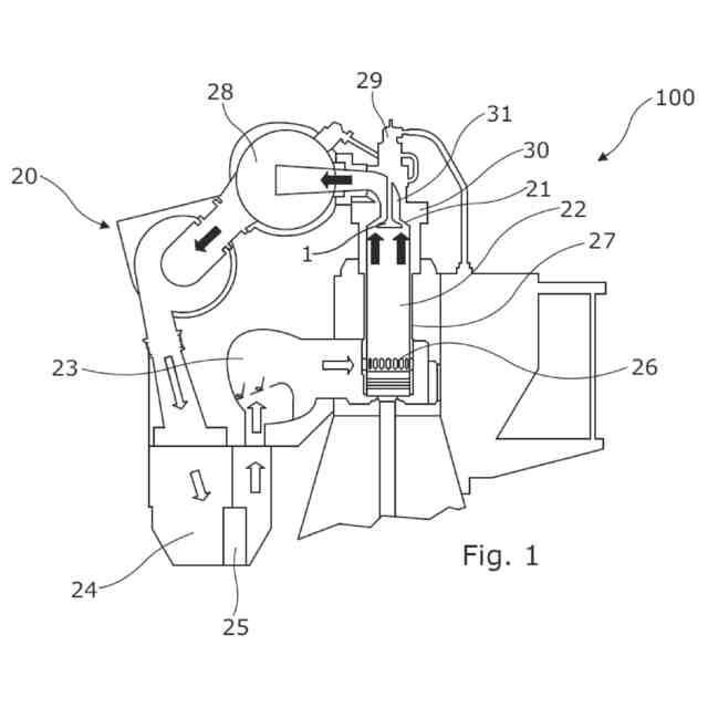
【選択図】図1
特許請求の範囲
【請求項1】
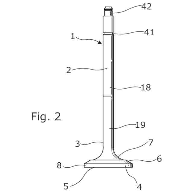
内燃機関(100)の排気弁(1)において、
全体が1つのモノリシックとして作成されたシャフト部分(3)およびディスク部分(4)を有する排気弁スピンドル(2)であって、前記ディスク部分(4)は、前記シャフト部分(3)から離れる方を向く端面(5)と、前記ディスク部分(4)の上側(7)の弁座領域(6)とを有し、前記排気弁スピンドル(2)は、前記ディスク部分(4)の少なくとも一部に層(8)を形成する堆積合金を含み、前記層(8)は、質量パーセント(%)で、
Cr:32%~50%、
Al:0.5%~10.0%、および
残部として、任意選択の元素、不可避不純物およびNi
を含む、排気弁スピンドル(2)を備える、排気弁(1)であって、
前記層(8)は、ISO-9042:1988規格を使用して定量化した場合に、10%未満のバスケットウィーブ構造と、ラメラ構造とを含む微細構造を有することを特徴とする、排気弁(1)。
続きを表示(約 1,300 文字)
【請求項2】
前記層(8)はNi-38Cr-3.8Alを含む、請求項1に記載の排気弁(1)。
【請求項3】
前記層(8)は、質量パーセント(%)で、
Fe:0.1~20.0%、
Si:5%以下、
B:0.01%以下、
C:0.1%以下、
Cu:5%以下、
Ti:0.1%以下、
Nb:0.1%以下、
Ta:0.1%以下、
V:0.1%以下の任意選択の元素を含み、
Ti+Nb+Ta+Vは0.1%以下であり、残部は不可避不純物およびNiである、請求項1または2に記載の排気弁(1)。
【請求項4】
前記層(8)は、規格ISO 6507-1:2019を使用して測定した350~550HVの硬度、および規格ISO 6892-1:2019を使用して測定した少なくとも10%の伸びの延性を有する、請求項1から3のいずれか一項に記載の排気弁(1)。
【請求項5】
前記層(8)は、ISO-9042:1988規格を使用して定量化した場合に、5%未満のバスケットウィーブ構造を含む微細構造を有する、請求項1から4のいずれか一項に記載の排気弁(1)。
【請求項6】
請求項1から5のいずれか一項に記載の排気弁(1)を有する内燃機関(100)。
【請求項7】
内燃機関(100)用の排気弁(1)を処理する方法において、前記排気弁(1)は、上側(7)および端面(5)を有するディスク部分(4)と、前記ディスク部分(4)の前記上側(7)から延びるシャフト部分(3)と、前記ディスク部分(4)の前記上側(7)に位置する弁座領域(6)とを備える、処理方法であって、
少なくとも以下のステップ:
a)前記弁座領域(6)および前記端面(5)を有する前記ディスク部分(4)を提供するステップと、
b)合金を堆積させることによって前記ディスク部分(4)の少なくとも一部に層(8)を形成するステップであって、
前記層(8)は、質量パーセント(%)で、
Cr:32%~50%、
Al:0.5%~10.0%、および
残部として、任意選択の元素、不可避不純物およびNi
を含む、ステップと、
c)前記層(8)を加熱するステップであって、前記層(8)は、少なくとも16時間の持続時間にわたって550~700℃の第1の温度に加熱され、少なくとも1時間の持続時間にわたって750~1000℃の第2の温度に加熱される、ステップと
を含む、処理方法。
【請求項8】
前記形成ステップb)と前記加熱ステップc)との間に熱処理がない、請求項7に記載の処理方法。
【請求項9】
前記第1の温度まで加熱すると、前記層(8)は、ISO-9042:1988規格を使用して定量化した場合に、10%を超えるバスケットウィーブ構造を形成することなくラメラ変態を起こす、請求項7または8に記載の処理方法。
【請求項10】
前記第2の温度まで加熱すると、前記層(8)の350~550HVの硬度が得られる、請求項7から9のいずれか一項に記載の処理方法。
発明の詳細な説明
【技術分野】
【0001】
本発明は、内燃機関の排気弁に関する。本発明はまた、排気弁を有する内燃機関、および内燃機関用の排気弁の弁座領域を処理する方法に関する。
続きを表示(約 2,800 文字)
【背景技術】
【0002】
米国特許出願公開第2016/0215660号明細書には、互いと一体化されたシャフト部分とアンブレラ部分とを含み、NiCrAl系Ni基時効析出合金で作成された、大型船用ディーゼルエンジンの排気弁であって、排気弁は、層状構造を有し、全体として600HV以下の硬度を有し、層状構造は、ピーク機械強度を超えて時効硬化した150nm以上の厚さを有するα-Cr相で形成された層を含む、排気弁が開示されている。米国特許出願公開第2016/0215660号明細書は、高い製造コストを与える一体型弁を製造するための材料の鍛造加工に関することに留意することが重要である。
【先行技術文献】
【特許文献】
【0003】
米国特許出願公開第2016/0215660号明細書
【発明の概要】
【0004】
従来技術において、製造コストを抑えながら、排気弁、特に機械的衝撃および高温の燃焼ガスに耐える排気弁の能力を改善することが依然として問題である。
【0005】
本発明は、内燃機関の排気弁に関する。本発明はまた、排気弁を有する内燃機関、および内燃機関用の排気弁の弁座領域を処理する方法に関する。
【0006】
内燃機関では、高温燃焼ガスは非常に攻撃的である可能性があり、したがって、露出した構成要素は、高度に耐食性の材料である必要がある。高温の燃焼ガスは、特に弁が開閉するときに、高いガス速度で排気弁の弁座を通過する。高温の攻撃的な燃焼ガスならびに機械的負荷に耐えることが可能な排気弁を得るために、排気弁は、必要な機械的特性、すなわち強度および延性も得るために高価なNi基材料で作成される必要がある。最先端の排気弁は、鍛造されたNi-Cr-Al合金で作成されており、アルファ-Crラメラを含む特別な微細構造を通して強度(硬度によって例示される)、延性および耐食性の間の最適なバランスを提供する。これまで、このような排気弁は、最適な硬度、延性および耐食性を得るために材料DSA760に完全に鍛造されてきた。
【0007】
排気弁のシャフト部分は、エンジン内で機能するために特定の強度を有する必要がある。排気弁のディスク部分がシールとしても機能するためには、座部として知られるディスクの部分が十分な硬度を有する必要がある。したがって、既知の排気弁は、シャフト部分およびディスク部分の両方が高い強度および硬度を有するように作成される。しかしながら、脆性破壊のリスクを回避し、その上、座部の冷間圧延を可能にするために、良好な延性を維持しなければならない。例えば、排気弁のディスク部分に層を溶接することによって、排気弁の一部を1つの材料にし、他の部分を別の材料にする試みがなされているが、鍛造されたDSA760材料と同じ魅力的な特性の組み合わせを提供することに成功しておらず、具体的には、溶接された材料の延性ははるかに低い。この理由は、DSA760材料と同様の化学組成である添加材料が、大きな割合のアルファ-Crラメラを含む、鍛造材料と同じ均質な微細構造を持たないためである。一般に、溶接または他の方法で添加された材料は、製造中に高度の偏析(化学元素の不均一な分布)を経験する可能性があり、熱処理中の不均一な反応、および異なる微細構造および機械的特性を有する局所領域を有する不均一な微細構造をもたらすことになる。座部、およびガスに最も曝される領域のみが攻撃的なガスに耐えることが可能な非常に高価な材料で作成されている排気弁を作成しようとする場合、または寿命延長のために鍛造スピンドルに新しい材料を加える場合、既知の熱処理プロセスは、非常に高い温度(溶体化処理)を必要とするか、または不均一な微細構造および不十分な延性をもたらすかのいずれかである。完全な溶体化処理は、コストの観点、および溶接された材料と鍛造された材料との間の希釈にとって望ましくない。特に弁の寿命延長のために、寸法の安定性を確保しながらシャフトの特性に影響を与えることなくディスクを完全に溶体化熱処理することは困難である。また、溶体化処理が実施されたとしても、偏析およびその後の時効硬化処理に対する不均一な反応を排除するには十分ではない場合がある。
【0008】
試験は、750℃を超える温度での既知の熱処理などの直接の熱処理に曝された溶接材料の材料が均質ではないことを示している。図4Aおよび図4Dに示されるように、一部の領域は、Ni基合金の特に延性に有害であることが知られているいわゆるトポロジー的に最密充填(TCP)相の形態に類似するバスケットウィーブ(basket weave)微細構造を有しており、図4Bおよび図4Cに示される他の領域は、内部構造を持たず、最終的に他のものは所望のラメラ構造を有し、各構造は実質的に異なる機械的特性を有する。異なる機械的特性を有する非均質材料の構成要素を有することは、厳しい動的力および温度変動によって負荷がかかるときに熱機械的疲労に曝される排気弁などの構成要素の場合に特に好ましくない。したがって、排気弁の機械的特性にとって、微細構造が均質であり、有害であることが知られている微細構造形態を有する領域が最小限に制限されることが重要である。
【0009】
本発明の目的は、先行技術の上記の欠点および欠点を全体的または部分的に軽減することである。より具体的には、座部などの機械的衝撃に曝されるその領域、および高温燃焼ガス(例えば、座部、鼻および底部)が、排気弁全体を同じ材料で作成する必要なしに、高い延性および高い硬度も有する均質な材料で作成される改善された排気弁を提供することが目的である。
【0010】
上記の目的は、以下の説明から明らかになる多くの他の目的、利点、および特徴と共に、内燃機関の排気弁であって、
全体が1つのモノリシックとして作成されたシャフト部分およびディスク部分を有する排気弁スピンドルであって、ディスク部分は、シャフト部分から離れる方を向く端面と、ディスク部分の上側の弁座領域とを有し、排気弁スピンドルは、ディスク部分の少なくとも一部に層を形成する堆積合金を含み、層(8)は、質量パーセント(%)で、
-Cr:32%~50%、
-Al:0.5%~10.0%、および
-残部として、任意選択の元素、不可避不純物およびNi
を含む、排気弁スピンドルを備え、層は、10%未満のバスケットウィーブ構造およびいくらかのラメラ構造を含む微細構造を有する、内燃機関の排気弁による解決策によって達成される。
(【0011】以降は省略されています)
この特許をJ-PlatPat(特許庁公式サイト)で参照する
関連特許
トヨタ自動車株式会社
計測システム
1か月前
株式会社豊田自動織機
エンジン式産業車両
1か月前
本田技研工業株式会社
排気装置
1か月前
本田技研工業株式会社
排気装置
1か月前
本田技研工業株式会社
排気装置
1か月前
株式会社SUBARU
エンジン制御装置
9日前
株式会社クボタ
多目的車両
1か月前
株式会社クボタ
多目的車両
1か月前
トヨタ自動車株式会社
エンジンシステム
1か月前
トヨタ自動車株式会社
油量判定装置
10日前
トヨタ自動車株式会社
水素エンジン
23日前
トヨタ自動車株式会社
異常診断装置
17日前
マレリ株式会社
消音器
1か月前
三浦工業株式会社
船舶用発電システム
1か月前
トヨタ自動車株式会社
制御装置
1か月前
フタバ産業株式会社
消音器
1か月前
トヨタ自動車株式会社
制御装置
1か月前
フタバ産業株式会社
消音器
1か月前
株式会社アイシン
冷却モジュール
9日前
フタバ産業株式会社
排気系部品
1か月前
日産自動車株式会社
内燃機関
9日前
トヨタ自動車株式会社
内燃機関の制御装置
18日前
トヨタ自動車株式会社
内燃機関の制御装置
23日前
トヨタ自動車株式会社
内燃機関の制御装置
1か月前
株式会社SUBARU
車両
1か月前
株式会社アイシン
弁開閉時期制御装置
1か月前
マツダ株式会社
排気システム
1か月前
マツダ株式会社
排気システム
1か月前
トヨタ自動車株式会社
過給エンジンの制御装置
1か月前
帝人エンジニアリング株式会社
排ガス処理装置
1か月前
三菱重工業株式会社
主蒸気管洗浄方法
1か月前
トヨタ自動車株式会社
内燃機関の異常検出装置
1か月前
株式会社豊田自動織機
排気管
1か月前
ヤンマーホールディングス株式会社
エンジン装置
1か月前
三菱重工業株式会社
メタン酸化触媒装置
1か月前
トヨタ自動車株式会社
車両のエンジンルーム構造
1か月前
続きを見る
他の特許を見る