TOP
|
特許
|
意匠
|
商標
特許ウォッチ
Twitter
他の特許を見る
公開番号
2025154927
公報種別
公開特許公報(A)
公開日
2025-10-10
出願番号
2024058227
出願日
2024-03-29
発明の名称
熱電変換モジュール
出願人
リンテック株式会社
代理人
弁理士法人大谷特許事務所
主分類
H10N
10/17 20230101AFI20251002BHJP()
要約
【課題】低コストかつ設置容積の小さい熱電変換モジュールを提供する。
【解決手段】離間したP型熱電素子とN型熱電素子とが交互に複数配置された熱電素子層を有し、前記熱電素子層が、前記熱電素子層を介して互いに対向して交互に配置された第1共通電極と第2共通電極とに電気的に直列接続となるように配置され、
前記第1共通電極及び前記第2共通電極が配置される少なくとも一方の面に粘着剤層が積層され、前記粘着剤層は、前記第1共通電極及び前記第2共通電極が配置される少なくとも一方の面を覆うとともに、前記P型熱電素子と前記N型熱電素子との間の領域からなる空隙部内の、前記P型熱電素子及び前記N型熱電素の厚さ方向の一部又はすべてを充たす、熱電変換モジュール。
【選択図】図1
特許請求の範囲
【請求項1】
離間したP型熱電素子とN型熱電素子とが交互に複数配置された熱電素子層を有し、前記熱電素子層が、前記熱電素子層を介して互いに対向して交互に配置された第1共通電極と第2共通電極とに電気的に直列接続となるように配置され、
前記第1共通電極及び前記第2共通電極が配置される少なくとも一方の面に粘着剤層が積層され、前記粘着剤層は、前記第1共通電極及び前記第2共通電極が配置される少なくとも一方の面を覆うとともに、前記P型熱電素子と前記N型熱電素子との間の領域からなる空隙部内の、前記P型熱電素子及び前記N型熱電素の厚さ方向の一部又はすべてを充たす、熱電変換モジュール。
続きを表示(約 480 文字)
【請求項2】
前記粘着層が、前記第1共通電極及び前記第2共通電極が配置される両方の面を覆う、請求項1に記載の熱電変換モジュール。
【請求項3】
前記粘着剤層の、前記第1共通電極側の面とは反対側の面、及び前記第2共通電極側の面とは反対側の面の少なくとも一つの面が、均一な平面を有している、請求項1又は2に記載の熱電変換モジュール。
【請求項4】
前記粘着剤層における第1共通電極に接する面から反対側の面までの厚さ及び第2共通電極に接する面から反対側の面までの厚さの少なくとも一方が、100μm以下である、請求項1又は2に記載の熱電変換モジュール。
【請求項5】
前記粘着剤層の23℃における貯蔵弾性率(G’)が0.001~100MPaである、請求項1又は2に記載の熱電変換モジュール。
【請求項6】
前記粘着剤層における前記第1共通電極と接する面とは反対側の面及び前記第2共通電極と接する面とは反対側の面の少なくとも一方の面に、剥離シートを有する、請求項1又は2に記載の熱電変換モジュール。
発明の詳細な説明
【技術分野】
【0001】
本発明は、熱電変換モジュールに関する。
続きを表示(約 2,500 文字)
【背景技術】
【0002】
従来から、エネルギーの有効利用手段の一つとして、ゼーベック効果やペルチェ効果などの熱電効果を有する熱電変換モジュールにより、熱エネルギーと電気エネルギーとを直接相互変換するようにした装置がある。
【0003】
前記熱電変換モジュールとして、いわゆるπ型の熱電変換素子の使用が知られている。
π型の熱電変換素子は、互いに離間するー対の電極を基板上に設け、例えば、―方の電極上にP型熱電素子の下面を、他方の電極上にN型熱電素子の下面を、同じく互いに離間して設け、P型熱電素子及びN型熱電素子のそれぞれの上面同士を対向する基板上の電極に接続する構成を基本単位とし、通常、当該基本単位を両基板内で複数、電気的には直列接続に、熱的には並列接続になるように構成されている。
特許文献1、2には、前述したπ型の熱電変換素子を用いた熱電変換モジュールが開示されている。
【先行技術文献】
【特許文献】
【0004】
国際公開2022/092177号公報
国際公開2017/074003号公報
【発明の概要】
【発明が解決しようとする課題】
【0005】
特許文献1の熱電変換モジュールは、交互に離間したP型熱電変換材料のチップとN型熱電変換材料のチップとからなる空隙を充填するように構成された絶縁体を含む一体化物を構成することにより、従来の支持体としての熱抵抗の高い支持基材を必要としない構成としている。しかし、当該熱電変換モジュールの使用を考えた場合、熱源や放熱部材と別途、接合処置を行う必要があり、設置品の大きさやコストの点で改善の余地があった。
特許文献2は、熱電材料カラムアレイ間の空隙を発泡体で満たすことで、柔軟性に優れ、かつ、熱電性能に優れる熱電変換モジュールを開示する。しかし、特許文献2においても特許文献1と同様な問題があった。
【0006】
本発明は、このような実情に鑑みてなされたものであり、低コストかつ設置容積の小さい熱電変換モジュールを提供することを課題とする。
【課題を解決するための手段】
【0007】
本発明者らは、上記課題を解決すべく鋭意検討を重ねた結果、π型熱電変換素子構成を有する熱電変換モジュールにおいて、第1共通電極及び第2共通電極が配置される少なくとも一方の面に粘着剤層が積層され、第1共通電極及び第2共通電極が配置される少なくとも一方の面を覆うとともに、P型熱電素子とN型熱電素子との間の領域からなる空隙部内の、P型熱電素子及びN型熱電素子の厚さ方向の一部又はすべてを充たす構成とすることで、更なる構成の簡略化を図り、本発明を完成した。
すなわち、本発明は、以下の[1]~[6]を提供するものである。
[1]離間したP型熱電素子とN型熱電素子とが交互に複数配置された熱電素子層を有し、前記熱電素子層が、前記熱電素子層を介して互いに対向して交互に配置された第1共通電極と第2共通電極とに電気的に直列接続となるように配置され、前記第1共通電極及び前記第2共通電極が配置される少なくとも一方の面に粘着剤層が積層され、前記粘着剤層は、前記第1共通電極及び前記第2共通電極が配置される少なくとも一方の面を覆うとともに、前記P型熱電素子と前記N型熱電素子との間の領域からなる空隙部内の、前記P型熱電素子及び前記N型熱電素の厚さ方向の一部又はすべてを充たす、熱電変換モジュール。
[2]前記粘着層が、前記第1共通電極及び前記第2共通電極が配置される両方の面を覆う、上記[1]に記載の熱電変換モジュール。
[3]前記粘着剤層の、前記第1共通電極側の面とは反対側の面、及び前記第2共通電極側の面とは反対側の面の少なくとも一つの面が、均一な平面を有している、上記[1]又は[2]に記載の熱電変換モジュール。
[4]前記粘着剤層における第1共通電極に接する面から反対側の面までの厚さ及び第2共通電極に接する面から反対側の面までの厚さの少なくとも一方が、100μm以下である、上記[1]~[3]のいずれかに記載の熱電変換モジュール。
[5]前記粘着剤層の23℃における貯蔵弾性率(G’)が0.001~100MPaである、上記[1]~[4]のいずれかに記載の熱電変換モジュール。
[6]前記粘着剤層における前記第1共通電極と接する面とは反対側の面及び前記第2共通電極と接する面とは反対側の面の少なくとも一方の面に、剥離シートを有する、上記[1]~[5]のいずれかに記載の熱電変換モジュール。
【発明の効果】
【0008】
本発明によれば、低コストかつ設置容積の小さい熱電変換モジュールを提供することができる。
【図面の簡単な説明】
【0009】
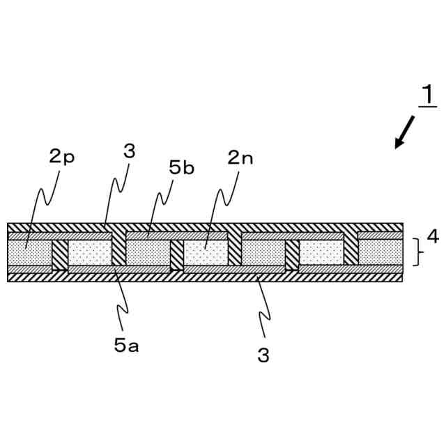
本発明の実施例1の熱電変換モジュールの実施形態(構成A)を示す断面構成図である。
【発明を実施するための形態】
【0010】
[熱電変換モジュール]
本発明の熱電変換モジュールは、離間したP型熱電素子とN型熱電素子とが交互に複数配置された熱電素子層を有し、前記熱電素子層が、前記熱電素子層を介して互いに対向して交互に配置された第1共通電極と第2共通電極とに電気的に直列接続となるように配置され、前記第1共通電極及び前記第2共通電極が配置される少なくとも一方の面に粘着剤層が積層され、前記粘着剤層は、前記第1共通電極及び前記第2共通電極が配置される少なくとも一方の面を覆うとともに、前記P型熱電素子と前記N型熱電素子との間の領域からなる空隙部内の、前記P型熱電素子及び前記N型熱電素子の厚さ方向の一部又はすべてを充たすことを特徴としている。これにより、支持基材を不要とすると同時に、熱抵抗が低減されることにより熱電性能が向上された熱電変換モジュールが実現できる。
(【0011】以降は省略されています)
この特許をJ-PlatPat(特許庁公式サイト)で参照する
関連特許
リンテック株式会社
剥離シート
2日前
リンテック株式会社
保持装置および保持方法
4日前
個人
半導体装置
18日前
エイブリック株式会社
半導体装置
24日前
東レ株式会社
太陽電池モジュール
18日前
富士電機株式会社
半導体装置
27日前
エイブリック株式会社
縦型ホール素子
12日前
エイブリック株式会社
縦型ホール素子
12日前
富士通株式会社
半導体装置
17日前
ローム株式会社
抵抗チップ
3日前
ローム株式会社
半導体装置
19日前
三菱電機株式会社
半導体装置
17日前
富士電機株式会社
半導体装置
9日前
株式会社半導体エネルギー研究所
表示装置
12日前
日亜化学工業株式会社
発光装置
16日前
日亜化学工業株式会社
発光素子
25日前
TDK株式会社
圧電素子
17日前
ミツミ電機株式会社
半導体装置
24日前
日亜化学工業株式会社
発光素子
17日前
ローム株式会社
窒化物半導体装置
3日前
デクセリアルズ株式会社
受光装置
23日前
サンケン電気株式会社
半導体装置
23日前
ローム株式会社
窒化物半導体装置
12日前
株式会社東芝
熱電変換装置
25日前
富士電機株式会社
半導体装置の製造方法
11日前
ローム株式会社
半導体装置
2日前
TDK株式会社
光検知装置
24日前
ローム株式会社
TVSダイオード
25日前
ローム株式会社
TVSダイオード
25日前
ローム株式会社
半導体装置
25日前
ローム株式会社
半導体装置
4日前
沖電気工業株式会社
発光装置及び表示装置
18日前
キオクシア株式会社
記憶装置
23日前
株式会社カネカ
太陽電池モジュール
16日前
大日本印刷株式会社
太陽電池
5日前
株式会社カネカ
太陽電池モジュール
25日前
続きを見る
他の特許を見る