TOP
|
特許
|
意匠
|
商標
特許ウォッチ
Twitter
他の特許を見る
公開番号
2025154199
公報種別
公開特許公報(A)
公開日
2025-10-10
出願番号
2024057072
出願日
2024-03-29
発明の名称
登録情報更新方法および登録情報更新装置
出願人
パナソニックIPマネジメント株式会社
代理人
弁理士法人栄光事務所
主分類
G10L
17/00 20130101AFI20251002BHJP(楽器;音響)
要約
【課題】音声認証に用いられるユーザ情報の管理を支援し、音声認証精度の低下を抑制する。
【解決手段】登録情報更新方法は、話者の第1の発話音声信号を取得し、第1の発話音声信号を音声認識して、話者の第1の発話内容に含まれる話者情報と第1の登録情報とが一致しないと判定した場合、話者に第1の登録情報と異なる第2の登録情報に関して発話させた第2の発話音声信号を取得し、話者の第2の発話内容に含まれる話者情報と第2の登録情報とが一致したと判定した場合、登録話者に関する複数の登録情報を登録したデータベースに登録されている第1の登録情報を第1の発話内容に含まれる話者情報に修正する。
【選択図】図6
特許請求の範囲
【請求項1】
少なくとも1つのコンピュータが行う登録情報の更新方法であって、
登録話者に関する複数の登録情報を登録したデータベースのうち話者の認証に用いられる第1の登録情報を選定し、
前記話者に前記第1の登録情報に関して発話させた第1の発話音声信号を取得し、
前記第1の発話音声信号を音声認識して、前記話者の第1の発話内容を取得し、
前記第1の発話内容に含まれる話者情報と前記第1の登録情報とが一致しないと判定した場合、前記第1の登録情報と異なる第2の登録情報を選定して、前記話者に前記第2の登録情報に関して発話させた第2の発話音声信号を取得し、
前記第2の発話音声信号を音声認識して、前記話者の第2の発話内容を取得し、
前記第2の発話内容に含まれる話者情報と前記第2の登録情報とが一致したと判定した場合、前記データベースに登録されている前記第1の登録情報を前記第1の発話内容に含まれる話者情報に修正する、
登録情報の更新方法。
続きを表示(約 1,000 文字)
【請求項2】
前記データベースは、前記登録話者の前記複数の登録情報と、前記登録話者の音声の特徴量とを対応付けて登録し、
前記第1の発話音声信号に基づく前記話者の第1の特徴量を抽出し、
前記第1の特徴量が前記データベースに登録されているいずれか登録話者の特徴量と照合すると判定した場合、前記第2の登録情報を前記話者に発話させる、
請求項1に記載の登録情報の更新方法。
【請求項3】
前記第1の特徴量が前記登録話者の特徴量と照合すると判定した場合、前記第2の発話音声信号に基づく前記話者の第2の特徴量を抽出し、
前記第2の特徴量と、前記登録話者の特徴量とが照合すると判定した場合、前記第1の登録情報を前記話者情報に修正する、
請求項2に記載の登録情報の更新方法。
【請求項4】
前記第1の登録情報は、前記データベースに登録された後に前記登録話者により変更され得る可変情報である、
請求項1に記載の登録情報の更新方法。
【請求項5】
前記第2の登録情報は、前記データベースに登録された後に前記登録話者により変更されない不変情報である、
請求項1に記載の登録情報の更新方法。
【請求項6】
登録話者に関する複数の登録情報を登録したデータベースのうち話者の認証に用いられる第1の登録情報を選定する選定部と、
前記話者に前記第1の登録情報に関して発話させた第1の発話音声信号を取得する取得部と、
前記第1の発話音声信号を音声認識して、前記話者の第1の発話内容を取得する音声認識部と、
前記第1の発話内容に含まれる話者情報と前記第1の登録情報とが一致するか否かを判定する認証部と、
前記選定部は、前記認証部が前記第1の発話内容に含まれる話者情報と前記第1の登録情報とが一致しないと判定した場合、前記第1の登録情報と異なる第2の登録情報を選定し、
前記取得部は、前記話者に前記第2の登録情報に関して発話させた第2の発話音声信号を取得し、
前記音声認識部は、前記第2の発話音声信号を音声認識して、前記話者の第2の発話内容を取得し、
前記認証部は、前記第2の発話内容に含まれる話者情報と前記第2の登録情報とが一致したと判定した場合、前記データベースに登録されている前記第1の登録情報を前記第1の発話内容に含まれる話者情報に修正する、
登録情報更新装置。
発明の詳細な説明
【技術分野】
【0001】
本開示は、登録情報更新方法および登録情報更新装置に関する。
続きを表示(約 2,100 文字)
【背景技術】
【0002】
特許文献1には、音声を用いた認証方法とは異なる他の認証方法による第1認証において識別された第1利用者の登録された第1の音声を取得し、操作において第2利用者が発した第2の音声を取得し、第1の音声の特徴と第2の音声の特徴とを比較して、第2利用者が第1認証において識別された第1利用者であることを確認する第2認証を行い、第2認証に成功すると、第2の音声に関連付けられた操作に応じて処理を実行する情報処理装置が開示されている。
【先行技術文献】
【特許文献】
【0003】
特開2022-7620号公報
【発明の概要】
【発明が解決しようとする課題】
【0004】
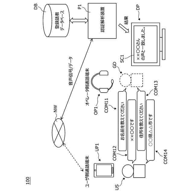
従来、音声認証において自由発話による認証を実行する場合、登録時に発話した内容(音素)と、認証時に発話した内容(音素)とが異なり、登録時に発話音声と認証時の発話音声のそれぞれから抽出された特徴量が類似せず、認証精度が低下する可能性があった。また、ユーザに自由発話を要求する場合、ユーザは、どのような発話内容で発話すればよいかを判断するのが困難であった。そこで、ユーザにたくさん発話させることで、音声認証に必要な音素を収集する方法があるが、認証に要する時間が長くなるという課題があった。
【0005】
また、音声認証は、利用者の音声を録音することで第三者によるなりすましが容易である。そこで、第三者によるなりすましを抑制する音声認証方法が要望されている。特許文献1には、他の認証方法と音声認証とを組み合わせることで第三者によるなりすましを抑制する方法が開示されている。
【0006】
ところで、物理的な認証道具(特許文献1では、ICカード)を用いずに第三者によるなりすましを抑制する音声認証方法として、音声の特徴量に基づく認証に加えて、事前に利用者情報(例えば、利用者の氏名、生年月日、住所、あるいは電話番号等)を登録し、音声認証時の音声を音声認識し、音声認識結果が登録された利用者情報に一致するか否かを判定する音声認証方法がある。
【0007】
しかし、音声認証において、発話内容と事前に登録された利用者情報(例えば、利用者の氏名、生年月日、住所、あるいは電話番号等)とを照合する場合、登録時と認証時とで実際の利用者情報が変更されている可能性がある。つまり、利用者は、現在の利用者情報(例えば、住所)を発話しても、登録されている利用者情報(例えば、住所)が異なるため、音声認証に失敗する可能性がある。
【0008】
本開示は、上述した従来の状況に鑑みて案出され、音声認証に用いられるユーザ情報の管理を支援し、音声認証精度の低下を抑制する登録情報更新方法および登録情報更新装置を提供することを目的とする。
【課題を解決するための手段】
【0009】
本開示は、少なくとも1つのコンピュータが行う登録情報の更新方法であって、登録話者に関する複数の登録情報を登録したデータベースのうち話者の認証に用いられる第1の登録情報を選定し、前記話者に前記第1の登録情報に関して発話させた第1の発話音声信号を取得し、前記第1の発話音声信号を音声認識して、前記話者の第1の発話内容を取得し、前記第1の発話内容に含まれる話者情報と前記第1の登録情報とが一致しないと判定した場合、前記第1の登録情報と異なる第2の登録情報を選定して、前記話者に前記第2の登録情報に関して発話させた第2の発話音声信号を取得し、前記第2の発話音声信号を音声認識して、前記話者の第2の発話内容を取得し、前記第2の発話内容に含まれる話者情報と前記第2の登録情報とが一致したと判定した場合、前記データベースに登録されている前記第1の登録情報を前記第1の発話内容に含まれる話者情報に修正する、登録情報の更新方法を提供する。
【0010】
また、本開示は、登録話者に関する複数の登録情報を登録したデータベースのうち話者の認証に用いられる第1の登録情報を選定する選定部と、前記話者に前記第1の登録情報に関して発話させた第1の発話音声信号を取得する取得部と、前記第1の発話音声信号を音声認識して、前記話者の第1の発話内容を取得する音声認識部と、前記第1の発話内容に含まれる話者情報と前記第1の登録情報とが一致するか否かを判定する認証部と、前記選定部は、前記認証部が前記第1の発話内容に含まれる話者情報と前記第1の登録情報とが一致しないと判定した場合、前記第1の登録情報と異なる第2の登録情報を選定し、前記取得部は、前記話者に前記第2の登録情報に関して発話させた第2の発話音声信号を取得し、前記音声認識部は、前記第2の発話音声信号を音声認識して、前記話者の第2の発話内容を取得し、前記認証部は、前記第2の発話内容に含まれる話者情報と前記第2の登録情報とが一致したと判定した場合、前記データベースに登録されている前記第1の登録情報を前記第1の発話内容に含まれる話者情報に修正する、登録情報更新装置を提供する。
【発明の効果】
(【0011】以降は省略されています)
この特許をJ-PlatPat(特許庁公式サイト)で参照する
関連特許
個人
木管楽器
8日前
本田技研工業株式会社
車室環境制御装置
12日前
積水樹脂株式会社
吸音シート
12日前
株式会社第一興商
カラオケ装置
12日前
株式会社第一興商
カラオケ装置
6日前
カシオ計算機株式会社
発音装置、発音方法及びプログラム
1日前
トヨタ自動車株式会社
判定装置
1日前
日本軽金属株式会社
遮音壁
6日前
日本電気株式会社
放送用システムおよび字幕作成方法
8日前
シャープ株式会社
電子機器および電子機器の制御方法
6日前
ブラザー工業株式会社
カラオケ装置及びカラオケプログラム
6日前
カシオ計算機株式会社
電子鍵盤楽器
12日前
ブラザー工業株式会社
音声録音装置、及び、音声録音用プログラム
5日前
大建工業株式会社
吸音体及び音環境調整構造
1日前
ブラザー工業株式会社
カラオケ用プログラム、及び、カラオケ装置
5日前
株式会社JVCケンウッド
収音装置、収音方法、およびプログラム
1日前
カシオ計算機株式会社
電子楽器、電子楽器の制御方法及びプログラム
12日前
株式会社河合楽器製作所
鍵盤楽器の鍵盤装置
7日前
株式会社河合楽器製作所
鍵盤楽器の鍵盤装置
7日前
トヨタ自動車株式会社
運転者認知機能改善システム
12日前
株式会社リコー
対話装置、対話システム、対話方法及びプログラム
5日前
株式会社NTTドコモ
情報処理装置及び情報処理方法
6日前
株式会社河合楽器製作所
鍵盤楽器の楽音制御方法
7日前
株式会社河合楽器製作所
鍵盤楽器の楽音制御方法
7日前
株式会社河合楽器製作所
鍵盤楽器の楽音制御装置
7日前
カシオ計算機株式会社
演奏装置、方法およびプログラム
13日前
大阪瓦斯株式会社
音声情報出力システムおよび音声情報出力装置
6日前
株式会社日立製作所
ノイズ低減方法、装置、電子機器及び可読媒体
13日前
本田技研工業株式会社
能動型振動騒音低減装置
6日前
本田技研工業株式会社
能動型振動騒音低減装置
6日前
本田技研工業株式会社
能動型振動騒音制御装置
5日前
株式会社プレシジョン
プログラム、情報処理装置及び方法
12日前
本田技研工業株式会社
能動型振動騒音制御装置
5日前
カシオ計算機株式会社
情報処理装置、方法およびプログラム
1日前
カシオ計算機株式会社
情報処理装置、方法およびプログラム
12日前
株式会社クラウン・パッケージ
音発生具及び音発生具を形成するブランクシート
5日前
続きを見る
他の特許を見る