TOP
|
特許
|
意匠
|
商標
特許ウォッチ
Twitter
他の特許を見る
10個以上の画像は省略されています。
公開番号
2025153495
公報種別
公開特許公報(A)
公開日
2025-10-10
出願番号
2024056007
出願日
2024-03-29
発明の名称
信号生成回路、スイッチング制御回路、スイッチング電源装置、及び車両
出願人
ローム株式会社
代理人
弁理士法人 佐野特許事務所
主分類
H02M
3/00 20060101AFI20251002BHJP(電力の発電,変換,配電)
要約
【課題】ノイズを広い帯域に拡散するとともに、特定の周波数帯域におけるノイズを抑制することができる信号生成回路を提供する。
【解決手段】信号生成回路(X2)は、所定の電圧値範囲で増加と減少とを周期的に繰り返し且つ前記所定の電圧値範囲の一部である特定範囲をスキップするデジタル電圧(VD)を生成するように構成された第1生成回路(1)と、前記デジタル電圧をアナログ電圧(VA)に変換するように構成された変換回路(2)と、前記アナログ電圧に基づき、前記アナログ電圧の値に応じた周波数の信号(S1)を生成するように構成された第2生成回路(3)と、を備える。
【選択図】図1
特許請求の範囲
【請求項1】
所定の電圧値範囲で増加と減少とを周期的に繰り返し且つ前記所定の電圧値範囲の一部である特定範囲をスキップするデジタル電圧を生成するように構成された第1生成回路と、
前記デジタル電圧をアナログ電圧に変換するように構成された変換回路と、
前記アナログ電圧に基づき、前記アナログ電圧の値に応じた周波数の信号を生成するように構成された第2生成回路と、
を備える、信号生成回路。
続きを表示(約 510 文字)
【請求項2】
前記デジタル電圧の各ステップの時間的長さは一定である、請求項1に記載の信号生成回路。
【請求項3】
前記デジタル電圧のスキップ直前及びスキップ直後の少なくとも一方のステップである第1ステップの時間的長さは、前記デジタル電圧の前記第1ステップ以外のステップである第2ステップの時間的長さより長い、請求項1に記載の信号生成回路。
【請求項4】
前記第1生成回路は、前記特定範囲を変更可能に構成されている、請求項1に記載の信号生成回路。
【請求項5】
請求項1~4のいずれか一項に記載の前記信号生成回路を備え、
前記信号に基づきスイッチング素子をスイッチングさせるように構成されているスイッチング制御回路。
【請求項6】
請求項5に記載のスイッチング制御回路と、
前記スイッチング素子と、
を備え、
前記スイッチング素子のスイッチングにより入力電圧から出力電圧を生成するように構成されている、スイッチング電源装置。
【請求項7】
請求項6に記載のスイッチング電源装置を備える、車両。
発明の詳細な説明
【技術分野】
【0001】
本開示は、信号生成回路、スイッチング制御回路、スイッチング電源装置、及び車両に関する。
続きを表示(約 1,300 文字)
【背景技術】
【0002】
回路で用いられる信号の周波数増大はノイズ増大を招くことが多い。例えば、スイッチング電源装置において、回路の小型化等を目的としてスイッチング周波数を高めたい場合があるが、スイッチング周波数の増大は伝導及び放射ノイズの増大を招く。
【0003】
ノイズの影響を抑制する技術としてスペクトラム拡散技術がある(例えば特許文献1参照)。スペクトラム拡散技術によりノイズが広い帯域に拡散され、実質的なノイズの影響を抑制することが可能である。
【先行技術文献】
【特許文献】
【0004】
国際公開第2023/286459号
【0005】
[概要]
しかしながら、特定の周波数帯域に対する許容ノイズレベルが厳しい場合、スペクトラム拡散技術によりノイズが広い帯域に拡散されることで、特定の周波数帯域においてノイズが許容ノイズレベルより大きくなってしまうおそれがある。
【0006】
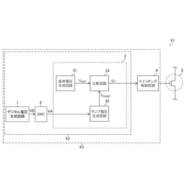
本開示に係る信号生成回路は、所定の電圧値範囲で増加と減少とを周期的に繰り返し且つ前記所定の電圧値範囲の一部である特定範囲をスキップするデジタル電圧を生成するように構成された第1生成回路と、前記デジタル電圧をアナログ電圧に変換するように構成された変換回路と、前記アナログ電圧に基づき、前記アナログ電圧の値に応じた周波数の信号を生成するように構成された第2生成回路と、を備える。
【0007】
本開示に係るスイッチング制御回路は、上記構成の信号生成回路を備え、前記信号に基づきスイッチング素子をスイッチングさせるように構成されている。
【0008】
本開示に係るスイッチング電源装置は、上記構成のスイッチング制御回路と、前記スイッチング素子と、を備え、前記スイッチング素子のスイッチングにより入力電圧から出力電圧を生成するように構成されている。
【0009】
本開示に係る車両は、上記構成のスイッチング電源装置を備える。
【図面の簡単な説明】
【0010】
図1は、本開示の実施形態に係るスイッチング装置の構成図である。
図2は、第1パターンにおける複数の電圧及び複数の信号の関係図である。
図3は第2パターンにおける複数の電圧及び複数の信号の関係図である。
図4は、第1参考例に係るアナログ電圧の波形を示す図である。
図5は、第2参考例に係るアナログ電圧の波形を示す図である。
図6は、第1参考例及び第2参考例に係るノイズの周波数スペクトルを示す図である。
図7は、第1実施例に係るアナログ電圧の波形を示す図である。
図8は、第2実施例に係るスイッチングノイズの周波数スペクトルを示す図である。
図9は、第2実施例に係るアナログ電圧の波形を示す図である。
図10は、本開示の実施形態に係るスイッチング電源装置の構成図である。
図11は、本開示の実施形態に係る車両の外観斜視図である。
(【0011】以降は省略されています)
この特許をJ-PlatPat(特許庁公式サイト)で参照する
関連特許
ローム株式会社
電源装置
1か月前
ローム株式会社
光センサ
1か月前
ローム株式会社
半導体装置
1か月前
ローム株式会社
半導体装置
22日前
ローム株式会社
半導体装置
1か月前
ローム株式会社
半導体装置
1か月前
ローム株式会社
半導体装置
1か月前
ローム株式会社
半導体装置
1か月前
ローム株式会社
半導体装置
24日前
ローム株式会社
半導体装置
24日前
ローム株式会社
半導体装置
23日前
ローム株式会社
抵抗チップ
23日前
ローム株式会社
半導体装置
22日前
ローム株式会社
半導体装置
8日前
ローム株式会社
半導体装置
8日前
ローム株式会社
半導体装置
8日前
ローム株式会社
半導体装置
3日前
ローム株式会社
半導体装置
3日前
ローム株式会社
電源制御装置
3日前
ローム株式会社
信号伝達装置
3日前
ローム株式会社
半導体集積回路
17日前
ローム株式会社
窒化物半導体装置
23日前
ローム株式会社
自己診断システム
25日前
ローム株式会社
半導体パッケージ
23日前
ローム株式会社
窒化物半導体装置
1か月前
ローム株式会社
半導体メモリ装置
10日前
ローム株式会社
モータドライバ回路
3日前
ローム株式会社
検証装置及び検証方法
1か月前
ローム株式会社
半導体装置及び補正方法
1か月前
ローム株式会社
半導体装置、電子機器、車両
17日前
ローム株式会社
半導体装置、電子機器、車両
17日前
ローム株式会社
信号伝達装置、電子機器、車両
1か月前
ローム株式会社
信号受信装置、IC及び電気機器
1日前
ローム株式会社
半導体装置および半導体装置の製造方法
8日前
ローム株式会社
電圧電流変換回路および半導体集積回路
17日前
ローム株式会社
パルス幅変調回路およびモータ駆動装置
17日前
続きを見る
他の特許を見る