TOP
|
特許
|
意匠
|
商標
特許ウォッチ
Twitter
他の特許を見る
公開番号
2025153152
公報種別
公開特許公報(A)
公開日
2025-10-10
出願番号
2024055471
出願日
2024-03-29
発明の名称
液体燃料の製造方法
出願人
本田技研工業株式会社
代理人
個人
,
個人
,
個人
主分類
C10G
2/00 20060101AFI20251002BHJP(石油,ガスまたはコークス工業;一酸化炭素を含有する工業ガス;燃料;潤滑剤;でい炭)
要約
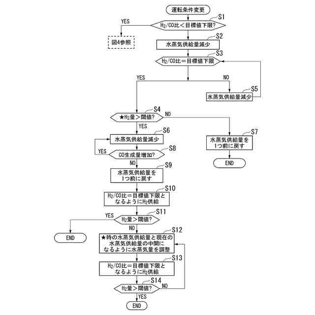
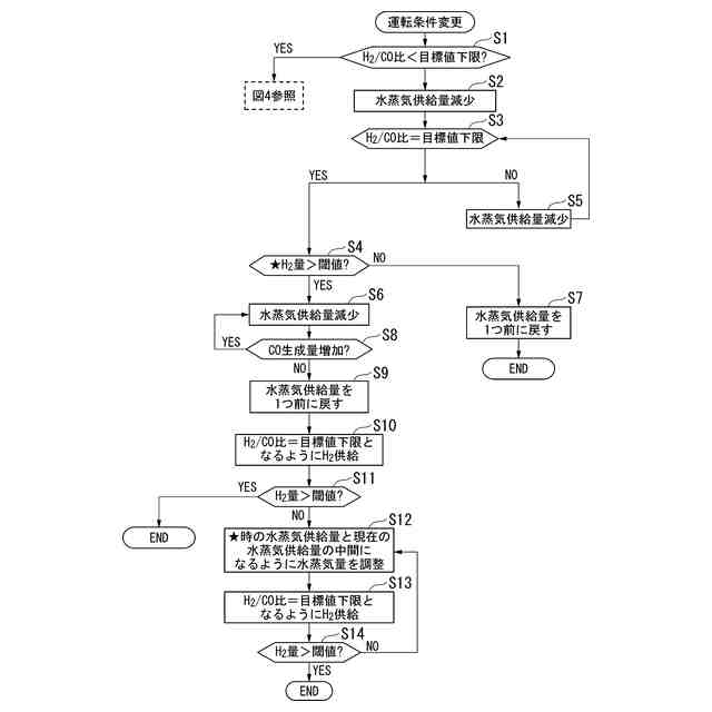
【課題】システム全体で効率化を図れる液体燃料の製造方法の提供。
【解決手段】水素在庫量を確認する水素在庫量確認工程と、バイオマス原料から合成ガスを生成するガス化工程と、再生可能エネルギーの電力で水から水素を生成する電解工程と、ガス化工程で生成された合成ガス及び電解工程で生成された水素を原料にして液体燃料を製造する液体燃料製造工程とを有し、液体燃料製造工程においてH
2
/CO比が目標下限値未満でない場合に水蒸気供給量を減少させた後、H
2
/CO比が目標下限値以下となった場合に水素在庫量を判定し、水素在庫がない場合に、水蒸気供給量を1つ前に戻し、水素在庫がある場合に、一酸化炭素生成量が増加しなくなるまで水蒸気供給量を減少させ、一酸化炭素が増加しなくなった場合に、水蒸気供給量を1つ前に戻し、H
2
/CO比が目標値下限と等しくなるように水素を供給し水素在庫を確認する、水素在庫を確認する液体燃料の製造方法。
【選択図】図2
特許請求の範囲
【請求項1】
バイオマス原料から液体燃料を製造する液体燃料の製造方法であって、
水素在庫量を確認する水素在庫量確認工程と、
バイオマス原料から合成ガスを生成するガス化工程と、
再生可能エネルギーを用いて発電した電力によって水から水素を生成する電解工程と、
前記ガス化工程によって生成された合成ガス、および前記電解工程によって生成された水素を原料にして、液体燃料を製造する液体燃料製造工程と、を有し、
前記液体燃料製造工程において、H
2
/CO比が目標下限値未満でない場合に水蒸気供給量を減少させた後、H
2
/CO比が目標下限値以下となった場合に、水素在庫量を判定し、
水素在庫がない場合に、水蒸気供給量を1つ前に戻し、
水素在庫がある場合に、一酸化炭素生成量が増加しなくなるまで水蒸気供給量を減少させ、一酸化炭素が増加しなくなった場合に、水蒸気供給量を1つ前に戻し、H
2
/CO比が目標値下限と等しくなるように水素を供給し、水素在庫を確認する、液体燃料の製造方法。
続きを表示(約 990 文字)
【請求項2】
前記液体燃料製造工程において、水素在庫がない場合、水蒸気供給量を、当初の水蒸気供給量と現在の水蒸気供給量の中間になるように調整し、H
2
/CO比が目標下限値と等しくなるように水素を供給し、水素在庫ありとなるまで、水蒸気供給量の調整を繰り返す、請求項1に記載の液体燃料の製造方法。
【請求項3】
バイオマス原料から液体燃料を製造する液体燃料の製造方法であって、
水素在庫量を確認する水素在庫量確認工程と、
バイオマス原料から合成ガスを生成するガス化工程と、
再生可能エネルギーを用いて発電した電力によって水から水素を生成する電解工程と、
前記ガス化工程によって生成された合成ガス、および前記電解工程によって生成された水素を原料にして、液体燃料を製造する液体燃料製造工程と、を有し、
前記液体燃料製造工程において、H
2
/CO比が目標下限値未満である場合に水蒸気供給量を増加させ、一酸化炭素生成量が増加した場合に、一酸化炭素生成量が増加しなくなるまで水蒸気供給量の増加を繰り返し、一酸化炭素生成量が増加しない場合に、水蒸気供給量を減少させて、一酸化炭素生成量が増加しない場合に水蒸気供給量を1つ前に戻し、H
2
/CO比が目標下限値と等しくなるように水素を供給し、水素在庫量を確認する、液体燃料の製造方法。
【請求項4】
前記液体燃料製造工程において、水素在庫がない場合、水蒸気供給量を、当初の水蒸気供給量と現在の水蒸気供給量の中間になるように調整し、H
2
/CO比が目標下限値と等しくなるように水素を供給し、水素供給量が水素生成量未満となるまで、水蒸気供給量の調整を繰り返す、請求項3に記載の液体燃料の製造方法。
【請求項5】
前記液体燃料製造工程において、一酸化炭素生成量が増加しない場合に、水蒸気供給量を減少させて、一酸化炭素生成量が増加した場合に、H
2
/CO比が目標下限値と等しくなるように水素を供給し、水素在庫量ありとならない場合に水蒸気供給量を1つ前に戻し、H
2
/CO比が目標下限値と等しくなるように水素を供給する、請求項3に記載の液体燃料の製造方法。
発明の詳細な説明
【技術分野】
【0001】
本発明は、液体燃料の製造方法に関する。
続きを表示(約 1,800 文字)
【背景技術】
【0002】
近年、化石燃料の代替として、再生可能エネルギーによって発電した電力によって生成した水素とバイオマスや工場から排出される二酸化炭素等の炭素源とを原材料とした電気合成燃料が注目されている。
【0003】
バイオマスを原料としてメタノールやガソリン等の液体燃料を製造する一般的な手順は以下の通りである。すなわち、所定の前処理を経たバイオマス原料をガス化炉内で水素、酸素、水蒸気と共にガス化させ、水素及び一酸化炭素を含む合成ガスを生成するガス化工程と、生成された合成ガスを洗浄しタールを取り除く洗浄工程と、洗浄工程を経た合成ガスのH
2
CO比を製造しようとする液体燃料に応じた目標比に調整するH
2
/CO比調整工程と、H
2
/CO比調整工程を経た合成ガスから硫黄成分を取り除く脱硫工程と、脱硫工程を経た合成ガスから液体燃料を製造する燃料製造工程と、を経てバイオマス原料から液体燃料が製造される。
【先行技術文献】
【特許文献】
【0004】
特開2021-147504号公報
【発明の概要】
【発明が解決しようとする課題】
【0005】
ガス化工程では、バイオマスが熱分解して、水素や一酸化炭素、二酸化炭素、メタン等を含む混合ガスが発生する。熱分解で発生するガスのうち、水素と一酸化炭素が液体燃料の原料となる。水素と一酸化炭素から液体燃料を造る場合、H
2
/CO比という指標を適切な値に制御する必要がある。H
2
/CO比を適切な範囲に制御しつつ、その範囲内で一酸化炭素の発生量が最大となる条件でガス化炉を運転することができれば、液体燃料の収率を最大化させることができる。
【0006】
本発明は、上記課題を鑑みてなされたものであり、システム全体で効率化を図ることができる液体燃料の製造方法を提供することを目的とし、製造工程における品質管理向上、延いてはエネルギーの効率化に寄与するものである。
【課題を解決するための手段】
【0007】
上記目的を達成するために、本発明は以下の手段を提供する。
[1]バイオマス原料から液体燃料を製造する液体燃料の製造方法であって、
水素在庫量を確認する水素在庫量確認工程と、
バイオマス原料から合成ガスを生成するガス化工程と、
再生可能エネルギーを用いて発電した電力によって水から水素を生成する電解工程と、
前記ガス化工程によって生成された合成ガス、および前記電解工程によって生成された水素を原料にして、液体燃料を製造する液体燃料製造工程と、を有し、
前記液体燃料製造工程において、H
2
/CO比が目標下限値未満でない場合に水蒸気供給量を減少させた後、H
2
/CO比が目標下限値以下となった場合に、水素在庫量を判定し、
水素在庫がない場合に、水蒸気供給量を1つ前に戻し、
水素在庫がある場合に、一酸化炭素生成量が増加しなくなるまで水蒸気供給量を減少させ、一酸化炭素が増加しなくなった場合に、水蒸気供給量を1つ前に戻し、H
2
/CO比が目標値下限と等しくなるように水素を供給し、水素在庫を確認する、液体燃料の製造方法。
【0008】
本発明は、水素の有無やガス化炉の運転条件、使用するバイオマス種に関わらず、H
2
/CO比の目標範囲と一酸化炭素量の最大化を達成できる。
【0009】
[2]前記液体燃料製造工程において、水素在庫がない場合、水蒸気供給量を、当初の水蒸気供給量と現在の水蒸気供給量の中間になるように調整し、H
2
/CO比が目標下限値と等しくなるように水素を供給し、水素在庫ありとなるまで、水蒸気供給量の調整を繰り返す、[1]に記載の液体燃料の製造方法。
【0010】
本発明は、水素の有無やガス化炉の運転条件、使用するバイオマス種に関わらず、H
2
/CO比の目標範囲と一酸化炭素量の最大化を達成できる。
(【0011】以降は省略されています)
この特許をJ-PlatPat(特許庁公式サイト)で参照する
関連特許
合同会社双晶
製炭方法
1か月前
個人
液体化石燃料の改質方法
16日前
日油株式会社
潤滑油組成物
2日前
株式会社クボタ
竪型の反応炉
10日前
三洋化成工業株式会社
導電剤及び潤滑剤組成物
1か月前
株式会社ニッペコ
潤滑組成物
24日前
株式会社ユシロ
金属加工用潤滑剤組成物
1か月前
株式会社神鋼環境ソリューション
搬送装置
1か月前
三浦工業株式会社
ガス化装置
1か月前
本田技研工業株式会社
液体燃料の製造方法
1か月前
ENEOS株式会社
グリース組成物
1か月前
日本製鉄株式会社
コークスの粉化量予測方法
1か月前
三菱重工業株式会社
炭化炉及びその制御方法
1か月前
出光興産株式会社
再生絶縁油の製造方法
1か月前
株式会社神鋼環境ソリューション
炭化物製造設備
1か月前
株式会社ダイゾー
グリース組成物
1か月前
コスモ石油ルブリカンツ株式会社
潤滑油組成物
1か月前
三菱重工業株式会社
炉壁及びガス化炉並びに炉壁の製造方法
1か月前
コスモ石油ルブリカンツ株式会社
潤滑油組成物
1か月前
旭化成株式会社
炭素数6~8の炭化水素含有留分の製造方法
1か月前
三菱重工業株式会社
燃料製造システム、及び燃料製造方法
26日前
コスモ石油ルブリカンツ株式会社
内燃機関用潤滑油組成物
1か月前
ENEOS株式会社
炭化水素製造装置
10日前
日本製鉄株式会社
電気炉用炭材および電気炉用炭材の製造方法
2日前
出光興産株式会社
バイオマス燃料の製造方法及びバイオマス燃料
1か月前
ENEOS株式会社
グリース組成物
26日前
コスモ石油株式会社
ガソリン組成物およびガソリン組成物の製造方法
1か月前
コスモ石油株式会社
ガソリン組成物およびガソリン組成物の製造方法
1か月前
ガス・ウォーター株式会社
木質バイオペレット、及び木質バイオペレット
1か月前
株式会社シーヴイテック
合成燃料製造方法及び合成燃料製造装置
26日前
日鉄環境株式会社
安水中の懸濁物質及び油分の除去方法、並びに安水用高分子凝集剤
1か月前
株式会社ブリヂストン
熱分解油、エラストマー、ゴム製品、及び樹脂製品
25日前
株式会社ブリヂストン
熱分解油、エラストマー、ゴム製品、及び樹脂製品
25日前
株式会社ブリヂストン
熱分解油、エラストマー、ゴム製品、及び樹脂製品
25日前
協同油脂株式会社
等速ジョイント用グリース組成物及び固定式等速ジョイント
1か月前
日鉄エンジニアリング株式会社
コークス乾式消火設備及びそのスローピングフリュー部構造
10日前
続きを見る
他の特許を見る