TOP
|
特許
|
意匠
|
商標
特許ウォッチ
Twitter
他の特許を見る
公開番号
2025152524
公報種別
公開特許公報(A)
公開日
2025-10-10
出願番号
2024054443
出願日
2024-03-28
発明の名称
回転電機用端子箱
出願人
株式会社TMEIC
代理人
弁理士法人酒井国際特許事務所
主分類
H02K
11/27 20160101AFI20251002BHJP(電力の発電,変換,配電)
要約
【課題】電線と電流検出器との間の距離を保つことができる回転電機用端子箱を得る。
【解決手段】回転電機用端子箱は、電線と、電流検出器と、支持部と、を備える。電線は、回転電機の固定子巻線と電気的に接続されている。電流検出器は、電線が貫通する孔を形成し電線と離間して電線を囲む孔形成部を有し、孔内の電線を流れる電流を検出する。支持部は、孔内に設けられ、電線を支持し、孔形成部と孔内の電線との間の距離を一定に保つ。
【選択図】図4
特許請求の範囲
【請求項1】
回転電機の固定子巻線と電気的に接続される電線と、
前記電線が貫通する孔を形成し前記電線と離間して前記電線を囲む孔形成部を有し、前記孔内の前記電線を流れる電流を検出する電流検出器と、
前記孔内に設けられ、前記電線を支持し、前記孔形成部と前記孔内の前記電線との間の距離を一定に保つ支持部と、
を備えた回転電機用端子箱。
続きを表示(約 190 文字)
【請求項2】
前記孔および前記電線は、鉛直方向と交差する方向に延び、
前記支持部は、前記電線に対して前記鉛直方向の下方側で、前記孔形成部と前記電線との間に介在した、
請求項1に記載の回転電機用端子箱。
【請求項3】
前記支持部は、前記孔形成部と前記電線との間を埋める環状である、
請求項1または2に記載の回転電機用端子箱。
発明の詳細な説明
【技術分野】
【0001】
本発明は、回転電機用端子箱に関する。
続きを表示(約 1,300 文字)
【背景技術】
【0002】
従来、回転電機に設けられる回転電機用端子箱が知られている。回転電機用端子箱は、電線と、電線が貫通した孔が設けられ、孔内の電線を流れる電流を検出する電流検出器と、を備える。
【先行技術文献】
【特許文献】
【0003】
特許第7435685号公報
特開2024-8304号公報
【発明の概要】
【発明が解決しようとする課題】
【0004】
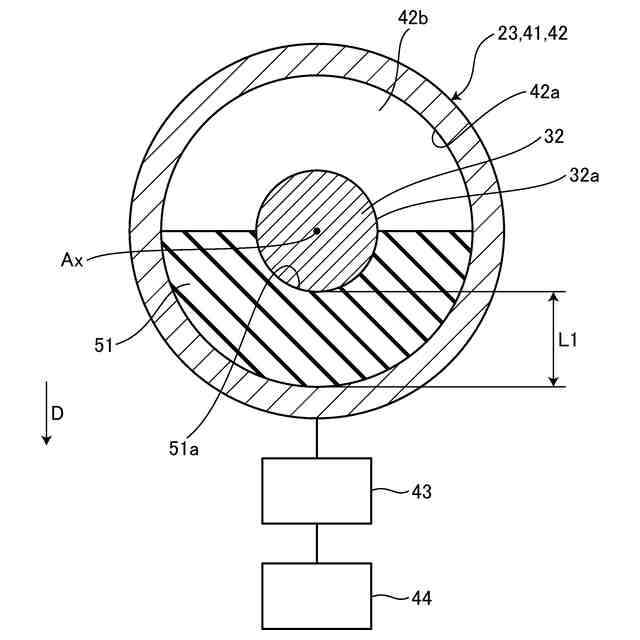
この種の回転電機用端子箱では、電流検出器と電線との間に高電圧が誘起され電流検出器や電線に絶縁破壊が生じるのを抑制するために、電流検出器と電線との間の距離をとる必要がある。しかしながら、例えば、電線の長さが比較的長い場合には、電線が垂れて、電線が電流検出器における孔を形成する面に近づいてしまい、電流検出器と電線との間の距離がとれない可能性がある。
【0005】
本発明が解決する課題の一例は、電線と電流検出器との間の距離を保つことができる回転電機用端子箱を得ることである。
【課題を解決するための手段】
【0006】
本発明の実施形態の回転電機用端子箱は、回転電機の固定子巻線と電気的に接続される電線と、前記電線が貫通する孔を形成し前記電線の外周部と離間して前記電線の前記外周部を囲む第1面を有し、前記電線を流れる電流を検出する電流検出器と、前記第1面の内側に設けられ、前記電線を支持し、前記第1面と前記電線の前記外周部との間の距離を一定に保つ支持部と、を備える。
【発明の効果】
【0007】
本発明の実施形態の回転電機用端子箱によれば、電線と電流検出器との間の距離を保つことができる回転電機用端子箱を得ることができる。
【図面の簡単な説明】
【0008】
図1は、実施形態の回転電機を示す図である。
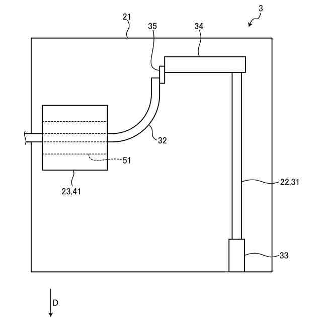
図2は、実施形態の回転電機の端子箱の筐体の内部の構成を示す正面図である。
図3は、実施形態の回転電機の端子箱の筐体の内部の構成を示す側面図である。
図4は、実施形態の端子箱における電流検出器を示す断面図である。
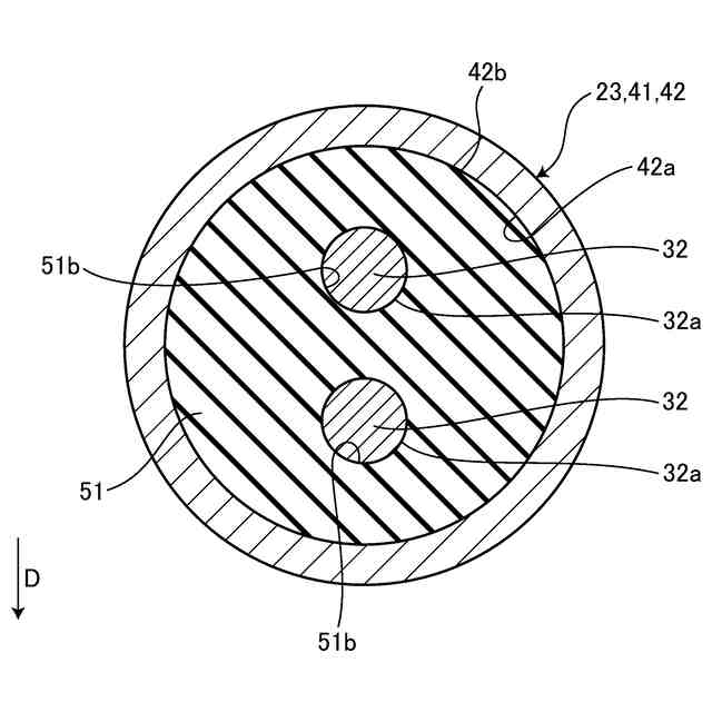
図5は、実施形態の第1の変形例の端子箱における電流検出器を示す断面図である。
図6は、実施形態の第2の変形例の端子箱における電流検出器を示す断面図である。
【発明を実施するための形態】
【0009】
以下に、実施形態について、図面を参照して説明する。なお、本明細書において、実施形態に係る構成要素および当該要素の説明が、複数の表現で記載されることがある。構成要素およびその説明は、一例であり、本明細書の表現によって限定されない。構成要素は、本明細書におけるものとは異なる名称でも特定され得る。また、構成要素は、本明細書の表現とは異なる表現によっても説明され得る。
【0010】
また、図面は模式的なものであり、各要素の寸法の関係、各要素の比率等は、現実と異なる場合がある。また、図面の相互間においても、互いの寸法の関係や比率が異なる部分が含まれている場合がある。
(【0011】以降は省略されています)
この特許をJ-PlatPat(特許庁公式サイト)で参照する
関連特許
株式会社TMEIC
操業監視装置
26日前
株式会社TMEIC
フリッカ補償装置
23日前
株式会社TMEIC
電気機器の冷却構造
9日前
株式会社TMEIC
電力変換装置用の筐体
24日前
株式会社TMEIC
位相推定器、電力制御装置、電力変換装置、及び位相推定方法
2日前
個人
単極モータ
1か月前
個人
電気を重力で発電装置
10日前
キヤノン電子株式会社
モータ
9日前
キヤノン電子株式会社
モータ
17日前
株式会社アイシン
ロータ
1か月前
株式会社アイシン
ロータ
1か月前
日星電気株式会社
ケーブル組立体
25日前
コーセル株式会社
電源装置
18日前
トヨタ自動車株式会社
モータ
9日前
トヨタ自動車株式会社
固定子
1か月前
株式会社デンソー
回転機
1か月前
トヨタ自動車株式会社
製造装置
1か月前
株式会社ダイヘン
充電装置
1か月前
株式会社ダイヘン
充電装置
1か月前
株式会社ダイヘン
充電装置
1か月前
株式会社ダイヘン
充電装置
1か月前
株式会社アイシン
ステータ
1か月前
株式会社アイシン
ステータ
1か月前
株式会社アイシン
ステータ
1か月前
株式会社アイシン
ステータ
1か月前
株式会社kaisei
発電システム
1か月前
個人
二次電池繰返パルス放電器用印刷基板
23日前
株式会社デンソー
電力変換装置
24日前
株式会社ミツバ
回転電機
1か月前
株式会社デンソー
電力変換装置
1か月前
株式会社ミツバ
回転電機
1か月前
株式会社デンソー
非接触受電装置
26日前
株式会社ダイヘン
インバータ装置
1か月前
株式会社アイシン
駆動装置
1か月前
キヤノン株式会社
無線電力伝送システム
1か月前
トヨタ自動車株式会社
固定子の加熱装置
20日前
続きを見る
他の特許を見る