TOP
|
特許
|
意匠
|
商標
特許ウォッチ
Twitter
他の特許を見る
10個以上の画像は省略されています。
公開番号
2025152118
公報種別
公開特許公報(A)
公開日
2025-10-09
出願番号
2024053864
出願日
2024-03-28
発明の名称
液体吐出装置
出願人
セイコーエプソン株式会社
代理人
弁理士法人旺知国際特許事務所
主分類
B41J
2/015 20060101AFI20251002BHJP(印刷;線画機;タイプライター;スタンプ)
要約
【課題】吐出の不安定さと印刷速度の低下とを抑制することができる液体吐出装置。
【解決手段】液体吐出装置は、第1共通駆動信号を生成する駆動信号生成部と、第1共通駆動信号の複数の吐出パルスのうち画像データに応じた吐出パルスを選択して生成した個別駆動信号を第1駆動素子に供給する駆動制御部と、を備え、1駆動周期は、2つの画素に相当する第1期間を含み、第1共通駆動信号の第1期間に含まれる吐出パルスの数は、n+1個であり、n+1個の吐出パルスは、連続する(n/2)+1個の吐出パルスにより第1吐出パルス群を構成し、(n/2)個の吐出パルスにより第2吐出パルス群を構成し、駆動制御部が、n+1個の吐出パルスを選択して生成した個別駆動信号を第1個別駆動信号として第1駆動素子に供給した場合、第1の画素に第1吐出パルス群により第1ドットが形成され、第2の画素に第2吐出パルス群により第2ドットが形成される。
【選択図】図5
特許請求の範囲
【請求項1】
媒体上に液体を吐出する第1ノズルと、前記第1ノズルに連通する第1圧力室と、供給された第1個別駆動信号に応じて前記第1圧力室内の液体に圧力変動が生じるように駆動する第1駆動素子と、を有する第1吐出部と、
1駆動周期中に複数の吐出パルスを含む第1共通駆動信号を生成する駆動信号生成部と、
前記第1共通駆動信号の複数の吐出パルスのうち、画像データに応じた吐出パルスを選択して生成した個別駆動信号を、前記第1個別駆動信号として前記第1駆動素子に供給する駆動制御部と、
を備え、
前記第1共通駆動信号の1駆動周期は、前記媒体上の連続する2つの画素に相当する第1期間を含み、
前記第1共通駆動信号の前記第1期間に含まれる吐出パルスの数は、n+1個であり、
nは偶数であり、
前記n+1個の吐出パルスは、連続する(n/2)+1個の吐出パルスにより第1吐出パルス群を構成し、前記第1吐出パルス群の吐出パルスに連続して並ぶ(n/2)個の吐出パルスにより第2吐出パルス群を構成し、
前記駆動制御部が、前記第1共通駆動信号から前記n+1個の吐出パルスを選択して生成した個別駆動信号を前記第1個別駆動信号として前記第1駆動素子に供給した場合、前記媒体上の第1の画素に前記第1吐出パルス群により吐出された液滴により第1ドットが形成され、前記媒体上の前記第1の画素に連続して並ぶ第2の画素に前記第2吐出パルス群により吐出された液滴により第2ドットが形成される、
ことを特徴とする液体吐出装置。
続きを表示(約 2,200 文字)
【請求項2】
前記駆動制御部が、前記第1個別駆動信号を繰り返し前記第1駆動素子に供給すると、前記媒体上には、前記第1吐出パルス群により吐出された液滴により形成された前記第1ドットと、前記第2吐出パルス群により吐出された液滴により形成された前記第2ドットと、が交互連続して印刷される、
請求項1に記載の液体吐出装置。
【請求項3】
前記第1ドットは前記第2ドットより大きい、
請求項1に記載の液体吐出装置。
【請求項4】
前記媒体上に液体を吐出する第2ノズルと、前記第2ノズルに連通する第2圧力室と、供給された第2個別駆動信号に応じて前記第2圧力室内の液体に圧力変動が生じるように駆動する第2駆動素子と、を有する第2吐出部と、
をさらに備え、
前記駆動制御部は、前記第1共通駆動信号の複数の吐出パルスのうち、画像データに応じた吐出パルスを選択して前記第2個別駆動信号を生成し前記第2駆動素子に供給し、
前記駆動制御部が、前記第1共通駆動信号から前記n+1個の吐出パルスを選択して生成した個別駆動信号を前記第2個別駆動信号として前記第2駆動素子に供給した場合、前記媒体上の第3の画素に前記第1吐出パルス群により吐出された液滴により第3ドットが形成され、前記媒体上の前記第3の画素に連続して並ぶ第4の画素に前記第2吐出パルス群により吐出された液滴により第4ドットが形成され、
前記第1個別駆動信号を繰り返し前記第1駆動素子に供給すると共に、前記第2個別駆動信号を繰り返し前記第2駆動素子に供給した場合、前記第1個別駆動信号の前記第1吐出パルス群の前記第1駆動素子への供給タイミングと、前記第2個別駆動信号の前記第1吐出パルス群の前記第2駆動素子への供給タイミングと、が異なる、
請求項1に記載の液体吐出装置。
【請求項5】
前記第1ノズルと前記第2ノズルとは並んで配置される、
請求項4に記載の液体吐出装置。
【請求項6】
前記第1ドットと前記第2ドットとは、第1軸に沿って連続して並び、
前記第3ドットと前記第4ドットとは、前記第1軸に平行な第2軸に沿って連続して並び、
前記第2ドットと前記第3ドットとは、前記第1軸に直交する第3軸に沿って連続して並ぶ、
請求項4に記載の液体吐出装置。
【請求項7】
前記媒体上に液体を吐出する第2ノズルと、前記第2ノズルに連通する第2圧力室と、供給された第2個別駆動信号に応じて前記第2圧力室内の液体に圧力変動が生じるように駆動する第2駆動素子と、を有する第2吐出部と、
をさらに備え、
前記第1ノズルと前記第2ノズルとは並んで配置され、
前記駆動信号生成部は、1駆動周期中にn+1個の吐出パルスを含む第2共通駆動信号を生成し、
前記n+1個の吐出パルスは、連続する(n/2)個の吐出パルスにより第3吐出パルス群を構成し、前記第1吐出パルス群の吐出パルスに連続して並ぶ(n/2)+1個の吐出パルスにより第4吐出パルス群を構成し、
前記駆動制御部は、前記第2共通駆動信号の複数の吐出パルスのうち、画像データに応じた吐出パルスを選択して前記第2個別駆動信号を生成し、前記第2個別駆動信号を前記第2駆動素子に供給し、
前記駆動制御部が、前記第2共通駆動信号から前記n+1個の吐出パルスを選択して生成した個別駆動信号を前記第2個別駆動信号として前記第2駆動素子に供給した場合、前記媒体上の第3の画素に前記第3吐出パルス群により吐出された液滴により第3ドットが形成され、前記媒体上の前記第3の画素に連続して並ぶ第4の画素に前記第4吐出パルス群により吐出された液滴により第4ドットが形成され、
前記第1個別駆動信号を繰り返し前記第1駆動素子に供給すると共に、前記第2個別駆動信号を繰り返し前記第2駆動素子に供給した場合、前記第1個別駆動信号の前記第1吐出パルス群の前記第1駆動素子への供給タイミングと、前記第2個別駆動信号の前記第1吐出パルス群の前記第2駆動素子への供給タイミングと、が一致し、
前記第1ドットと前記第2ドットとは、第1軸に沿って連続して並び、
前記第3ドットと前記第4ドットとは、前記第1軸に平行な第2軸に沿って連続して並び、
前記第1ドットと前記第3ドットとは、前記第1軸に直交する第3軸に沿って連続して並ぶ、
請求項1に記載の液体吐出装置。
【請求項8】
前記駆動制御部が、前記第1共通駆動信号から前記第1吐出パルス群を選択する一方で前記第2吐出パルス群を選択しないで生成した個別駆動信号を前記第1個別駆動信号として前記第1駆動素子に供給した場合、前記第1の画素に前記第1吐出パルス群により吐出された液滴によりドットが形成され、前記第2の画素にはドットが形成されず、
前記駆動制御部が、前記第1共通駆動信号から前記第1吐出パルス群を選択しない一方で前記第2吐出パルス群を選択して生成した個別駆動信号を前記第1個別駆動信号として前記第1駆動素子に供給した場合、前記第1の画素にドットは形成されず、前記第2の画素に前記第2吐出パルス群により吐出された液滴によりドットが形成される、
請求項1に記載の液体吐出装置。
発明の詳細な説明
【技術分野】
【0001】
本開示は、液体吐出装置に関する。
続きを表示(約 3,300 文字)
【背景技術】
【0002】
印刷用紙等の媒体に対してインク等の液体を吐出する液体吐出装置が従来から提案されている。
【0003】
特許文献1には、ノズル開口に対応して設けられた圧力発生素子を作動させることにより、ノズル開口からインク滴を吐出させるインクジェット記録ヘッドの駆動装置が開示されている。当該装置は、圧力発生素子への駆動信号を発生させる駆動信号発生回路を有する。当該駆動信号は、一つの記録画素に対応した記録周期において、第1パルスと第2パルスとから構成されている。そして、第1のパルスに対応したインク滴と、第2のパルスを対応したインク滴とが、用紙上のほぼ同一位置に着弾することにより、用紙上に大きなドットが形成される。
【先行技術文献】
【特許文献】
【0004】
特開平11-20165号公報
【発明の概要】
【発明が解決しようとする課題】
【0005】
1画素により大きなドットを形成するため、吐出パルス数を増やす場合、吐出パルスの間隔を狭めると吐出不安定になり易く、吐出パルスの間隔を十分に広くすると1画素分の駆動周期が長くなり印刷速度が低下してしまう。
【課題を解決するための手段】
【0006】
本開示の一態様に係る液体吐出装置は、媒体上に液体を吐出する第1ノズルと、前記第1ノズルに連通する第1圧力室と、供給された第1個別駆動信号に応じて前記第1圧力室内の液体に圧力変動が生じるように駆動する第1駆動素子と、を有する第1吐出部と、1駆動周期中に複数の吐出パルスを含む第1共通駆動信号を生成する駆動信号生成部と、前記第1共通駆動信号の複数の吐出パルスのうち、画像データに応じた吐出パルスを選択して生成した個別駆動信号を、前記第1個別駆動信号として前記第1駆動素子に供給する駆動制御部と、を備え、前記第1共通駆動信号の1駆動周期は、前記媒体上の連続する2つの画素に相当する第1期間を含み、前記第1共通駆動信号の前記第1期間に含まれる吐出パルスの数は、n+1個であり、nは偶数であり、前記n+1個の吐出パルスは、連続する(n/2)+1個の吐出パルスにより第1吐出パルス群を構成し、前記第1吐出パルス群の吐出パルスに連続して並ぶ(n/2)個の吐出パルスにより第2吐出パルス群を構成し、前記駆動制御部が、前記第1共通駆動信号から前記n+1個の吐出パルスを選択して生成した個別駆動信号を前記第1個別駆動信号として前記第1駆動素子に供給した場合、前記媒体上の第1の画素に第1吐出パルス群により吐出された液滴により第1ドットが形成され、前記媒体上の前記第1の画素に連続して並ぶ第2の画素に前記第2吐出パルス群により吐出された液滴により第2ドットが形成される。
【図面の簡単な説明】
【0007】
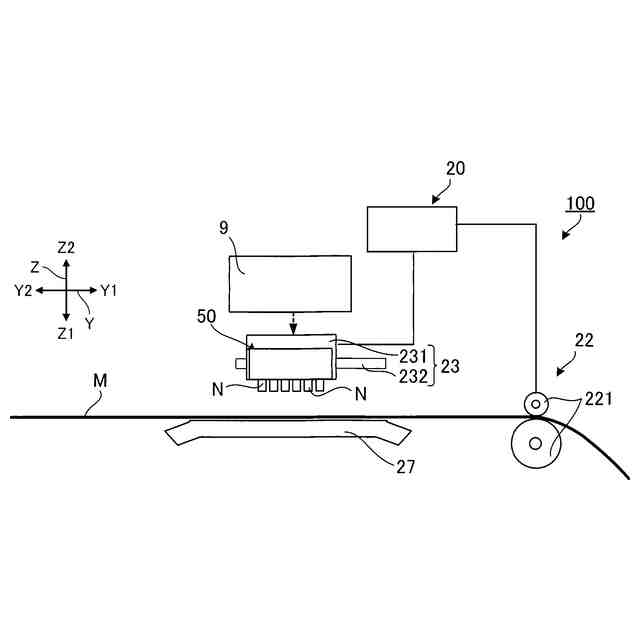
第1実施形態に係る液体吐出装置の構成例を示す模式図である。
第1実施形態に係る液体吐出装置の電気的構成を示す図である。
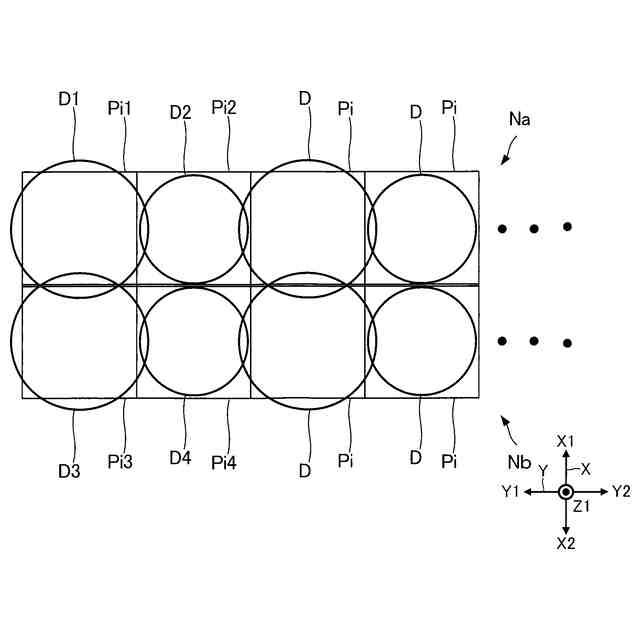
図2に示す複数のヘッドチップを示す図である。
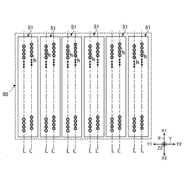
図3に示すヘッドチップの一部を示す断面である。
図2に示す駆動信号生成部が生成する第1共通駆動信号を説明するための図である。
図5の第1共通駆動信号から生成された第1個別駆動信号を示す図である。
図6の第1個別駆動信号を第1駆動素子に供給した場合に媒体上に形成されるドットを示す図である。
図5の第1共通駆動信号から生成された第2個別駆動信号を示す図である。
図8の第2個別駆動信号を第2駆動素子に供給した場合に媒体上に形成されるドットを示す図である。
図6の第1個別駆動信号と図8の第2個別駆動信号との供給タイミングを説明するための図である。
第2実施形態における第1個別駆動信号と第2個別駆動信号との供給タイミングを説明するための図である。
第2実施形態における媒体上に形成されるドットを示す図である。
第3実施形態における第2共通駆動信号を説明するための図である。
図13の第2共通駆動信号から生成された第2個別駆動信号を示す図である。
第3実施形態において媒体上に形成されるドットを示す図である。
第4実施形態における第1個別駆動信号を説明するための図である。
第4実施形態における他の第1個別駆動信号を説明するための図である。
図16の第1個別駆動信号を第1駆動素子に供給した場合の媒体上に形成されるドットを示す図である。
図17の第1個別駆動信号を第1駆動素子に供給した場合の媒体上に形成されるドットを示す図である。
第5実施形態における共通駆動信号を説明するための図である。
図20の共通駆動信号から生成された第1階調駆動信号を示す図である。
図21の第1階調駆動信号を駆動素子に供給した場合の媒体上に形成されるドットを示す図である。
第6実施形態における第2階調駆動信号を説明するための図である。
第6実施形態における第3階調駆動信号を説明するための図である。
図23の第2階調駆動信号を駆動素子に供給した場合の媒体上に形成されるドットを示す図である。
図24の第3階調駆動信号を駆動素子に供給した場合の媒体上に形成されるドットを示す図である。
第7実施形態における第2階調駆動信号を説明するための図である。
第7実施形態における第3階調駆動信号を説明するための図である。
図27の第2階調駆動信号を駆動素子に供給した場合の媒体上に形成されるドットを示す図である。
図28の第3階調駆動信号を駆動素子に供給した場合の媒体上に形成されるドットを示す図である。
第8実施形態における第4階調駆動信号を説明するための図である。
図31の第4階調駆動信号を駆動素子に供給した場合の媒体上に形成されるドットを示す図である。
第1変形例の第5階調駆動信号を説明するための図である。
図33の第4階調駆動信号を駆動素子に供給した場合の媒体上に形成されるドットを示す図である。
【発明を実施するための形態】
【0008】
以下、添付図面を参照しながら本開示に係る好適な実施形態を説明する。なお、図面において各部の寸法および縮尺は実際と適宜に異なり、理解を容易にするために模式的に示している部分もある。また、本開示の範囲は、以下の説明において特に本開示を限定する旨の記載がない限り、これらの形態に限られない。
【0009】
以下の説明は、互いに交差するX軸、Y軸およびZ軸を適宜に用いて行う。また、以下では、X軸に沿う一方向がX1方向であり、X1方向と反対の方向がX2方向である。同様に、Y軸に沿って互いに反対の方向がY1方向およびY2方向である。Z軸に沿って互いに反対の方向がZ1方向およびZ2方向である。典型的には、Z軸が鉛直な軸であり、Z2方向が鉛直方向での下方向に相当する。ただし、Z軸は、鉛直な軸でなくともよい。また、X軸、Y軸およびZ軸は、典型的には互いに直交するが、これに限定されず、例えば、80°以上100°以下の範囲内の角度で交差すればよい。また、本明細書において、「等しい」とは、厳密に等しい場合の他、製造誤差および組み立て誤差を含む意味である。
【0010】
A:第1実施形態
A1:液体吐出装置100の全体構成
図1は、第1実施形態に係る液体吐出装置100の構成例を示す模式図である。図1に示す液体吐出装置100は、インク等の液体を液滴として媒体Mに対して吐出するインクジェット方式の印刷装置である。媒体Mは、例えば、印刷用紙、樹脂フィルムまたは布帛等の任意の材質の印刷対象である。
(【0011】以降は省略されています)
この特許をJ-PlatPat(特許庁公式サイト)で参照する
関連特許
個人
箔熱転写装置
1か月前
シヤチハタ株式会社
印判
4か月前
キヤノン株式会社
記録装置
27日前
三光株式会社
感熱記録材料
6か月前
独立行政法人 国立印刷局
印刷物
7か月前
株式会社リコー
液体吐出装置
7か月前
独立行政法人 国立印刷局
記録媒体
8か月前
株式会社リコー
画像形成装置
15日前
株式会社リコー
印刷システム
15日前
株式会社リコー
液体吐出装置
4か月前
株式会社リコー
液体吐出装置
8か月前
株式会社リコー
液体吐出装置
7か月前
独立行政法人 国立印刷局
貼付装置
1か月前
日本製紙株式会社
感熱記録体
7か月前
株式会社リコー
画像形成装置
1か月前
株式会社リコー
液体吐出装置
4か月前
株式会社リコー
液体吐出装置
5か月前
株式会社リコー
画像形成装置
11日前
独立行政法人 国立印刷局
貼付機構
2か月前
株式会社リコー
液体吐出装置
2か月前
株式会社リコー
液体吐出装置
6か月前
ブラザー工業株式会社
プリンタ
6か月前
キヤノン株式会社
画像形成装置
1か月前
キヤノン株式会社
画像処理装置
4か月前
キヤノン株式会社
印刷システム
7か月前
理想科学工業株式会社
印刷装置
19日前
理想科学工業株式会社
印刷装置
6か月前
キヤノン株式会社
画像形成装置
7か月前
キヤノン株式会社
画像形成装置
8か月前
独立行政法人 国立印刷局
潜像形成体
11日前
キヤノン株式会社
画像形成装置
8か月前
ブラザー工業株式会社
プリンタ
2か月前
ブラザー工業株式会社
プリンタ
8か月前
キヤノン株式会社
画像形成装置
8か月前
ブラザー工業株式会社
プリンタ
2か月前
キヤノン株式会社
画像形成装置
8か月前
続きを見る
他の特許を見る