TOP
|
特許
|
意匠
|
商標
特許ウォッチ
Twitter
他の特許を見る
公開番号
2025151247
公報種別
公開特許公報(A)
公開日
2025-10-09
出願番号
2024052578
出願日
2024-03-27
発明の名称
車両用リッド開閉装置
出願人
豊田合成株式会社
代理人
弁理士法人 共立特許事務所
主分類
B60K
15/05 20060101AFI20251002BHJP(車両一般)
要約
【課題】付着水の固化に伴うアームの回動固着を防止すること。
【解決手段】車両用リッド開閉装置は、基体と、基体の開口を閉じる閉位置と開口を開放する開位置との間で移動可能なリッドと、リッドを開閉移動させる開閉機構と、を備える。開閉機構は、リッドを基体に対して開閉可能に支持するアームを有する。アームは、上側の第一アーム部と、下側の第二アーム部と、を有する。第一アーム部及び第二アーム部は、リッド閉位置で水平方向に広がる箇所を有する。基体は、第一アーム部を回動可能に支持する基体側第一軸受部と、第二アーム部を回動可能に支持する基体側第二軸受部と、を有する。開閉機構は、リッドの閉位置で、基体とアームとの間においてアームにおける基体側の軸線から径方向に所定距離離れた箇所からリッド側の端部までに亘って形成され、付着水の固化に伴うアームの回動固着を防止する固着防止構造を有する。
【選択図】図4
特許請求の範囲
【請求項1】
車体に取り付けられ、車両のエネルギ補給のための補給口を収容する収容空間と、前記収容空間内の前記補給口を車外に露出させる表側開口と、を有する箱状の基体と、
前記表側開口を閉じて前記補給口を塞ぐ閉位置と、前記表側開口を開放して前記補給口を車外側に露出させる開位置と、の間で移動可能なリッドと、
前記リッドを前記閉位置と前記開位置との間で前記基体に対して開閉移動させる開閉機構と、
を備え、
前記開閉機構は、前記基体と前記リッドとを繋ぐように延在し、前記リッドを前記基体に対して開閉可能に支持し、前記リッドの前記閉位置で前記収容空間に収容されるアームを有し、
前記アームは、
前記基体側の基体側第一軸線を中心にして前記基体に回動可能に支持されると共に、前記リッド側のリッド側第一軸線を中心にして前記リッドに回動可能に支持される第一アーム部と、
前記第一アーム部よりも下方に配置され、前記基体側の前記基体側第一軸線に対して平行に延びる基体側第二軸線を中心にして前記基体に回動可能に支持されると共に、前記リッド側の前記リッド側第一軸線に対して平行に延びるリッド側第二軸線を中心にして前記リッドに回動可能に支持される第二アーム部と、
を有し、
前記第一アーム部及び前記第二アーム部は、少なくとも前記リッドの前記閉位置で水平方向に広がる箇所を有し、
前記基体は、
前記収容空間に臨んで設けられ、前記第一アーム部を前記基体側第一軸線を中心にして回動可能に支持する基体側第一軸受部と、
前記収容空間に臨んで設けられ、前記第二アーム部を前記基体側第二軸線を中心にして回動可能に支持する基体側第二軸受部と、
を有し、
前記開閉機構は、前記リッドの前記閉位置で、前記基体と前記第一アーム部との間において前記第一アーム部における前記基体側第一軸線から径方向に第一所定距離離れた第一箇所から前記リッド側の端部までに亘って形成され、又は、前記基体と前記第二アーム部との間において前記第二アーム部における前記基体側第二軸線から径方向に第二所定距離離れた第二箇所から前記リッド側の端部までに亘って形成され、付着水の固化に伴う前記アームの回動固着を防止する固着防止構造を有する、車両用リッド開閉装置。
続きを表示(約 1,000 文字)
【請求項2】
前記固着防止構造は、前記リッドの前記閉位置で、前記基体と前記第一アーム部との間において前記第一アーム部における前記第一箇所から前記リッド側の端部までに亘って連続し、又は、前記基体と前記第二アーム部との間において前記第二アーム部における前記第二箇所から前記リッド側の端部までに亘って連続して、所定以上の大きさに形成されたクリアランスを有する、請求項1に記載された車両用リッド開閉装置。
【請求項3】
前記固着防止構造は、前記リッドの前記閉位置で、前記基体と前記第一アーム部との間又は前記基体と前記第二アーム部との間に進入する水を排出する水抜き通路を有する、請求項1に記載された車両用リッド開閉装置。
【請求項4】
前記基体は、
前記補給口を車内側から前記収容空間に露出させる裏側開口が形成された底壁部と、
前記底壁部の車外面から車外側に突出し、前記リッドの前記閉位置で前記第一アーム部と前記第二アーム部との間に位置し、前記基体側第二軸受部の上側が形成された軸受板部と、
を有し、
前記軸受板部の上面は、前記固着防止構造として車内側から車外側にかけて下方に傾斜している、請求項1乃至3の何れか一項に記載された車両用リッド開閉装置。
【請求項5】
前記基体は、
前記補給口を車内側から前記収容空間に露出させる裏側開口が形成された底壁部と、
前記底壁部の車外面から車外側に突出し、前記リッドの前記閉位置で前記第一アーム部と前記第二アーム部との間に位置し、前記基体側第一軸受部の下側又は前記基体側第二軸受部の上側が形成された軸受板部と、
を有し、
前記軸受板部は、前記リッドの前記閉位置で前記第一アーム部又は前記第二アーム部の延在方向に沿うように延び、上下に屈曲する屈曲部を有している、請求項1乃至3の何れか一項に記載された車両用リッド開閉装置。
【請求項6】
前記基体側第一軸受部は、前記リッドが前記閉位置と前記開位置との間で移動する際に、前記第一アーム部における前記基体側第一軸線側の端部から前記第一箇所までの範囲に対して軸方向で対向する第一軸受面を有し、
前記基体側第二軸受部は、前記リッドが前記閉位置と前記開位置との間で移動する際に、前記第二アーム部における前記基体側第二軸線側の端部から前記第二箇所までの範囲に対して軸方向で対向する第二軸受面を有する、請求項1乃至3の何れか一項に記載された車両用リッド開閉装置。
発明の詳細な説明
【技術分野】
【0001】
本発明は、車両用リッド開閉装置に関する。
続きを表示(約 2,300 文字)
【背景技術】
【0002】
従来、車両のエネルギ補給のための充電口などの補給口をリッドを用いて開閉する車両用リッド開閉装置が知られている(例えば、特許文献1)。特許文献1記載の車両用リッド開閉装置は、補給口を収容する収容空間を有する箱状の基体と、基体の表側開口を塞ぐことが可能なリッドと、リッドを閉位置と開位置との間で基体に対して開閉移動させる開閉機構と、を備えている。この開閉機構は、左右それぞれに一対のアーム(5a,5b)を有している。
【0003】
各アームは、基体とリッドとを繋ぐように延在している。そして、各アームは、一端部が基体に回動可能に支持されかつ他端部がリッドに回動可能に支持されるように構成されている。一対のアームは、互いに隣接して配置されており、協働して動作することにより、リッドを基体に対して開閉動作させる。
【先行技術文献】
【特許文献】
【0004】
特許第5617506号公報
【発明の概要】
【発明が解決しようとする課題】
【0005】
しかしながら、アームがリッドを閉位置と開位置との間にある際(特に、リッドが閉位置にある際)に、アーム同士間やアームと基体との間が、特に水平な箇所など水が付着して溜まり易い構造であると、その付着水が凍結して固化した時にアームの回動動作を阻害するおそれがあり、その結果として、リッドの開閉が損なわれる可能性がある。
【0006】
本発明は、このような点に鑑みてなされたものであり、付着水の固化に伴うアームの回動固着を防止することが可能な車両用リッド開閉装置を提供することを目的とする。
【課題を解決するための手段】
【0007】
本発明の一態様は、車体に取り付けられ、車両のエネルギ補給のための補給口を収容する収容空間と、前記収容空間内の前記補給口を車外に露出させる表側開口と、を有する箱状の基体と、前記表側開口を閉じて前記補給口を塞ぐ閉位置と、前記表側開口を開放して前記補給口を車外側に露出させる開位置と、の間で移動可能なリッドと、前記リッドを前記閉位置と前記開位置との間で前記基体に対して開閉移動させる開閉機構と、を備え、前記開閉機構は、前記基体と前記リッドとを繋ぐように延在し、前記リッドを前記基体に対して開閉可能に支持し、前記リッドの前記閉位置で前記収容空間に収容されるアームを有し、前記アームは、前記基体側の基体側第一軸線を中心にして前記基体に回動可能に支持されると共に、前記リッド側のリッド側第一軸線を中心にして前記リッドに回動可能に支持される第一アーム部と、前記第一アーム部よりも下方に配置され、前記基体側の前記基体側第一軸線に対して平行に延びる基体側第二軸線を中心にして前記基体に回動可能に支持されると共に、前記リッド側の前記リッド側第一軸線に対して平行に延びるリッド側第二軸線を中心にして前記リッドに回動可能に支持される第二アーム部と、を有し、前記第一アーム部及び前記第二アーム部は、少なくとも前記リッドの前記閉位置で水平方向に広がる箇所を有し、前記基体は、前記収容空間に臨んで設けられ、前記第一アーム部を前記基体側第一軸線を中心にして回動可能に支持する基体側第一軸受部と、前記収容空間に臨んで設けられ、前記第二アーム部を前記基体側第二軸線を中心にして回動可能に支持する基体側第二軸受部と、を有し、前記開閉機構は、前記リッドの前記閉位置で、前記基体と前記第一アーム部との間において前記第一アーム部における前記基体側第一軸線から径方向に第一所定距離離れた第一箇所から前記リッド側の端部までに亘って形成され、又は、前記基体と前記第二アーム部との間において前記第二アーム部における前記基体側第二軸線から径方向に第二所定距離離れた第二箇所から前記リッド側の端部までに亘って形成され、付着水の固化に伴う前記アームの回動固着を防止する固着防止構造を有する、車両用リッド開閉装置である。
【0008】
この構成によれば、付着水の固化に伴うアームの回動固着を防止することができる。
【図面の簡単な説明】
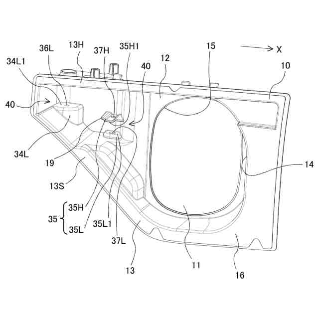
【0009】
本発明の一実施形態に係る車両用リッド開閉装置が車体に取り付けられリッドが閉位置にある状態を車外側から見た図である。
実施形態の車両用リッド開閉装置におけるリッドが開位置にある状態を車外側から見た図である。
実施形態の車両用リッド開閉装置の分解図である。
実施形態の車両用リッド開閉装置が備える基体を車外側からほぼ水平方向に見た斜視図である。
実施形態の車両用リッド開閉装置が備える基体を車外側から斜め下方に見た正面図である。
実施形態の車両用リッド開閉装置が備える基体とアームとを車外側から見た図である。
実施形態の車両用リッド開閉装置が備える開閉機構の第一アーム部についての固着防止構造を表した図である。
実施形態の車両用リッド開閉装置が備える開閉機構の第二アーム部についての固着防止構造を表した図である。
実施形態の車両用リッド開閉装置が備える固着防止構造としての軸受板部の傾斜形状を表した図である。
実施形態の車両用リッド開閉装置が備える固着防止構造としての(A)アームの傾斜形状及び(B)アームの水抜き通路を表した図である。
【発明を実施するための形態】
【0010】
以下、図1~図10を参照して、本発明に係る車両用リッド開閉装置の具体的な実施形態について説明する。
(【0011】以降は省略されています)
この特許をJ-PlatPat(特許庁公式サイト)で参照する
関連特許
豊田合成株式会社
積層体
13日前
豊田合成株式会社
調光装置
22日前
豊田合成株式会社
車両用ビーム
8日前
豊田合成株式会社
車両用外装品
7日前
豊田合成株式会社
乗員保護装置
28日前
豊田合成株式会社
車両用外装品
9日前
豊田合成株式会社
乗員保護装置
9日前
豊田合成株式会社
検知システム
8日前
豊田合成株式会社
車両用ビーム
8日前
豊田合成株式会社
エアバッグ装置
28日前
豊田合成株式会社
車両用投影装置
9日前
豊田合成株式会社
車両用投影装置
15日前
豊田合成株式会社
車両用照明装置
15日前
豊田合成株式会社
車両用空調ダクト
8日前
豊田合成株式会社
車両の前部構造体
22日前
豊田合成株式会社
ステアリング装置
29日前
豊田合成株式会社
ステアリング装置
29日前
豊田合成株式会社
空調用レジスター
9日前
豊田合成株式会社
ステアリング装置
28日前
豊田合成株式会社
車両の音出力装置
15日前
豊田合成株式会社
車両画像投影装置
13日前
豊田合成株式会社
車内用発光表示装置
13日前
豊田合成株式会社
モーションレジスタ
9日前
豊田合成株式会社
コンテンツ体験装置
29日前
豊田合成株式会社
車両用体験システム
29日前
豊田合成株式会社
車両用カップホルダ
14日前
豊田合成株式会社
車両用リッド開閉装置
28日前
豊田合成株式会社
車両用リッド開閉装置
28日前
豊田合成株式会社
助手席用乗員保護装置
29日前
豊田合成株式会社
カーテンエアバッグ装置
28日前
豊田合成株式会社
車両用シャッタ式物入れ
20日前
豊田合成株式会社
見切りウェザストリップ
29日前
豊田合成株式会社
歩行者保護用エアバッグ
1日前
豊田合成株式会社
車両用見切りシール部材
13日前
豊田合成株式会社
車両乗員用衝撃吸収装置
9日前
豊田合成株式会社
ステアリング装置用パッド
28日前
続きを見る
他の特許を見る