TOP
|
特許
|
意匠
|
商標
特許ウォッチ
Twitter
他の特許を見る
公開番号
2025149361
公報種別
公開特許公報(A)
公開日
2025-10-08
出願番号
2024049957
出願日
2024-03-26
発明の名称
車両用体験システム
出願人
豊田合成株式会社
代理人
弁理士法人平田国際特許事務所
主分類
G06F
3/01 20060101AFI20251001BHJP(計算;計数)
要約
【課題】コンテンツへの没入感を高めることができる車両用体験システムを提供する。
【解決手段】車両用体験システム1は、車両8の座席80の周辺にコンテンツ6を表示して座席80に着座する乗員9に視覚による視覚刺激11を与える表示部2と、乗員9に温覚及び冷覚の少なくとも一方の触覚刺激12を与える触覚装置891と接続され、表示部2及び触覚装置891を制御してコンテンツ6に連動した視覚刺激11及び触覚刺激12を乗員9に与える制御部5と、を備えて概略構成されている。
【選択図】図1
特許請求の範囲
【請求項1】
車両の座席の周辺にコンテンツを表示して座席に着座する乗員に視覚による視覚刺激を与える表示部と、
前記乗員に温覚及び冷覚の少なくとも一方の触覚刺激を与える触覚装置と接続され、前記表示部及び前記触覚装置を制御して前記コンテンツに連動した前記視覚刺激及び前記触覚刺激を前記乗員に与える制御部と、
を備えた車両用体験システム。
続きを表示(約 910 文字)
【請求項2】
前記制御部は、前記乗員に聴覚による聴覚刺激を与える聴覚装置と接続され、前記表示部、前記触覚装置及び前記聴覚装置を制御し、前記コンテンツに連動した前記視覚刺激、前記触覚刺激及び前記聴覚刺激を前記乗員に与える、
請求項1に記載の車両用体験システム。
【請求項3】
前記制御部は、前記乗員に嗅覚による嗅覚刺激を与える嗅覚装置と接続され、前記表示部、前記触覚装置、前記聴覚装置及び前記嗅覚装置を制御し、前記コンテンツに連動した前記視覚刺激、前記触覚刺激、前記聴覚刺激及び前記嗅覚刺激を前記乗員に与える、
請求項2に記載の車両用体験システム。
【請求項4】
前記制御部は、前記乗員の操作を受け付ける操作装置と接続され、前記操作に応じて前記コンテンツを変化させる、
請求項3に記載の車両用体験システム。
【請求項5】
前記制御部は、前記コンテンツを表示する際の時刻に連動して前記コンテンツを変化させる、
請求項3に記載の車両用体験システム。
【請求項6】
前記表示部は、投影領域に投影像を投影する投影部を複数有し、前記コンテンツに基づいて分けられた複数のコンテンツ領域に対応する前記投影部によって前記座席の周囲に投影する、
請求項1乃至5のいずれか1項に記載の車両用体験システム。
【請求項7】
前記複数の投影部は、前記座席の第1のアームレスト、前記座席に近いドアトリムの第2のアームレスト、前記乗員の正面のパネル、及び前記乗員の身体の一部を前記投影領域として前記投影像を投影する、
請求項6に記載の車両用体験システム。
【請求項8】
前記制御部は、前記車両の空調装置、及びヒータ装置の少なくとも一方の前記触覚装置を用いて前記乗員に前記触覚刺激を与える、
請求項6に記載の車両用体験システム。
【請求項9】
前記制御部は、前記触覚装置を制御し、前記乗員の身体の位置に応じて与える前記触覚刺激を変化させる、
請求項8に記載の車両用体験システム。
発明の詳細な説明
【技術分野】
【0001】
本発明は、車両用体験システムに関する。
続きを表示(約 1,300 文字)
【背景技術】
【0002】
従来の技術として、車両に搭載されて、ユーザへの体験提供を可能とする体験用機器と、体験用機器の作動を制御する制御部と、を備える車両用体験装置が知られている(例えば、特許文献1参照。)。
【0003】
この車両用体験装置は、体験用機器を制御し、フロントウインドウの領域内に動画を再生させたり、車室内を遮光状態としたり、シート上でユーザを包み込むように空調したりすることで、ユーザに心地良いと感じる体験を与えることができる。
【先行技術文献】
【特許文献】
【0004】
特開2020-189618号公報
【発明の概要】
【発明が解決しようとする課題】
【0005】
近年、従来の車両用体験装置のような装置には、さらに高い没入感をユーザに与えることが求められている。
【0006】
従って本発明の目的は、コンテンツへの没入感を高めることができる車両用体験システムを提供することにある。
【課題を解決するための手段】
【0007】
本発明の一態様は、車両の座席の周辺にコンテンツを表示して座席に着座する乗員に視覚による視覚刺激を与える表示部と、乗員に温覚及び冷覚の少なくとも一方の触覚刺激を与える触覚装置と接続され、表示部及び触覚装置を制御してコンテンツに連動した視覚刺激及び触覚刺激を乗員に与える制御部と、を備えた車両用体験システムを提供する。
【発明の効果】
【0008】
本発明によれば、コンテンツへの没入感を高めることができる。
【図面の簡単な説明】
【0009】
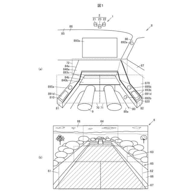
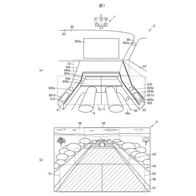
図1(a)は、実施の形態に係る車両用体験システムが搭載された車両の一例を示す図であり、図1(b)は、投影するコンテンツの一例を示す図である。
図2(a)は、実施の形態に係る車両用体験システムの投影部などの配置の一例を説明するための図であり、図2(b)は、車両用体験システムのブロック図の一例である。
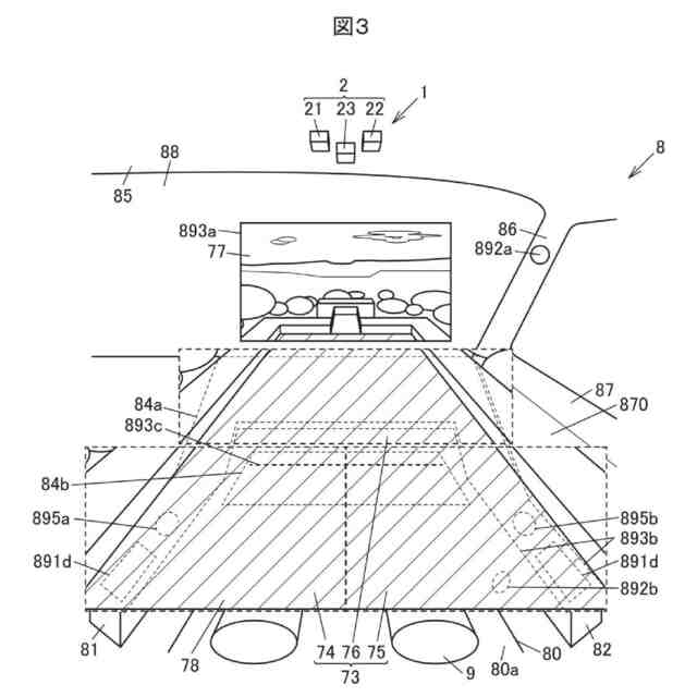
図3は、実施の形態に係る投影像の一例を示す図である。
図4は、実施の形態に係る車両用体験システムを含む車両通信システムのブロック図の一例である。
図5(a)は、実施の形態に係る車両用体験システムのタッチ操作によるコンテンツの変化の一例を示す図であり、図5(b)は、時刻に連動して変化するコンテンツの一例を示す図である。
図6は、実施の形態に係る車両用体験システムが視覚刺激、触覚刺激、聴覚刺激及び嗅覚刺激をユーザに与えるタイミングの一例を示すタイミングチャートである。
【発明を実施するための形態】
【0010】
(実施の形態の要約)
実施の形態に係る車両用体験システムは、車両の座席の周辺にコンテンツを表示して座席に着座する乗員に視覚による視覚刺激を与える表示部と、乗員に温覚及び冷覚の少なくとも一方の触覚刺激を与える触覚装置と接続され、表示部及び触覚装置を制御してコンテンツに連動した視覚刺激及び触覚刺激を乗員に与える制御部と、を備えて概略構成されている。
(【0011】以降は省略されています)
この特許をJ-PlatPat(特許庁公式サイト)で参照する
関連特許
豊田合成株式会社
積層体
10日前
豊田合成株式会社
調光装置
19日前
豊田合成株式会社
ガラスラン
1か月前
豊田合成株式会社
ガラスラン
1か月前
豊田合成株式会社
ガラスラン
1か月前
豊田合成株式会社
樹脂成形装置
1か月前
豊田合成株式会社
機器制御装置
1か月前
豊田合成株式会社
車両用外装品
1か月前
豊田合成株式会社
車両用内装品
1か月前
豊田合成株式会社
車両用外装品
6日前
豊田合成株式会社
乗員保護装置
6日前
豊田合成株式会社
検知システム
5日前
豊田合成株式会社
車両用ビーム
5日前
豊田合成株式会社
車両用ビーム
5日前
豊田合成株式会社
乗員保護装置
25日前
豊田合成株式会社
車両用内装品
1か月前
豊田合成株式会社
乗員保護装置
1か月前
豊田合成株式会社
車両用外装品
4日前
豊田合成株式会社
電動液体ポンプ
1か月前
豊田合成株式会社
エアバッグ装置
25日前
豊田合成株式会社
車両用照明装置
12日前
豊田合成株式会社
車両用投影装置
12日前
豊田合成株式会社
立体エアバッグ
1か月前
豊田合成株式会社
電動液体ポンプ
1か月前
豊田合成株式会社
電動液体ポンプ
1か月前
豊田合成株式会社
電動液体ポンプ
1か月前
豊田合成株式会社
空調用レジスタ
1か月前
豊田合成株式会社
空調用レジスタ
1か月前
豊田合成株式会社
空調用レジスタ
1か月前
豊田合成株式会社
車両用投影装置
6日前
豊田合成株式会社
電動液体ポンプ
1か月前
豊田合成株式会社
車両用空調ダクト
5日前
豊田合成株式会社
ステアリング装置
26日前
豊田合成株式会社
ステアリング装置
27日前
豊田合成株式会社
把持検知システム
27日前
豊田合成株式会社
車両の音出力装置
1か月前
続きを見る
他の特許を見る