TOP
|
特許
|
意匠
|
商標
特許ウォッチ
Twitter
他の特許を見る
公開番号
2025149362
公報種別
公開特許公報(A)
公開日
2025-10-08
出願番号
2024049958
出願日
2024-03-26
発明の名称
コンテンツ体験装置
出願人
豊田合成株式会社
代理人
弁理士法人平田国際特許事務所
主分類
G06F
3/01 20060101AFI20251001BHJP(計算;計数)
要約
【課題】ユーザの没入感を高めることができるコンテンツ体験装置を提供する。
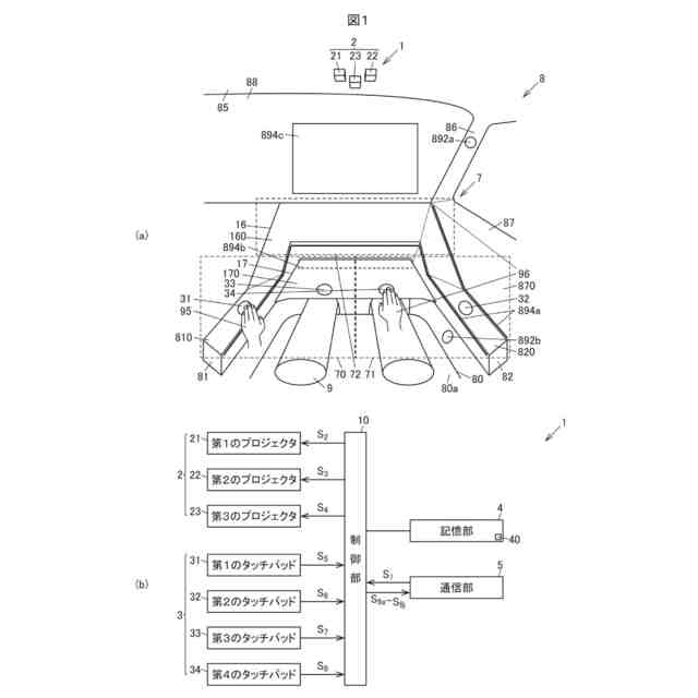
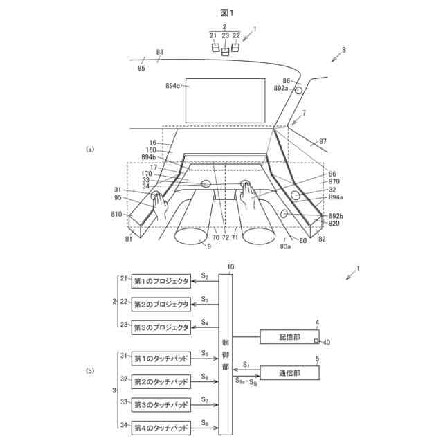
【解決手段】コンテンツ体験装置1は、一例として、図1(a)に示すように、ユーザ9が着座する座席80の左側アームレスト81及び右側アームレスト82の少なくとも一方に配置された入力部3と、ユーザ9と対向するように配置されたパネル16と、左側アームレスト81、右側アームレスト82及びパネル16を含む表示領域7にコンテンツ6を表示してユーザ9に視覚刺激11を与える表示部2と、コンテンツ6の要求するタイミングで入力部3になされた操作に基づいてそれまでとは異なる表示部2による視覚刺激11をユーザ9に与える制御部10と、を備えて概略構成されている。
【選択図】図1
特許請求の範囲
【請求項1】
ユーザが着座する座席の左側アームレスト及び右側アームレストの少なくとも一方に配置された入力部と、
前記ユーザと対向するように配置されたパネルと、
前記左側アームレスト、前記右側アームレスト及び前記パネルを含む表示領域にコンテンツを表示して前記ユーザに視覚刺激を与える表示部と、
前記コンテンツの要求するタイミングで前記入力部になされた操作に基づいてそれまでとは異なる前記表示部による前記視覚刺激を前記ユーザに与える制御部と、
を備えたコンテンツ体験装置。
続きを表示(約 1,000 文字)
【請求項2】
前記制御部は、前記ユーザに聴覚刺激を与える聴覚装置、及び触覚刺激を与える触覚装置の少なくとも1つと接続し、前記コンテンツの要求するタイミングで前記入力部になされた操作に基づいて前記視覚刺激に加えて、前記聴覚刺激及び前記触覚刺激の少なくとも1つを前記ユーザに与える、
請求項1に記載のコンテンツ体験装置。
【請求項3】
前記制御部は、さらに前記ユーザに前記視覚刺激を与える視覚装置と接続され、前記コンテンツの要求するタイミングで前記入力部になされた操作に基づいて前記表示部による前記視覚刺激に加えて、前記視覚装置による前記視覚刺激を前記ユーザに与える、
請求項2に記載のコンテンツ体験装置。
【請求項4】
前記入力部は、前記左側アームレストに配置された第1の入力部と、前記右側アームレストに配置された第2の入力部と、を有する、
請求項3に記載のコンテンツ体験装置。
【請求項5】
前記左側アームレスト及び前記右側アームレストの間であって前記パネルの下方に位置し、前記表示領域に含まれて前記コンテンツが表示されるテーブルを備え、
前記入力部は、前記操作を受け付ける少なくとも1つのテーブル入力部を前記テーブルに有する、
請求項4に記載のコンテンツ体験装置。
【請求項6】
前記表示部は、前記左側アームレスト、前記右側アームレスト、前記パネル及び前記テーブルに前記コンテンツに基づく投影像を投影する複数の投影部を有する、
請求項5に記載のコンテンツ体験装置。
【請求項7】
前記コンテンツは、前記パネルから前記左側アームレスト、前記パネルから前記右側アームレスト、及び前記パネルから前記テーブルに流れる複数の目標画像を有し、
前記制御部は、流れてきた前記目標画像と前記第1の入力部、前記第2の入力部及び前記テーブル入力部とが重なるタイミングで前記操作を受け付けた場合、それまでとは異なる前記視覚刺激、前記聴覚刺激及び前記触覚刺激の少なくとも1つを前記ユーザに与える、
請求項6に記載のコンテンツ体験装置。
【請求項8】
前記座席は、車両に搭載されている、
請求項1乃至7のいずれか1項に記載のコンテンツ体験装置。
発明の詳細な説明
【技術分野】
【0001】
本発明は、コンテンツ体験装置に関する。
続きを表示(約 1,500 文字)
【背景技術】
【0002】
従来の技術として、シート本体に座っている着座者の動作を検出するための情報を取得する複数のセンサを有するシートと、センサから情報を取得すると共に、画面を有する端末と、を備えたシート体験システムが知られている(例えば、特許文献1参照。)。
【0003】
このシート体験システムの端末は、センサから取得した情報に基づいて、画面上の操作対象の速度を変更し、端末の画面上の操作対象をシートで操作することができる。
【先行技術文献】
【特許文献】
【0004】
特開2021-092990号公報
【発明の概要】
【発明が解決しようとする課題】
【0005】
従来のシート体験システムは、没入感が高まるにつれて、ユーザが激しく体を揺らすことになるので、シート本体や車両全体が激しく揺れてしまい、かえって没入感が低下する可能性がある。
【0006】
従って本発明の目的は、コンテンツへの没入感を高めることができるコンテンツ体験装置を提供することにある。
【課題を解決するための手段】
【0007】
本発明の一態様は、ユーザが着座する座席の左側アームレスト及び右側アームレストの少なくとも一方に配置された入力部と、ユーザと対向するように配置されたパネルと、左側アームレスト、右側アームレスト及びパネルを含む表示領域にコンテンツを表示してユーザに視覚刺激を与える表示部と、コンテンツの要求するタイミングで入力部になされた操作に基づいてそれまでとは異なる表示部による視覚刺激をユーザに与える制御部と、を備えたコンテンツ体験装置を提供する。
【発明の効果】
【0008】
本発明によれば、コンテンツへの没入感を高めることができる。
【図面の簡単な説明】
【0009】
図1(a)は、実施の形態に係るコンテンツ体験装置が搭載された車両の一例を示す図であり、図1(b)は、コンテンツ体験装置のブロック図の一例である。
図2は、実施の形態に係るコンテンツ体験装置を含む車両通信システムのブロック図の一例である。
図3は、実施の形態に係るコンテンツ体験装置の投影部などの配置の一例を説明するための図である。
図4(a)は、実施の形態に係るコンテンツの一例を示す図であり、図4(b)は、正確なタイミングでタッチ操作を受け付けた際のコンテンツの一例を示す図である。
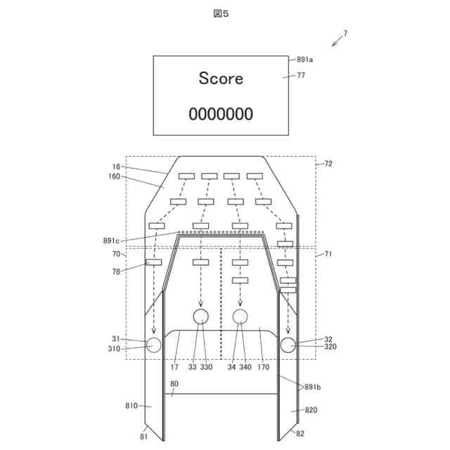
図5は、実施の形態に係る投影像及び表示画像の一例を示す図である。
図6は、正確なタイミングでタッチ操作を受け付けた際の投影像及び表示画像の一例を示す図である。
図7は、実施の形態に係るコンテンツ体験装置が視覚刺激、聴覚刺激、触覚刺激及び嗅覚刺激をユーザに与えるタイミングの一例を示すタイミングチャートである。
【発明を実施するための形態】
【0010】
(実施の形態の要約)
実施の形態に係るコンテンツ体験装置は、ユーザが着座する座席の左側アームレスト及び右側アームレストの少なくとも一方に配置された入力部と、ユーザと対向するように配置されたパネルと、左側アームレスト、右側アームレスト及びパネルを含む表示領域にコンテンツを表示してユーザに視覚刺激を与える表示部と、コンテンツの要求するタイミングで入力部になされた操作に基づいてそれまでとは異なる表示部による視覚刺激をユーザに与える制御部と、を備えて概略構成されている。
(【0011】以降は省略されています)
この特許をJ-PlatPat(特許庁公式サイト)で参照する
関連特許
豊田合成株式会社
積層体
11日前
豊田合成株式会社
調光装置
20日前
豊田合成株式会社
ガラスラン
1か月前
豊田合成株式会社
ガラスラン
1か月前
豊田合成株式会社
ガラスラン
1か月前
豊田合成株式会社
乗員保護装置
7日前
豊田合成株式会社
車両用内装品
1か月前
豊田合成株式会社
車両用外装品
1か月前
豊田合成株式会社
機器制御装置
1か月前
豊田合成株式会社
車両用外装品
7日前
豊田合成株式会社
車両用内装品
1か月前
豊田合成株式会社
乗員保護装置
1か月前
豊田合成株式会社
車両用ビーム
6日前
豊田合成株式会社
車両用外装品
5日前
豊田合成株式会社
車両用ビーム
6日前
豊田合成株式会社
乗員保護装置
26日前
豊田合成株式会社
検知システム
6日前
豊田合成株式会社
立体エアバッグ
1か月前
豊田合成株式会社
車両用投影装置
13日前
豊田合成株式会社
車両用照明装置
13日前
豊田合成株式会社
空調用レジスタ
1か月前
豊田合成株式会社
エアバッグ装置
26日前
豊田合成株式会社
空調用レジスタ
1か月前
豊田合成株式会社
電動液体ポンプ
1か月前
豊田合成株式会社
空調用レジスタ
1か月前
豊田合成株式会社
電動液体ポンプ
1か月前
豊田合成株式会社
電動液体ポンプ
1か月前
豊田合成株式会社
電動液体ポンプ
1か月前
豊田合成株式会社
電動液体ポンプ
1か月前
豊田合成株式会社
車両用投影装置
7日前
豊田合成株式会社
把持検知システム
28日前
豊田合成株式会社
ステアリング装置
28日前
豊田合成株式会社
把持検知システム
1か月前
豊田合成株式会社
ステアリング装置
27日前
豊田合成株式会社
ステアリング装置
27日前
豊田合成株式会社
ステアリング装置
26日前
続きを見る
他の特許を見る