TOP
|
特許
|
意匠
|
商標
特許ウォッチ
Twitter
他の特許を見る
公開番号
2025150238
公報種別
公開特許公報(A)
公開日
2025-10-09
出願番号
2024051022
出願日
2024-03-27
発明の名称
酒類の海中熟成方法
出願人
株式会社ゼムス
代理人
弁理士法人アローレインターナショナル
主分類
C12H
1/22 20060101AFI20251002BHJP(生化学;ビール;酒精;ぶどう酒;酢;微生物学;酵素学;突然変異または遺伝子工学)
要約
【課題】酒類の早期熟成が可能な酒類の海中熟成方法を提供する。
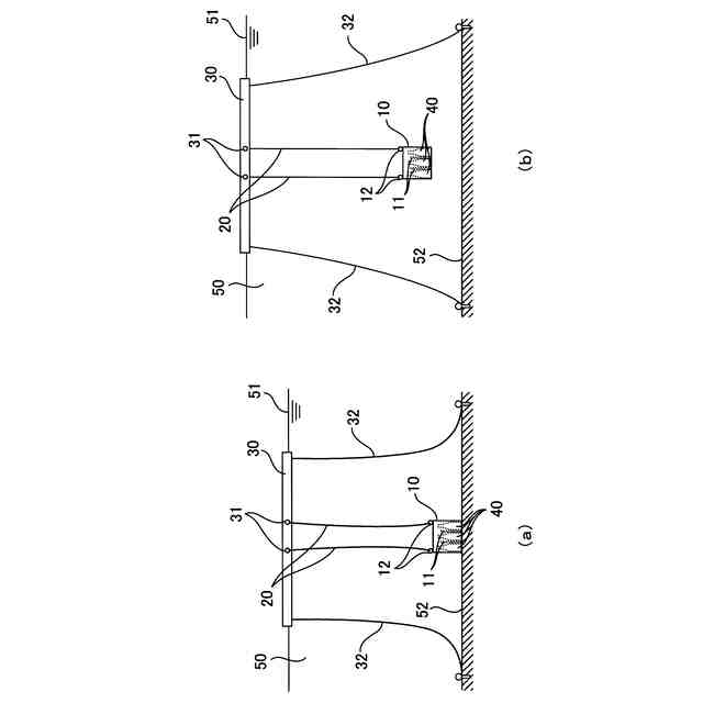
【解決手段】保持体10に保持された酒類を、海中50で熟成させる方法であって、保持体10を索体20の一端側に取り付けて海中50に沈下させ、海面51に浮かぶ支持体30により索体20の他端側を支持する支持工程を備え、干潮時に保持体10が海底52に接触した状態になり、満潮時に保持体10が海底52から離れて浮き上がるように、索体20の長さを設定する酒類の海中熟成方法である。
【選択図】図1
特許請求の範囲
【請求項1】
保持体に保持された酒類を海中で熟成させる方法であって、
前記保持体を索体の一端側に取り付けて海中に沈下させ、海面に浮かぶ支持体により前記索体の他端側を支持する支持工程を備え、
干潮時に前記保持体が海底に接触した状態になり、満潮時に前記保持体が海底から離れて浮き上がるように、前記索体の長さを設定する酒類の海中熟成方法。
続きを表示(約 100 文字)
【請求項2】
前記支持工程を漁港内で行う請求項1に記載の酒類の海中熟成方法。
【請求項3】
前記漁港内の海水の透明度が100cm未満である請求項2に記載の酒類の海中熟成方法。
発明の詳細な説明
【技術分野】
【0001】
本発明は、酒類の海中熟成方法に関する。
続きを表示(約 1,000 文字)
【背景技術】
【0002】
酒類入りの容器を海中で貯蔵することにより酒類を熟成させて、香りや口当たり、味などを向上させることが、従来から行われている。
【0003】
例えば、特許文献1には、酒類容器を収納したケースを牡蠣筏から海中に吊り下げて、酒類を熟成させる方法が開示されている。
【0004】
また、特許文献2には、泡盛酒等を収納した容器を海底に沈下させて熟成させる方法が開示されている
【先行技術文献】
【特許文献】
【0005】
特開2021-108589号公報
特開平5-153954号公報
【発明の概要】
【発明が解決しようとする課題】
【0006】
上記特許文献1の熟成方法は、酒類を海中で常時緩やかに揺らすことにより熟成が促されるものの、酒類の揺れが単調になり易いことから、熟成の早期化が不十分であった。
【0007】
上記特許文献2の熟成方法は、水温の温度変化が小さい海底において、海底から容器に伝わる音や振動などにより酒類の熟成を促すことができる。本願の発明者らが行った熟成試験の結果によると、酒類入りの容器を海中に保持する場合よりも、海底で寝かせた方が、酒類を短期間で熟成させることが可能であったが、香りや味わいが良好になる熟成をより短期間に行う上で、更に改良の余地があった。
【0008】
そこで、本発明は、酒類の早期熟成が可能な酒類の海中熟成方法の提供を目的とする。
【課題を解決するための手段】
【0009】
本発明の前記目的は、保持体に保持された酒類を海中で熟成させる方法であって、前記保持体を索体の一端側に取り付けて海中に沈下させ、海面に浮かぶ支持体により前記索体の他端側を支持する支持工程を備え、干潮時に前記保持体が海底に接触した状態になり、満潮時に前記保持体が海底から離れて浮き上がるように、前記索体の長さを設定する酒類の海中熟成方法により達成される。
【0010】
この酒類の海中熟成方法は、前記支持工程を漁港内で行うことが好ましい。 前記漁港内の海水の透明度は100cm未満であることが好ましい。
【発明の効果】
(【0011】以降は省略されています)
この特許をJ-PlatPat(特許庁公式サイト)で参照する
関連特許
株式会社ゼムス
酒類の海中熟成方法
2日前
個人
抗遺伝子劣化装置
1か月前
個人
細胞内探査とその利用
1か月前
雪国アグリ株式会社
単糖類の製造方法
3日前
株式会社タクマ
バイオマス処理装置
2か月前
株式会社タクマ
バイオマス処理装置
2か月前
テルモ株式会社
吐出デバイス
1か月前
株式会社東洋新薬
経口組成物
1か月前
宝酒造株式会社
アルコール飲料
12日前
東ソー株式会社
pH応答性マイクロキャリア
1か月前
島根県
油吸着材とその製造方法
1日前
テルモ株式会社
容器蓋デバイス
1か月前
大陽日酸株式会社
培養装置
1か月前
大陽日酸株式会社
培養装置
1か月前
トヨタ自動車株式会社
バイオ燃料製造方法
1か月前
株式会社豊田中央研究所
細胞励起装置
10日前
テルモ株式会社
採取組織細切補助デバイス
1か月前
株式会社シャローム
スフィンゴミエリン製造方法
1か月前
横河電機株式会社
藻類培養装置
22日前
株式会社今宮
瓶詰ビールの加熱殺菌方法および装置
1か月前
株式会社村田製作所
濾過装置および濾過方法
2日前
新東工業株式会社
培養システム
2日前
株式会社ショウワ
キトサンオリゴマー分画方法
12日前
住友金属鉱山株式会社
連続発酵方法及び連続発酵装置
1か月前
公立大学法人北九州市立大学
微生物の検知方法
1か月前
株式会社日本触媒
スフェロイドの輸送方法
8日前
フジッコ株式会社
エリナシンAの産生方法
3日前
積水化学工業株式会社
遺伝子導入方法
9日前
住友ベークライト株式会社
培養キット
1か月前
株式会社カネカ
予測方法及び製造方法
4日前
NTN株式会社
細胞配置の制御方法
12日前
株式会社スリーダムアライアンス
発酵飲料及び発酵飲料の製造方法
1か月前
東ソー株式会社
温度応答性マイクロキャリアを用いた拡大培養方法
1か月前
株式会社SCREENホールディングス
培地および培養方法
1か月前
セイコーエプソン株式会社
菌糸複合材料
3日前
パナソニックIPマネジメント株式会社
微生物処理装置
1か月前
続きを見る
他の特許を見る